GM Service Manual Online
For 1990-2009 cars only

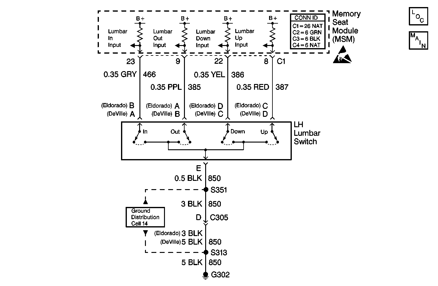
Object Number: 501162  Size: MF
Power Seat Systems Components
Memory Seats Schematics
Handling ESD Sensitive Parts Notice
Power Seat Connector End Views
Ground Distribution Schematics

Circuit Description

The memory seat module (MSM) receives an input from the left lumbar switch when the down switch is actuated. When the lumbar switch is operated in the down direction, Battery Positive Voltage (B+) is supplied to the MSM lumbar down input via CKT 386 (YEL). The MSM recognizes the input and moves the lumbar support in the down direction.

Conditions for Setting the DTC

    •  When the lumbar down switch is active for 30 seconds after motion has ceased, the switch is considered shorted and the DTC sets.
    •  If the lumbar vertical position sensor DTC B2120 is current and the lumbar down switch is active for 30 seconds, the switch is considered shorted and the DTC sets.
    • DTC B2111 sets only if DTC B1982 MSM or DTC B1983 MSM is not current.

Action Taken When the DTC Sets

    • The MSM does not move the lumbar support in the down direction.
    • The MSM continues to respond to valid inputs from the other manual switches.
    • All memory recall function commands are ignored for all directions.

Conditions for Clearing the DTC

    • The MSM sees that the lumbar down switch is no longer active.
    • Use the on-boards clearing DTCs feature.
    • Use a scan tool.

Test Description

The numbers below refer to the step numbers on the diagnostic table:

  1. Perform the entire Power Seat Systems Diagnostic System Check before continuing with the diagnosis of this DTC.

  2. This step determines if a switch is stuck or if a short to battery positive voltage (B+) exists in the wiring input to the memory seat module (MSM). DTC B2111 will set again if a short in the wiring exists or if an internal MSM problem exists. DTC B2111 will not set again if a switch is stuck because the switch has been disconnected from the memory seat module (MSM) input.

  3. This step determines if a short to battery positive voltage (B+) exists in the input wiring to the MSM.

  4. Clear all DTCs after the repair procedure is complete.

Step

Action

Value(s)

Yes

No

1

Was the entire Power Seat Systems Diagnostic System Check performed?

--

Go to Step 2

Go to Diagnostic System Check - Power Seat Systems

2

  1. Turn the ignition switch to the ON position.
  2. Connect a scan tool to the data link connector (DLC).
  3. Disconnect the LH lumbar switch connector.
  4. Using the scan tool, clear all DTCs. Refer to Diagnostic Trouble Code (DTC) Clearing .

After 30 seconds, does DTC B2111 reset?

--

Go to Step 3

Go to Step 5

3

  1. Disconnect the memory seat module (MSM) connector C1.
  2. Connect a J 39200 digital multimeter (DMM) from the MSM connector C1 cavity 22 (YEL) to ground.

Is the voltage within the specified range?

10-15 V

Go to Step 6

Go to Step 4

4

Replace the memory seat module (MSM). Refer to Memory Seat Control Module Replacement .

Is the MSM replacement complete?

--

Go to Step 7

--

5

Replace the LH lumbar switch.

Is the lumbar switch replacement complete?

--

Go to Step 7

--

6

Repair the short to battery positive voltage (B+) in CKT 386 (YEL). Refer to Wiring Repairs in Wiring Systems.

Is the circuit repair complete?

--

Go to Step 7

--

7

  1. Turn the ignition switch to the OFF position.
  2. Reconnect or install any connectors or components that were disconnected or removed.
  3. Turn the ignition switch to the ON position.
  4. Clear any DTCs. Refer to Diagnostic Trouble Code (DTC) Clearing .

Is the action complete?

--

Go to Diagnostic System Check - Power Seat Systems

--