GM Service Manual Online
For 1990-2009 cars only

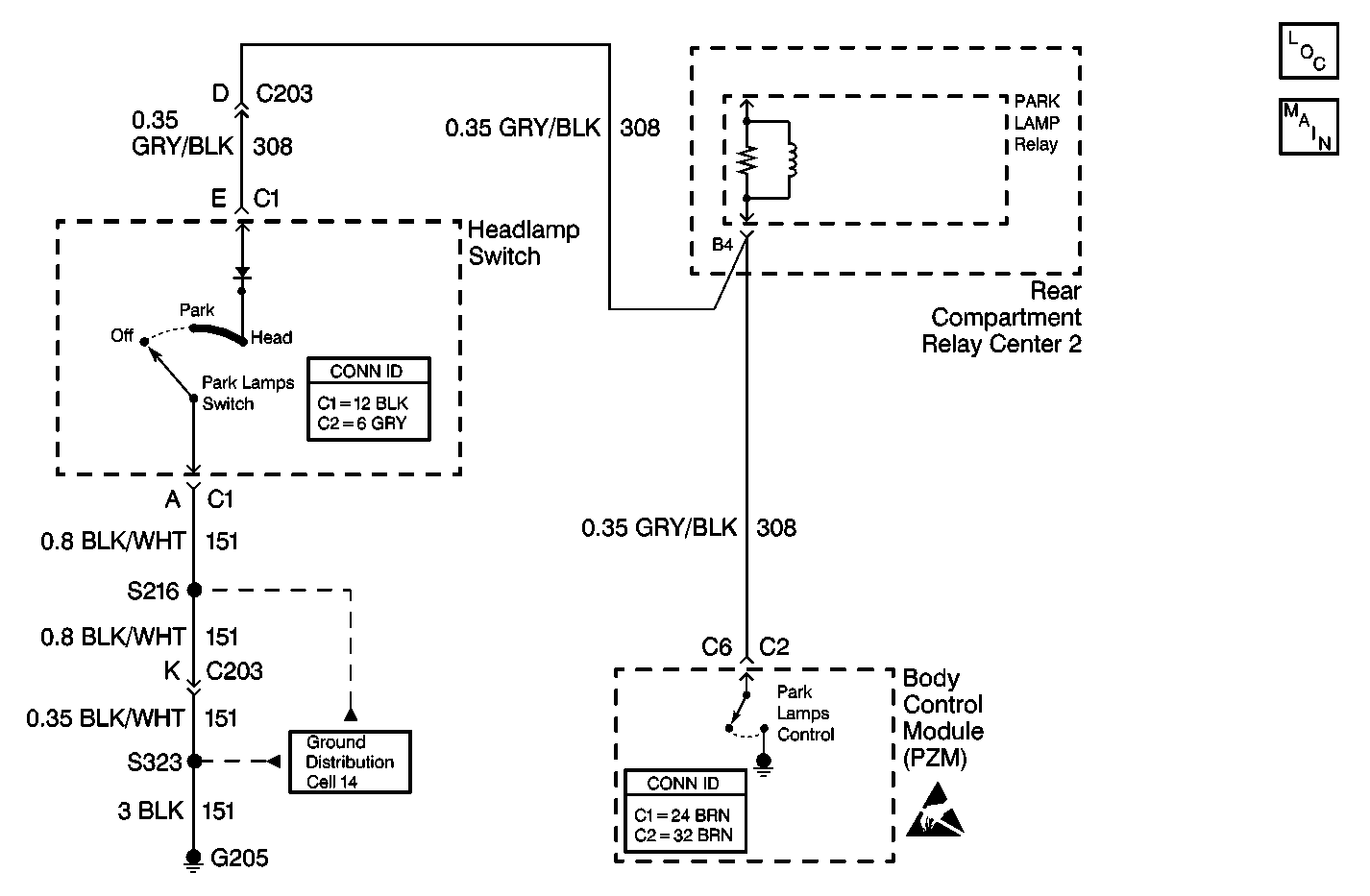
Object Number: 502395  Size: MF
Body Control Module Components
Cell 51: Body Control Module (PZM) Power and Ground (2 of 2)
Handling ESD Sensitive Parts Notice
Ground Distribution Schematics
Lighting Systems Connector End Views
Body Control System Connector End Views

Circuit Description

The body control module (PZM) may command the park lamps through a discrete output to the park lamp relay. Grounding this output also grounds the park lamps input to the instrument cluster.

Conditions for Setting the DTC

A short to ground is tested for under the following conditions:

    • The exterior lamp power is inactive.
    • The parklamp output is active.
    • The headlamp switch is not active.
    • DTC B1970 is not current.

A short to battery is tested for under the following conditions:

    • The exterior lamp power is active.
    • The parklamp output is active.
    • DTC B1970 is not current.

Action Taken When the DTC Sets

The PZM continues to command the state requested until the state is achieved or the request changes.

Conditions for Clearing the DTC

The feedback state matches the commanded state.

Step

Action

Value(s)

Yes

No

1

Was the Body Control Module Diagnostic System Check performed?

--

Go to Step 2

Go to Diagnostic System Check - Body Control System

2

  1. Connect the scan tool.
  2. Turn the ignition switch to the ON position.
  3. Turn the headlamp switch to the OFF position.
  4. Use a scan tool in order to switch the park lamps ON then OFF.

Are the park lamps OFF?

--

Go to Step 3

Go to Step 4

3

Turn the headlamp switch ON.

Are the park lamps on?

--

Go to Step 5

Go to Step 6

4

  1. Disconnect connector C203.
  2. Use the scan tool in order to command the park lamps OFF.

Are the park lamps OFF?

--

Go to Step 7

Go to Step 8

5

Cycle the ignition.

Is DTC B2476 now history?

--

Go to Step 12

Go to Step 11

6

Test for an open in CKT 308 (GRY/BLK).

Was an open found?

--

Go to Step 16

Go to Step 15

7

  1. Disconnect the headlamp switch.
  2. Measure the resistance from the headlamp switch connector C1 terminal E to ground.

Is the resistance within the specified value?

0-5 ohms

Go to Step 9

Go to Step 10

8

Test for a short to ground in CKT 308 (GRY/BLK).

Was a short found?

--

Go to Step 16

Go to Step 14

9

Repair the short to ground in CKT 308 (GRY/BLK).

Is the repair complete?

--

Go to Diagnostic System Check - Body Control System

--

10

Replace the headlamp switch. Refer to Headlamp Switch Replacement in Lighting Systems.

Is the repair complete?

--

Go to Diagnostic System Check - Body Control System

--

11

Test for an open in CKT 308 (GRY/BLK).

Was an open found?

--

Go to Step 16

Go to Step 14

12

Repair the intermittent short to battery positive voltage in CKT 308 (GRY/BLK).

Is the repair complete?

--

Go to Diagnostic System Check - Body Control System

--

13

Replace the park lamp relay.

Is the repair complete?

--

Go to Diagnostic System Check - Body Control System

--

14

Replace the PZM. Refer to Body Control Module Replacement .

Is the repair complete?

--

Go to Diagnostic System Check - Body Control System

--

15

Test for an open in CKT 352 (WHT).

Was an open found?

--

Go to Step 17

Go to Step 13

16

Repair the short or the open in CKT 308 (GRY/BLK).

Is the repair complete?

--

Go to Diagnostic System Check - Body Control System

--

17

Repair the open or the short to ground in CKT 352 (WHT).

Is the repair complete?

--

Go to Diagnostic System Check - Body Control System

--