GM Service Manual Online
For 1990-2009 cars only

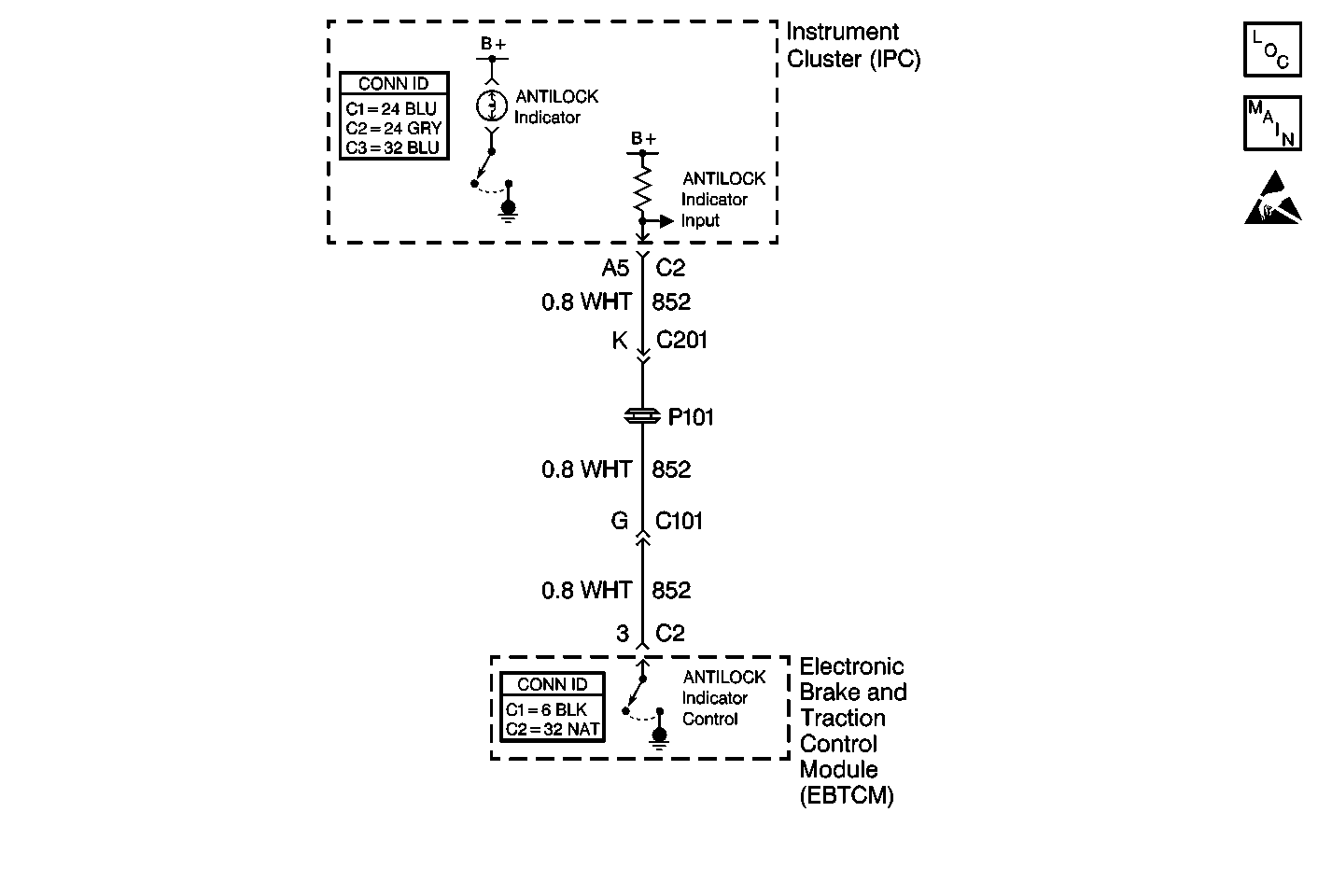
Object Number: 413303  Size: MF
ABS Components
Cell 44: Power, Ground, and ANTILOCK Indicator
Handling ESD Sensitive Parts Notice

Circuit Description

The instrument cluster controls the operation of the ANTILOCK indicator. The EBTCM reports the desired status of the ANTILOCK indicator via serial data class 2 messages. The hard wired circuit is a back-up reporting circuit. The EBTCM supplies ground through the circuit when the ABS is operating properly. Using the serial data messages and back-up circuit, the instrument cluster decides whether to turn on the ANTILOCK indicator.

Conditions for Setting the DTC

All of the following conditions occur:

    • The EBTCM commands the ANTILOCK indicator ON.
    • The EBTCM detects one of the following conditions in the ANTILOCK indicator control circuit:
       - An open
       - A short to ground
       - A short to voltage

Actions Taken When the DTC Sets

    • A malfunction DTC is stored.
    • The ABS remains functional.
    • For a short, the ABS indicator remains OFF.
    • For an open, the ABS indicator is turned ON.

Conditions for Clearing the DTC

    • The condition for DTC is no longer present and you used scan tool Clear DTCs function.
    • The condition for DTC is no longer present and you used the On-Board Clear DTCs function.
    • The EBTCM does not detect the DTC in 50 drive cycles.

Diagnostic Aids

    • Perform a thorough inspection of the wiring and the connectors. Failure to carefully and fully inspect wiring and connectors may result in misdiagnosis, causing part replacement with reappearance of the malfunction.
    • An intermittent malfunction may be caused by poor connections, broken insulation, or a wire that is broken inside the insulation.
    • If an intermittent malfunction exists, refer to Intermittents and Poor Connections .

Test Description

The numbers below refer to step numbers on the diagnostic table.

  1. Checks if the IPC has the ability to operate the ABS indicator lamp.

  2. Checks for a short to ground in CKT 852.

  3. Checks for a short to voltage in CKT 852.

  4. Checks for an open in CKT 852.

DTC C1211 ABS Indicator Lamp Circuit Malfunction

Step

Action

Value(s)

Yes

No

1

Was the Diagnostic System Check performed?

--

Go to Step 2

Go to Diagnostic System Check

2

  1. Turn the ignition switch to the RUN position, leaving the engine OFF.
  2. Use a scan tool in order to read any ABS/TCS/ICCS DTCs.

Are DTC U1300 or DTC U1301 present?

--

Go to DTC U1300 Class 2 Short to Ground or DTC U1301 Class 2 Short to Battery in Wiring Systems

Go to Step 3

3

Cycle the ignition switch from the OFF position to the RUN position.

Did the ABS indicator lamp turn ON and then turn OFF?

--

Go to Step 4

Go to Step 11

4

  1. Turn the ignition switch to the OFF position.
  2. Disconnect the EBTCM.
  3. Use the J 39700-25 cable adapter in order to connect a J 39700 universal pinout box to the EBTCM harness connector only.
  4. Disconnect the IPC connector.
  5. Use a J 39200 digital multimeter (DMM) in order to measure the resistance between the J 39700 terminal 3 and terminal B.

Is the resistance equal to the specified value?

OL (infinite)

Go to Step 6

Go to Step 5

5

Repair a short to ground in CKT 852. Refer to Wiring Repairs in Wiring Systems.

Did you complete the repair?

--

Go to Diagnostic System Check

--

6

  1. Turn the ignition switch to the RUN position , leaving the engine OFF.
  2. Use the DMM in order to measure the voltage between terminal 3 and terminal B of the J 39700 .

Is the voltage greater than the specified value?

1 V

Go to Step 8

Go to Step 7

7

  1. Turn the ignition switch to the OFF position.
  2. Connect a fused jumper between the IPC harness pin C1 connector C3 and ground.
  3. Use the DMM in order to measure the resistance between the J 39700 terminal 3 and terminal B.

Is the resistance less than the specified value?

5 ohms

Go to Step 10

Go to Step 9

8

Repair a short to voltage in CKT 852. Refer to Wiring Repairs in Wiring Systems.

Did you complete the repair?

--

Go to Diagnostic System Check

--

9

Repair an open in CKT 852. Refer to Wiring Repairs in Wiring Systems.

Did you complete the repair?

--

Go to Diagnostic System Check

--

10

Replace the electronic brake traction control module (EBTCM). Refer to Electronic Brake Control Module Replacement .

Did you complete the repair?

--

Go to Diagnostic System Check

--

11

Inspect the instrument panel cluster. Refer to Diagnostic System Check - Instrument Cluster in Instrument Panel, Console, and Gauges.

Did you complete the repair?

--

Go to Diagnostic System Check

--