GM Service Manual Online
For 1990-2009 cars only

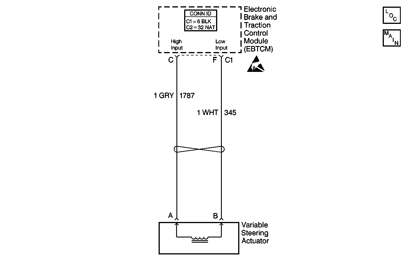
Object Number: 413331  Size: MF
ABS Components
Cell 44: Wheel Speed Sensors and Variable Steering Actuator
Handling ESD Sensitive Parts Notice

Circuit Description

The speed dependent steering system (MagnaSteer®), incorporates the controller into the EBTCM. If one or both of the MagnaSteer® actaator circuit wires should become open or shorted, a DTC C1241 will set.

Action Taken When the DTC Sets

    • The EBTCM stores a malfunction DTC.
    • The EBTCM disables the variable effort steering.
    • The DIC displays the SERVICE STEERING SYS message.

Diagnostic Aids

For diagnosis of DTC C1241, refer to DTC C1241 Magnasteer Malfunction in Variable Effort Steering.