GM Service Manual Online
For 1990-2009 cars only
Makes
🢒
Cadillac
🢒
1999
🢒
DeVille
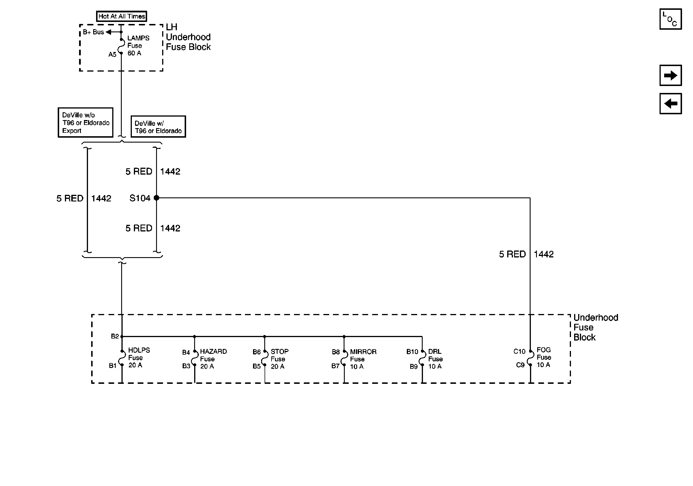
🢒 Cell 10: LAMPS Fuse
Cell 10: LAMPS Fuse
Cell 10: LAMPS Fuse
Power and Grounding Components
Cell 10: LH Underhood Fuse Block IGN 1 Fuse
Cell 10: INADVERT Fuse
Cell 10: Battery Power to Fuse Blocks