GM Service Manual Online
For 1990-2009 cars only
Makes
🢒
Cadillac
🢒
1999
🢒
DeVille
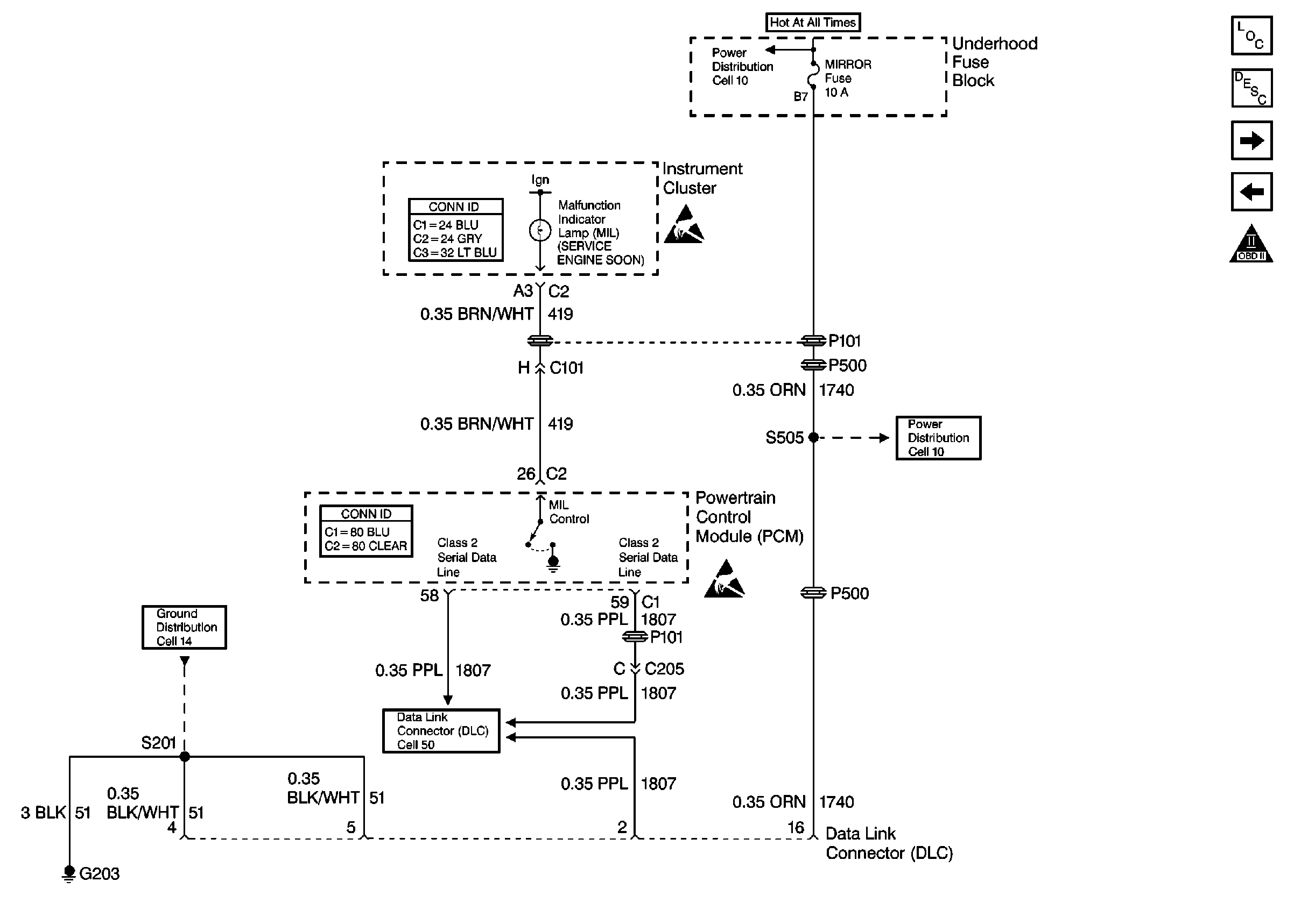
🢒 Cell 20: MIL Control and DLC
Cell 20: MIL Control and DLC
Cell 20: MIL Control and DLC
Engine Controls Components
Powertrain Control Module Description
Cell 20: Ignition Control (IC) Module
Cell 20: PCM Power and Grounds
OBD II Symbol Description Notice
Power Distribution Schematics
Power Distribution Schematics
Ground Distribution Schematics
Data Link Connector Schematics
Powertrain Control Module Connector End Views
Handling ESD Sensitive Parts Notice
Handling ESD Sensitive Parts Notice