GM Service Manual Online
For 1990-2009 cars only

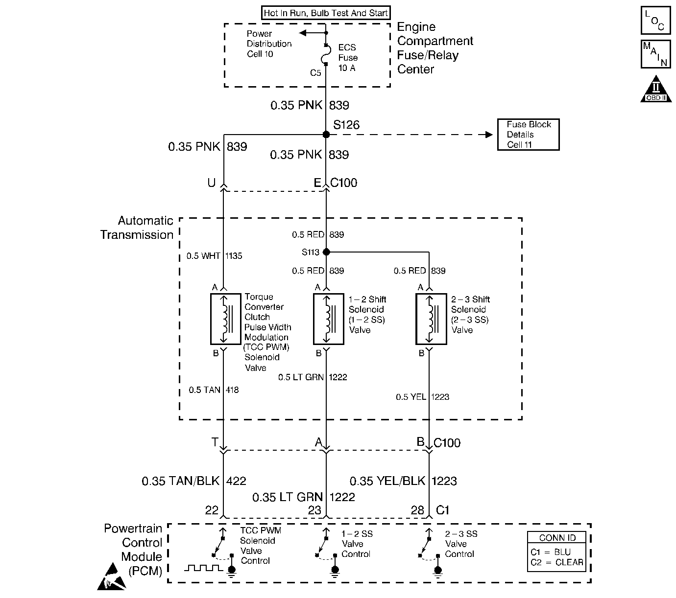
Object Number: 347387  Size: LF
Automatic Transmission Components
Automatic Transmission Controls Schematics
OBD II Symbol Description Notice
Handling ESD Sensitive Parts Notice

Circuit Description

The 2-3 shift solenoid (2-3 SS) valve controls the transmission fluid pressure acting on the 1-2 and 2-3 shift valves to position the valves for the appropriate gear. The 2-3 SS valve is a normally-open exhaust valve located on the lower control valve body. Ignition voltage is supplied to the solenoid on circuit 839. The output driver module (ODM), within the PCM, commands the solenoid ON or OFF by providing a ground path through circuit 1223. When the 2-3 SS valve is commanded ON, the PCM senses low voltage. When the 2-3 SS valve is commanded OFF, the PCM senses high voltage.

If the PCM detects voltage limits that do not meet the calibration, then DTC P0758 sets. DTC P0758 is a Type A DTC.

Conditions for Running the DTC

    • No ODM DTC P1650.
    • The engine run time is greater than 5 seconds.

Conditions for Setting the DTC

The PCM detects an open, a short to ground, or a short to power on the 2-3 shift solenoid valve circuits within 5 seconds.

Action Taken When the DTC Sets

    • The PCM illuminates the malfunction indicator lamp (MIL).
    • SERVICE ENGINE SOON, SERVICE TRANSMISSION displays on the driver information center (DIC).
    • The PCM commands 2nd gear.
    • The PCM commands default line pressure.
    • The PCM inhibits TCC engagement.
    • The PCM freezes steady state adapts.
    • The PCM freezes garage shift adapts.
    • The PCM stores DTC P0758 in PCM history.

Conditions for Clearing the MIL/DTC

    • The PCM turns OFF the MIL during the third consecutive trip in which the diagnostic test runs and passes.
    • A scan tool clears the DTC from PCM history.
    • The PCM clears the DTC from PCM history if the vehicle completes 40 warm-up cycles without an emission-related diagnostic fault occurring.
    • The PCM cancels the DTC default actions when the fault no longer exists and the ignition switch is OFF long enough in order to power down the PCM.

Diagnostic Aids

    • Inspect the wiring at the PCM, the transmission 20-way connector, the 2-3 shift solenoid valve 2-way connector, and all other circuit connecting points for the following conditions:
       - A backed out terminal
       - A damaged terminal
       - Reduced terminal tension
       - A chafed wire
       - A broken wire inside the insulation
       - Moisture intrusion
    • When diagnosing for an intermittent short or open, massage the wiring harness while watching the test equipment for a change.
    • Refer to Shift Solenoid Valve State and Gear Ratio table.

Test Description

The numbers below refer to the step numbers on the diagnostic table.

  1. This step verifies that the 2-3 SS valve is operating and that an intermittent condition may have set the DTC.

  2. This step isolates circuit 1223 of the engine wiring harness for an open or a short to power.

  3. This step isolates circuit 1223 for a short to power.

  4. This step measures for a short to ground in circuit 1223.

DTC P0758 2-3 Shift Solenoid Circuit Electrical

Step

Action

Value(s)

Yes

No

1

Was the Powertrain On-Board Diagnostic (OBD) System Check performed?

--

Go to Step 2

Go to Powertrain On Board Diagnostic (OBD) System Check

2

  1. Install the Scan Tool .
  2. Turn the ignition switch to the RUN position.
  3. Important: Before clearing the DTCs, use the scan tool in order to record the Freeze Frame and Failure Records. Using the Clear Info function erases the Freeze Frame and Failure Records from the PCM.

  4. Record the Freeze Frame and Failure Records.
  5. Clear the DTCs.

Is DTC P0758 or P1860 set?

--

Go to Step 3

Go to Step 7

3

  1. Remove the ECS fuse.
  2. Inspect the fuse for an open.

Refer to Wiring Repairs in Wiring Systems.

Was the condition found?

--

Go to Step 4

Go to Step 6

4

Important: The condition that affects this circuit may exist in other connecting branches of the circuit. Refer to Power Distribution Schematics in Wiring Systems, for complete circuit distribution.

Inspect circuit 839 of the engine wiring harness, for a short to ground.

Refer to General Electrical Diagnosis in Wiring Systems.

Was the condition found?

--

Go to Step 19

Go to Step 5

5

  1. Inspect circuit 839 of the automatic transmission wiring harness for a short to ground.
  2. Inspect circuit 1135 of the automatic transmission wiring harness for a short to ground.

Refer to General Electrical Diagnosis in Wiring Systems.

Was a condition found?

--

Go to Step 20

--

6

Important: The condition that affects this circuit may exist in other connecting branches of the circuit. Refer to Power Distribution Schematics in Wiring Systems, for complete circuit distribution.

Inspect circuit 839 of the engine wiring harness for an open.

Refer to General Electrical Diagnosis in Wiring Systems.

Was the condition found?

--

Go to Step 19

--

7

Using the scan tool, cycle the 1-2 shift solenoid ON and OFF three times.

Listen at the transmission side cover. Does the 1-2 shift solenoid valve click when commanded ON?

--

Go to Diagnostic Aids

Go to Step 8

8

  1. Turn the ignition switch OFF.
  2. Disconnect the transmission 20-way connector.
  3. Install the J 39775 jumper harness to the engine side of the 20-way connector.
  4. Using the J 35616-A connector test adapter kit, connect a test lamp from terminal E to terminal B.
  5. Turn the ignition switch to the RUN position.

Is the test lamp ON?

--

Go to Step 9

Go to Step 10

9

Inspect circuit 1223 of the engine wiring harness for a short to ground.

Refer to General Electrical Diagnosis in Wiring Systems.

Was the condition found?

--

Go to Step 19

Go to Step 22

10

Cycle the 2-3 shift solenoid ON and OFF three times.

Does the test lamp cycle ON and OFF as commanded?

--

Go to Step 14

Go to Step 11

11

Is the test lamp always OFF?

--

Go to Step 13

Go to Step 12

12

Inspect circuit 1223 of the engine wiring harness for an open.

Refer to General Electrical Diagnosis in Wiring Systems.

Was the condition found?

--

Go to Step 19

Go to Step 22

13

Inspect circuit 1223 of the engine wiring harness for a short to power.

Refer to General Electrical Diagnosis in Wiring Systems.

Was the condition found?

--

Go to Step 19

Go to Step 22

14

  1. Turn the ignition switch OFF.
  2. Disconnect the J 39775 from the engine side of the 20-way connector.
  3. Connect the J 39775 to the transmission side of the 20-way connector.
  4. Using the J 35616-A , connect the J 39200 digital multimeter (DMM) from terminal E to terminal B and measure the resistance.

Is the resistance value within the specified range?

20-40 ohms

Go to Step 17

Go to Step 15

15

Is the resistance greater than the specified value?

40 ohms

Go to Step 16

Go to Step 17

16

  1. Inspect circuit 839 of the automatic transmission wiring harness for an open.
  2. Inspect circuit 1223 of the automatic transmission wiring harness for an open.

Refer to General Electrical Diagnosis in Wiring Systems.

Was a condition found?

--

Go to Step 20

Go to Step 21

17

Measure the resistance from terminal B to the transmission case.

Is the resistance less than the specified value?

100 ohms

Go to Step 18

Go to Diagnostic Aids

18

Inspect circuit 1223 of the automatic transmission wiring harness for a short to ground.

Refer to General Electrical Diagnosis in Wiring Systems.

Was the condition found?

--

Go to Step 20

Go to Step 21

19

Repair the wiring as necessary.

Refer to Wiring Repairs in Wiring Systems.

Is the repair complete?

--

Go to Step 23

--

20

Replace the automatic transmission wiring harness.

Refer to Unit Repair.

Is the replacement complete?

--

Go to Step 23

--

21

Replace the 2-3 shift solenoid valve.

Refer to Solenoid B Replacement.

Is the replacement complete?

--

Go to Step 23

--

22

Replace the PCM.

Refer to Powertrain Control Module Replacement/Programming in Engine Controls.

Is the replacement complete?

--

Go to Step 23

--

23

Perform the following procedure in order to verify the repair:

  1. Select DTC.
  2. Select Clear Info.
  3. Operate the vehicle under the following conditions:
  4. 3.1. Start the engine.
    3.2. Drive the vehicle and achieve 4th gear.
  5. Select Specific DTC. Enter DTC P0758.

Has the test run and passed?

--

System OK

Go to Step 1