GM Service Manual Online
For 1990-2009 cars only
Figure 1:

PCM Power and Ground


Object Number: 520701  Size: FS
Automatic Transmission Components
Electronic Component Description
Automatic Transaxle - Solenoids, ABS/TCC Switch
OBD II Symbol Description Notice
Handling ESD Sensitive Parts Notice
Ignition Switch
Rear Fuse Block Battery Voltage
RR BLO, RRDR MDL, HVAC BLO, STOP LP, IGN SW, and TSIG/HAZ Fuses
RR BLO, RRDR MDL, HVAC BLO, STOP LP, IGN SW, and TSIG/HAZ Fuses
Power and Grounding Connector End Views Fuse Blocks and Ignition Switch
Ignition Switch
Starting and Charging Schematics
Underhood Fuse Block Battery Voltage
START Circuit Breaker, PCM IGN and IGN1 Fuses
Power and Grounding Connector End Views Fuse Blocks and Ignition Switch
Powertrain Control Module Connector End Views
G100
Figure 2:

Automatic Transaxle -- Solenoids, ABS/TCC Switch


Object Number: 520713  Size: FS
Automatic Transmission Components
Electronic Component Description
Automatic Transaxle - Sensors
PCM Power and Ground
OBD II Symbol Description Notice
Handling ESD Sensitive Parts Notice
Powertrain Control Module Connector End Views
Cruise Control Schematics
SIR, VENT SOL, and IGN 1 Fuses
SIR, VENT SOL, and IGN 1 Fuses
Power and Grounding Connector End Views Fuse Blocks and Ignition Switch
OXY SEN, CR CONT, MDL COIL, TRANS Fuses
Power and Grounding Connector End Views Fuse Blocks and Ignition Switch
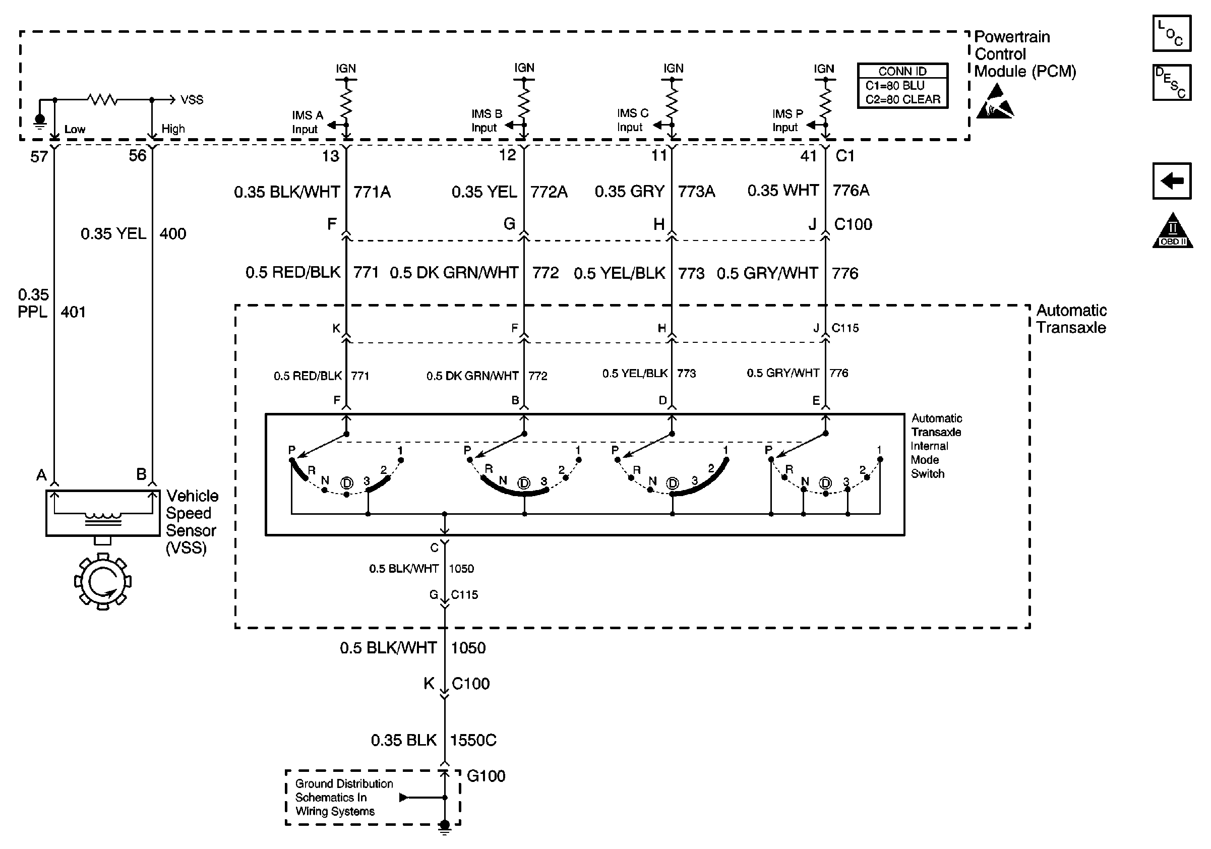
Figure 3:

Automatic Transaxle -- Sensors


Object Number: 520714  Size: FS
Automatic Transmission Components
Electronic Component Description
Automatic Transaxle - IMS Switch and VSS
Automatic Transaxle - Solenoids, ABS/TCC Switch
OBD II Symbol Description Notice
Handling ESD Sensitive Parts Notice
Handling ESD Sensitive Parts Notice
Powertrain Control Module Connector End Views
Figure 4:

Automatic Transaxle -- IMS Switch and VSS


Object Number: 520720  Size: FS
Automatic Transmission Components
Electronic Component Description
Automatic Transaxle - Sensors
OBD II Symbol Description Notice
Powertrain Control Module Connector End Views
Handling ESD Sensitive Parts Notice
G100