GM Service Manual Online
For 1990-2009 cars only
Makes
🢒
Cadillac
🢒
2000
🢒
DeVille
🢒
Steering
🢒
Steering Wheel and Column - Tilt
🢒 Column/Ignition Lock Schematics
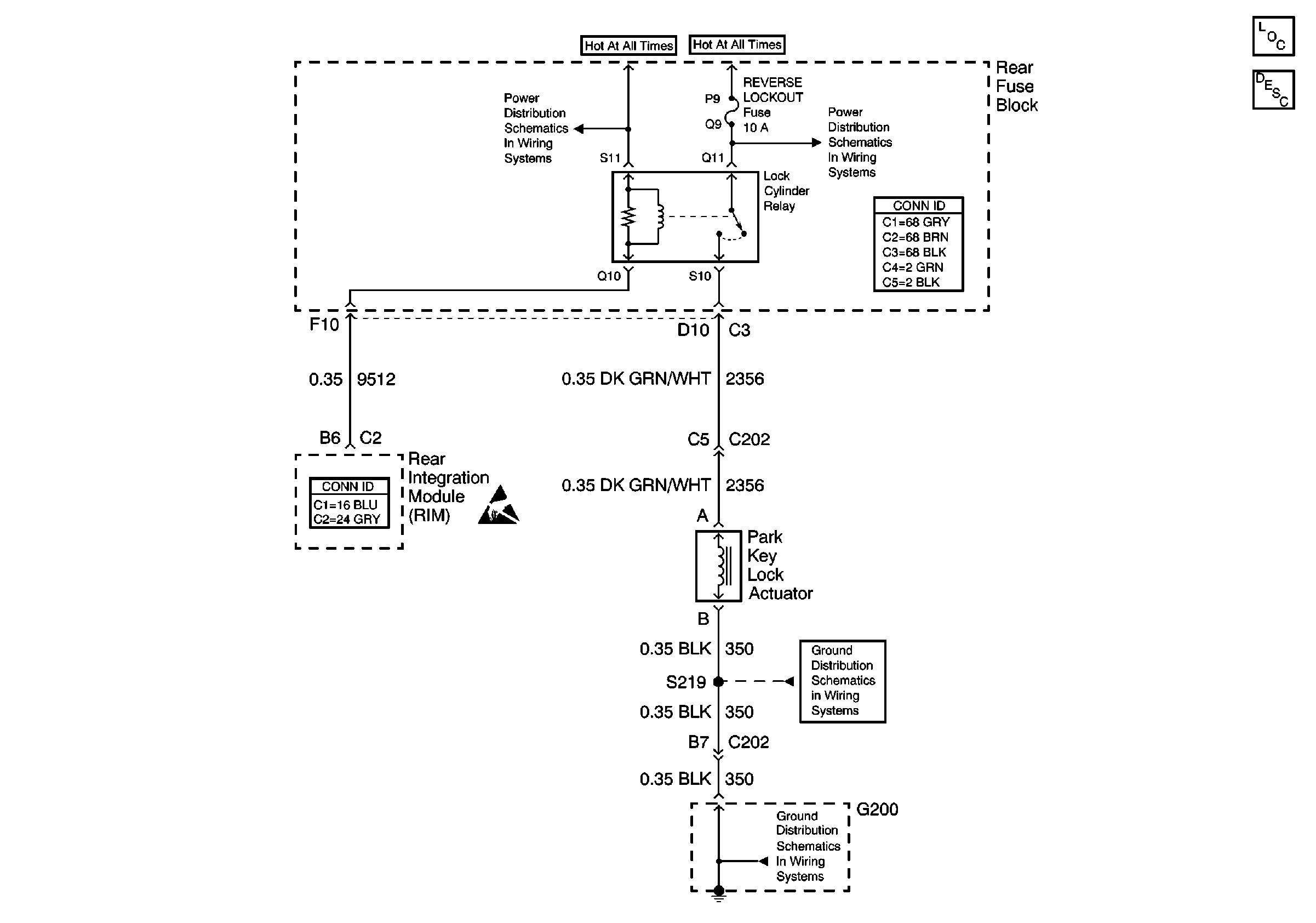
Electronic Park Lock (console only)
Tilt Wheel/Column Components
Tilt/Telescoping Steering Column Circuit Description
Rear Fuse Block Battery Voltage
F/PMP and REV/LK Fuses
Handling ESD Sensitive Parts Notice
G200
G200