GM Service Manual Online
For 1990-2009 cars only

Removal Procedure

Caution: When you are performing service on or near the SIR components or the SIR wiring, you must disable the SIR system. Refer to Disabling the SIR System. Failure to follow the correct procedure could cause air bag deployment, personal injury, or unnecessary SIR system repairs.


    Object Number: 493834  Size: SH
  1. Remove the knee bolster. Refer to Passenger Knee Bolster Replacement .
  2. Open the Instrument Panel (IP) compartment door.
  3. Remove the CD changer, if equipped, from the IP compartment. Refer to Remote CD Changer Replacement in Entertainment.
  4. Remove the 2 fasteners (2) in the top of the IP storage compartment if vehicle is not equipped with a CD changer.

  5. Remove the IP compartment lamp. Refer to Instrument Panel Storage Compartment Lamp Replacement in Lighting Systems.
  6. Remove the six remaining fasteners (1) retaining the IP storage compartment to the IP assembly.
  7. Partially remove the IP storage compartment from the IP assembly.
  8. Disconnect the electrical connectors.
  9. Guide the IP storage compartment lamp lens/connector out of the opening in the IP storage compartment.
  10. Remove the IP storage compartment.

  11. Object Number: 751039  Size: SH
  12. Remove the IP storage compartment door compensator (1) from the alignment pin.

  13. Object Number: 751040  Size: SH
  14. Remove the fasteners (1) from the IP storage compartment door trim panel (2).
  15. Remove the IP storage compartment door trim plate (2).

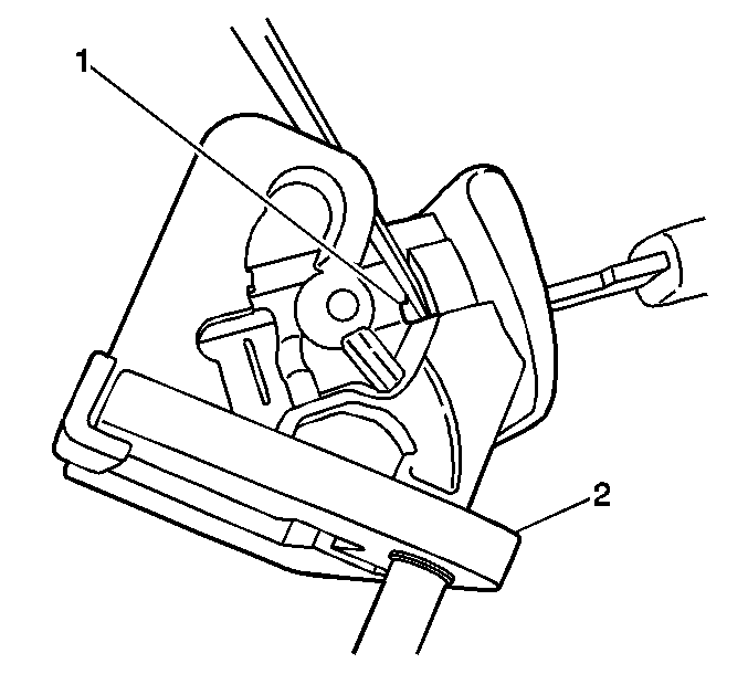
  16. Object Number: 751038  Size: SH
  17. Remove the fasteners (1) securing the IP storage compartment door handle (2) to the IP storage compartment door.

  18. Object Number: 751037  Size: SH
  19. Disengage the actuator cable (1) from IP storage compartment latch.

  20. Object Number: 751035  Size: SH
  21. Remove the lock cylinder from the IP storage compartment latch handle:
  22. 15.1. Insert the key into the door handle lock cylinder.
    15.2. Turn the key 1/4 turn clockwise (LOCK position).
    15.3. Insert a small diameter tool into the small rectangular opening on the RH side of the door handle.
    15.4. Depress and hold the lock cylinder retainer.
    15.5. Turn the key an additional 1/4 turn clockwise.
    15.6. Remove the key and lock cylinder as an assembly.

Installation Procedure


    Object Number: 751034  Size: SH
  1. Insert the key into the lock cylinder assembly (2).
  2. Insert the lock cylinder into the IP storage compartment door handle (1).
  3. Align the lock cylinder to the same position used during removal.

  4. Push on the lock cylinder (2) in order to fully seat the lock cylinder to the IP storage compartment latch handle (1).
  5. Turn the key 1/4 turn counterclockwise in order to secure the lock cylinder (2) to the IP storage compartment handle (1).
  6. Turn the key an additional 1/4 turn counterclockwise and remove the key from the lock cylinder.
  7. Important: The lock cylinder should only allow a 1/4 turn and should be securely retained in the door handle.

  8. Inspect the lock cylinder and IP storage compartment latch handle for proper operation.

  9. Object Number: 751037  Size: SH
  10. Engage the handle/latch actuator cable (1) to the IP storage compartment latch.

  11. Object Number: 751038  Size: SH
  12. Install the IP storage compartment door handle (2) to the IP storage compartment door.
  13. Notice: Use the correct fastener in the correct location. Replacement fasteners must be the correct part number for that application. Fasteners requiring replacement or fasteners requiring the use of thread locking compound or sealant are identified in the service procedure. Do not use paints, lubricants, or corrosion inhibitors on fasteners or fastener joint surfaces unless specified. These coatings affect fastener torque and joint clamping force and may damage the fastener. Use the correct tightening sequence and specifications when installing fasteners in order to avoid damage to parts and systems.

  14. Install the IP storage compartment latch fasteners (1)
  15. Tighten
    Tighten the fasteners (1) fully driven, seated, but not stripped.


    Object Number: 751040  Size: SH
  16. Install the IP storage compartment door trim panel (2).
  17. Install the fasteners (1) to the IP storage compartment door trim plate (2).
  18. Tighten
    Tighten the fasteners (1) fully driven, seated, but not stripped.


    Object Number: 751039  Size: SH
  19. Install the IP storage compartment door compensator (1) to the IP storage compartment alignment pin.

  20. Object Number: 493834  Size: SH
  21. Partially install the IP storage compartment to the IP retainer.
  22. Connect the electrical connections and guide the storage compartment lamp lens/connector through the opening in the IP storage compartment.
  23. Install the IP storage compartment into the IP opening.
  24. Install the fasteners (1, 2).
  25. If vehicle is equipped with a CD changer, do not install the 2 upper fasteners (2) at this time.

    Tighten
    Tighten fasteners to 2 N·m (18 lb in).

  26. Install the IP compartment lamp. Refer to Instrument Panel Storage Compartment Lamp Replacement in Lighting Systems.
  27. Install the CD changer, if equipped. Refer to Remote CD Changer Replacement in Entertainment.
  28. Install the knee bolster. Refer to Passenger Knee Bolster Replacement .