GM Service Manual Online
For 1990-2009 cars only

Front Floor Console Compartment Door Hinge Replacement DTS

Removal Procedure

  1. Remove the rear HVAC control from the center console. Refer to Control Assembly Replacement - Rear in HVAC Automatic.

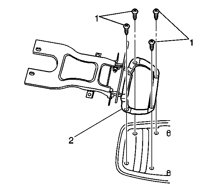
  2. Object Number: 568396  Size: SH
  3. Remove the upper two fasteners (1) from the HVAC control opening on the center console endcap (3).
  4. Remove the two lower fasteners (2) from the rear of the console endcap (3).
  5. Remove the center console endcap (3) from the center console.
  6. Open the console compartment door.
  7. Use a flat bladed tool in order to remove the rear air vent cover (2) from the center console.
  8. Remove the cellular phone or ON-STAR wiring, if equipped.

  9. Object Number: 568406  Size: SH
  10. Remove the two fasteners (1) from the console door hinge.
  11. Remove the console door and hinge assembly from the center console.

  12. Object Number: 568408  Size: SH
  13. Remove the fasteners (1) that retain the console tray (2) to the hinge
  14. Remove the console door (2) from the hinge

  15. Object Number: 568411  Size: SH
  16. Remove the fasteners (1) that retain the armrest inner trim panel (2) to the armrest and remove the inner trim panel (2).

  17. Object Number: 568412  Size: SH
  18. Remove the fasteners (1) securing the console door hinge (2) to the armrest.
  19. Remove the console door hinge (2).

Installation Procedure


    Object Number: 568412  Size: SH
  1. Align the center console hinge (2) to the mounting location on the center console armrest
  2. Install the and tighten the fasteners (1).

  3. Object Number: 568411  Size: SH
  4. Install the center console inner trim panel (2) to the armrest.
  5. Install and tighten the fasteners (1) to the armrest inner trim panel (2).

  6. Object Number: 568408  Size: SH
  7. Install the console tray (2) to the console door hinge.
  8. Install and tighten the fasteners (1).
  9. Align the console lid and hinge assembly to the center console.
  10. The center console door has alignment pins next to the top two hinge fasteners.


    Object Number: 568406  Size: SH
  11. Install the top two console hinge fasteners (1).
  12. Reinstall the cellar phone or ON-STAR wiring if equipped.
  13. Install the air vent cover (2).
  14. Close the console compartment door.

  15. Object Number: 568396  Size: SH
  16. Align the center console endcap (3) with the rear of the center console.
  17. Install the four console endcap fasteners (1,2).
  18. Install the rear HVAC control. Refer to Control Assembly Replacement - Rear .