GM Service Manual Online
For 1990-2009 cars only
Makes
🢒
Cadillac
🢒
2000
🢒
DeVille
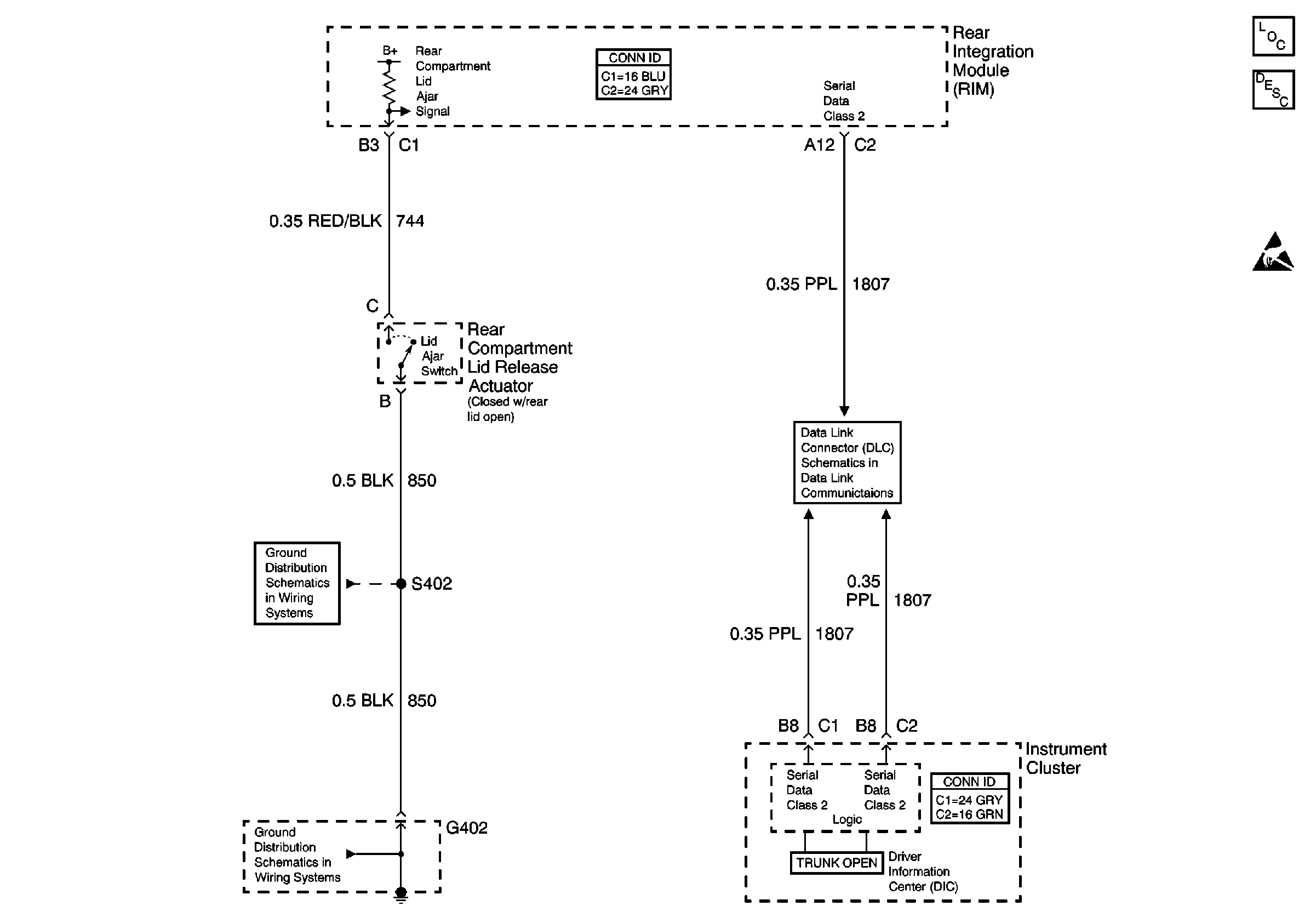
🢒 Rear Compartment Lid Ajar Signal
Rear Compartment Lid Ajar Signal
Rear Compartment Lid Ajar Signal
Body Rear End Components
Body Rear End Description
Handling ESD Sensitive Parts Notice
G402 - Backup Lamps
G402 - Backup Lamps
Serial Data Class 2 (1 of 3)