GM Service Manual Online
For 1990-2009 cars only
Makes
🢒
Cadillac
🢒
2000
🢒
DeVille
🢒 Power, Ground and Class 2
Power, Ground and Class 2
Power, Ground and Class 2
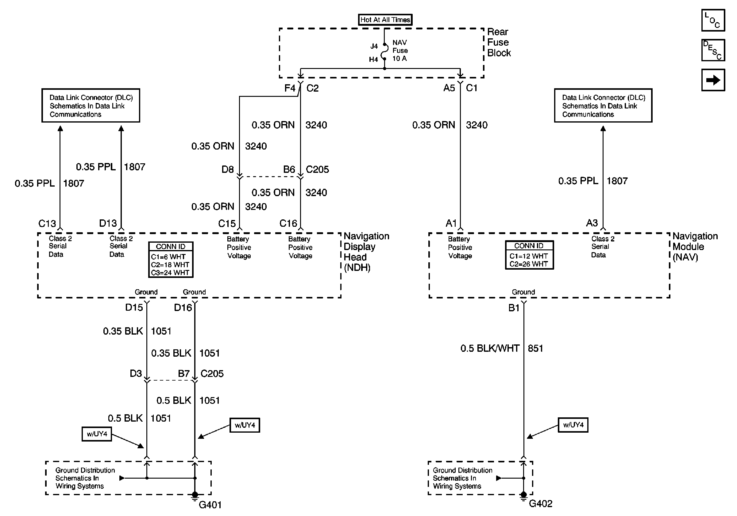
Navigation System Components
Gateway Communication and Video Jacks
Navigation System Connector End Views
G401
G402 - Fuel Sender and Other Items