GM Service Manual Online
For 1990-2009 cars only
Makes
🢒
Cadillac
🢒
2000
🢒
DeVille
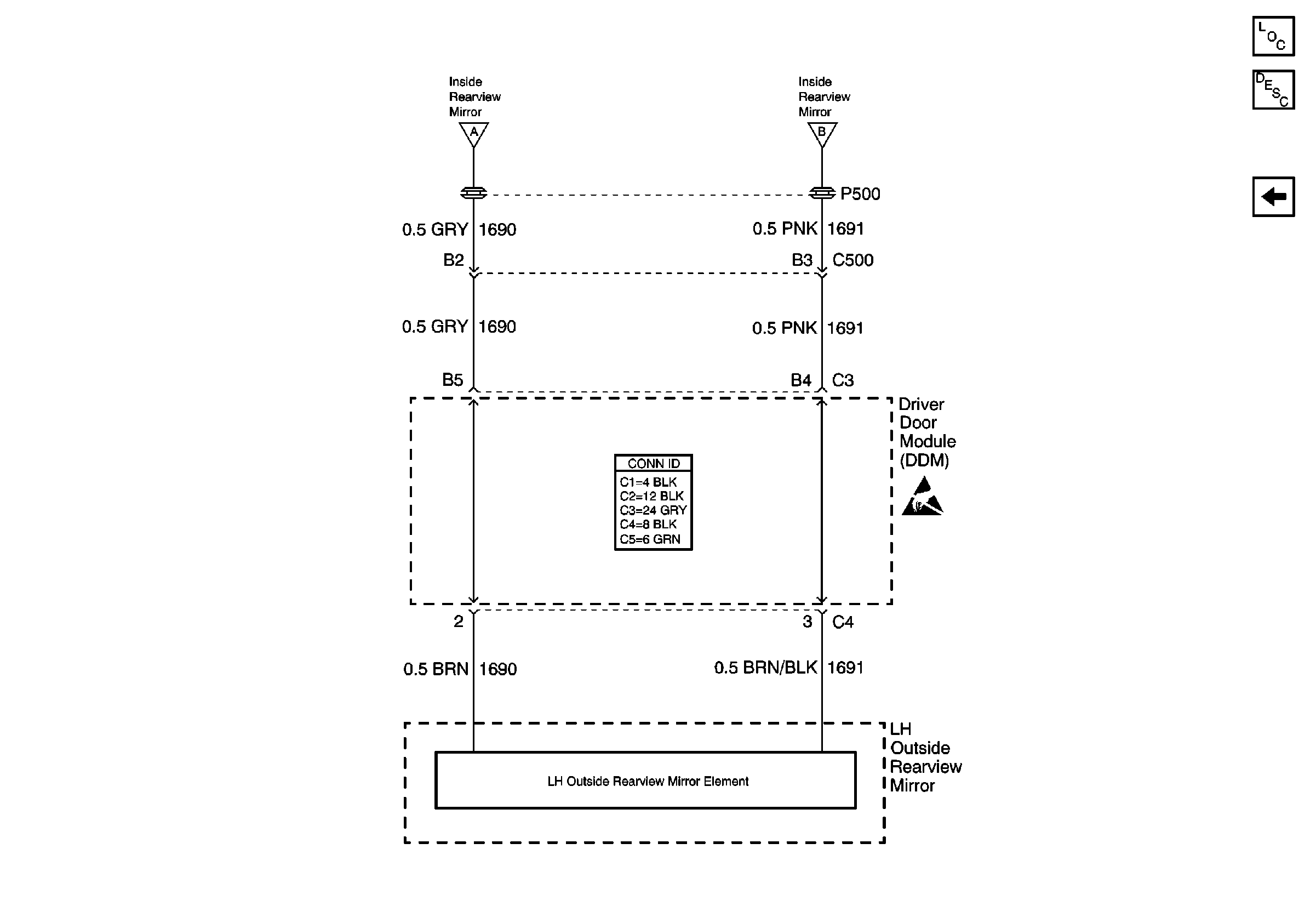
🢒 Automatic Day-Night Mirrors Schematics
Automatic Day-Night Mirrors Schematics
LH Outside Rearview Mirror
Stationary Windows Components
Automatic Day-Night Mirrors Circuit Description
Inside Rearview Mirror
Inside Rearview Mirror
Inside Rearview Mirror
Handling ESD Sensitive Parts Notice