GM Service Manual Online
For 1990-2009 cars only

Object Number: 582655  Size: LF
Suspension Controls Components
Actuators and Sensors
Handling ESD Sensitive Parts Notice
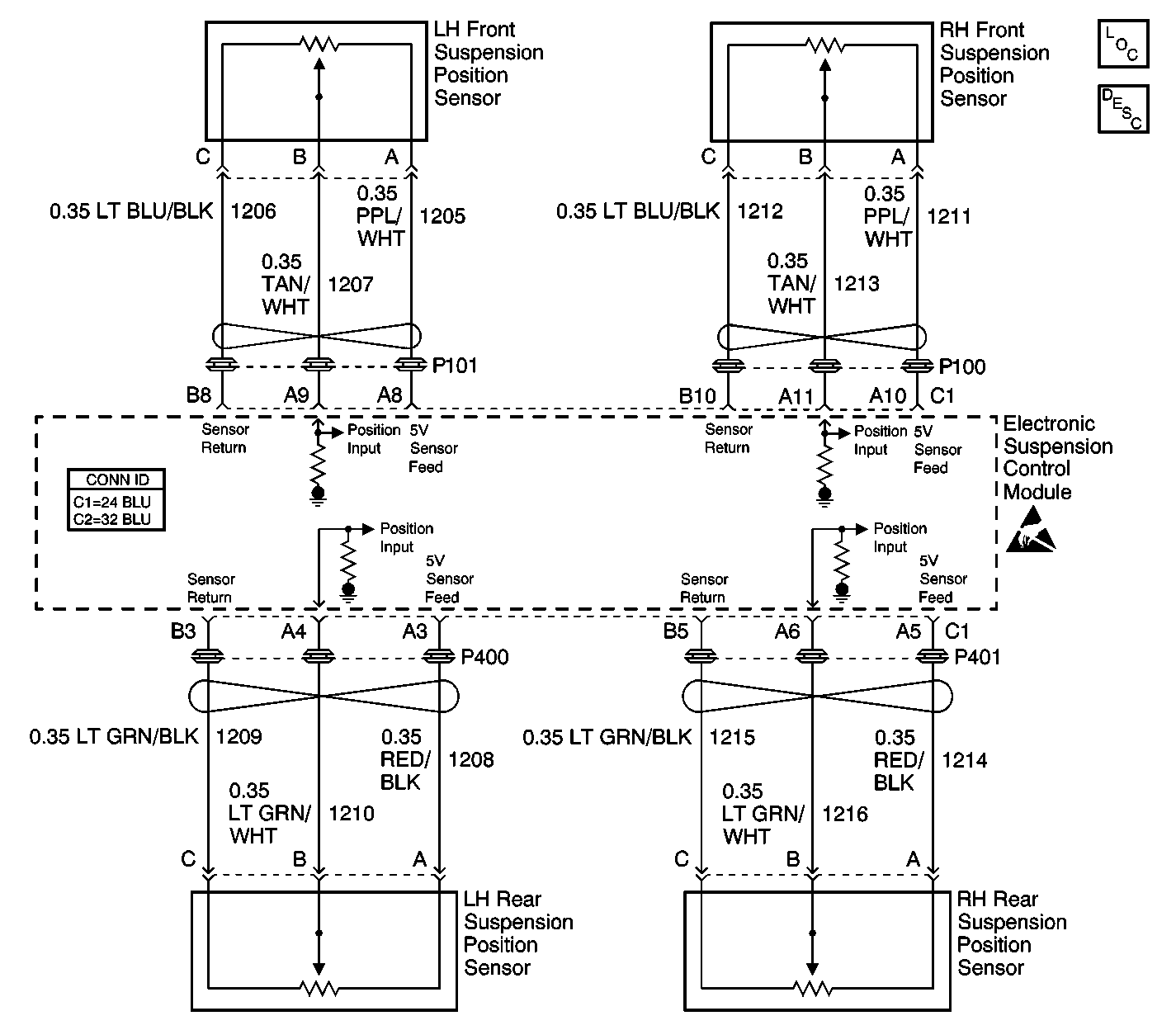
Automatic Level Control Connector End Views

Circuit Description

The Electronic Suspension Control Module provides power (a regulated 5 volts) to each of the Electronic Suspension Control position sensors. The control module also monitors this voltage supply for a fault condition which prevents proper regulation.

Conditions for Running the DTC

    • The ignition is on.
    • The fault is detected during three consecutive ignition cycles, or during the same igntion cycle after clearing the DTC using the scan tool.

Conditions for Setting the DTC

The DTC is set when the Electronic Suspension Control Module measures a position sensor supply voltage is outside the valid range of 3.75 to 5.625 volts.

Action Taken When the DTC Sets

    • The Electronic Suspension Control system will enter the Speed Dependent damping mode.
    • Both Left and Right Normal Force Signal outputs will be set to the default output states.
    • The SERVICE RIDE CONTROL message will be displayed.

Conditions for Clearing the MIL/DTC

    • The scan tool can be used to clear the DTC.
    • The On-Board diagnostics CLEAR RSS CODES feature can be used to clear the DTC.
    • The DTC is saved as history when the Electronic Suspension Control Module no longer sees a position sensor supply voltage outside the valid range of 3.75 to 5.625 volts. The DTC will clear if the fault does not return after 50 consecutive ignition cycles.

Diagnostic Aids

Refer to Testing for Intermittent Conditions and Poor Connections in Wiring Systems.

Test Description

The number(s) below refer to the step number(s) on the diagnostic table.

  1. Determines if the fault is due to a short to ground.

  2. Determines if the fault is due to a short to voltage.

  3. Tests for a short to ground in the position sensor supply circuits.

  4. Tests for a short between the position sensor supply and ground circuits.

  5. Tests for a short to voltage in the position sensor supply circuits.

Step

Action

Value(s)

Yes

No

1

Did you perform the Road Sensing Suspension Diagnostic System Check?

--

Go to Step 2

Go to Diagnostic System Check

2

  1. Turn ON the ignition, with the engine OFF.
  2. Measure the voltage from the 5 V reference circuit of the Electronic Suspension Control Module to the left rear position sensor by backprobing the Electronic Suspension Control Module connector.

Does the voltage measure less than the specified value?

3.75 V

Go to Step 4

Go to Step 3

3

Does the voltage measure greater than the specified value?

5.625 V

Go to Step 6

Go to Step 7

4

Test the 5 V reference circuit of each position sensor for a short to ground. Refer to Circuit Testing and Wiring Repairs in Wiring Systems.

Did you find and correct the condition?

--

Go to Step 8

Go to Step 5

5

Test for a short between the 5 V reference circuit and the ground circuit of each position sensor. Refer to Circuit Testing and Wiring Repairs in Wiring Systems.

Did you find and correct the condition?

--

Go to Step 8

Go to Step 7

6

Test the 5 V reference circuit of each position sensor for a short to voltage. Refer to Circuit Testing and Wiring Repairs in Wiring Systems.

Did you find and correct the condition?

--

Go to Step 8

Go to Step 7

7

Important: Perform the set up and calibration procedure for the Electronic Suspension Control Module.

Replace the Electronic Suspension Control Module. Refer to Electronic Suspension Control Module Replacement .

Did you complete the replacement?

--

Go to Step 8

--

8

  1. Use the scan tool in order to clear the DTCs .
  2. Operate the vehicle within the Conditions for Running the DTC as specified in the supporting text.

Does the DTC reset?

--

Go to Step 2

System OK