GM Service Manual Online
For 1990-2009 cars only

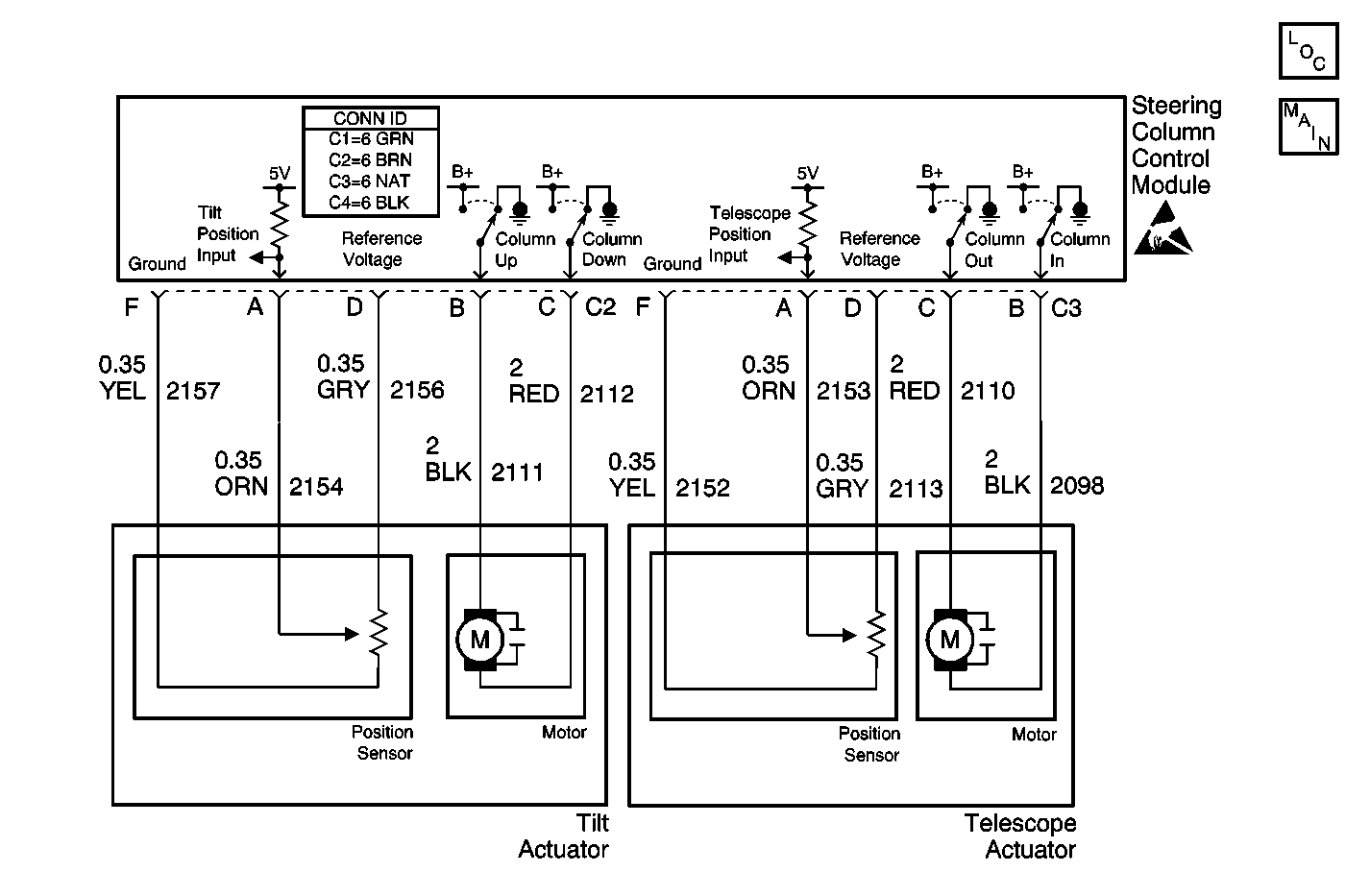
Object Number: 543734  Size: MF
Tilt Wheel/Column Components
Tilt/Telescoping Steering Column Module Schematics
Handling ESD Sensitive Parts Notice

Circuit Description

The tilt/telescoping steering column module (SCCM) determines the position of the steering column based on inputs received from sensors that are built into the tilt actuator and the telescoping actuator. The SCCM supplies a 5 volt reference signal and a ground to these sensors and monitors the column position via a tilt position input circuit and a telescope position input circuit.

Conditions for Running the DTC

The self diagnostics test runs once every 30 seconds if there is no current code B1327 Battery Voltage Low set.

Conditions for Setting the DTC

During normal operation, the steering column position sensor inputs are compared to values that are stored in the memory of the SCCM. The current code will be set by the SCCM when the sensor inputs and the limits stored in its memory differ for a time period of 2 seconds. At that time, the SCCM will determine the circuit to be shorted.

Action Taken When the DTC Sets

When a sensor code is set as current, the SCCM will not allow the affected motor to work during memory recall and/or easy exit operations. However, the motor will still operate for manual switch positioning.

Conditions for Clearing the DTC

    • The SCCM no longer detects the failure.
    • Use the scan tool in order to clear the code.
    • Use the On-Board Diagnostics to clear the code.

Diagnostic Aids

    • Check the steering column for abnormal looseness.
    • It is important to reprogram the SCCM following the replacement of any SCCM electrical component.

Step

Action

Value(s)

Yes

No

1

Did you perform the Tilt/Telescoping Steering Column Diagnostic System Check?

--

Go to Step 2

Go to Tilt/Telescoping Steering Column Diagnostic System Check

2

  1. Install a scan tool.
  2. Turn ON the ignition, with the engine OFF.
  3. With the scan tool, observe the Tilt Sensor Data parameter in the Tilt/Telescope Module Data display list.

Does the scan tool indicate that the Data parameter is greater than the specified value?

0.12  Volts

Go to Diagnostic Aids

Go to Step 3

3

  1. Turn OFF the ignition.
  2. Disconnect the tilt actuator harness connector from the tilt/telescoping steering column module.
  3. Turn ON the ignition, with the engine OFF.
  4. With the scan tool, observe the Tilt Sensor Data parameter.

Does the scan tool indicate that the Data parameter is greater than the specified value?

4.8  Volts

Go to Step 4

Go to Step 6

4

Inspect for poor connections at the harness connector of the tilt actuator. Refer to Testing for Intermittent Conditions and Poor Connections and Connector Repairs in Wiring Systems.

Did you find and correct the condition?

--

Go to Step 7

Go to Step 5

5

Important: Perform the set up procedure for the tilt/telescoping steering column control module.

Replace the tilt actuator. Refer to Tilt Motor Assembly - Disassemble - Off Vehicle .

Did you complete the replacement?

--

Go to Step 7

--

6

Important: Perform the set up procedure for the tilt/telescoping steering column control module.

Replace the tilt/telescoping steering column control module. Refer to Steering Column Control Module Replacement .

Did you complete the replacement?

--

Go to Step 7

--

7

  1. Use the scan tool in order to clear the DTCs.
  2. Operate the vehicle within the Conditions for Running the DTC as specified in the supporting text.

Does the DTC reset?

--

Go to Step 2

System OK