GM Service Manual Online
For 1990-2009 cars only

Removal Procedure


    Object Number: 130882  Size: SH
  1. Remove the rear seat back. Refer to Rear Seat Back Replacement in Seats.
  2. Move the rear seat back insulator aside.
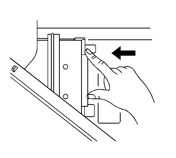
  3. Disconnect the electrical connectors from the CVRSS module (2).

  4. Object Number: 488360  Size: SH
  5. Depress inward on the locking tabs (2).
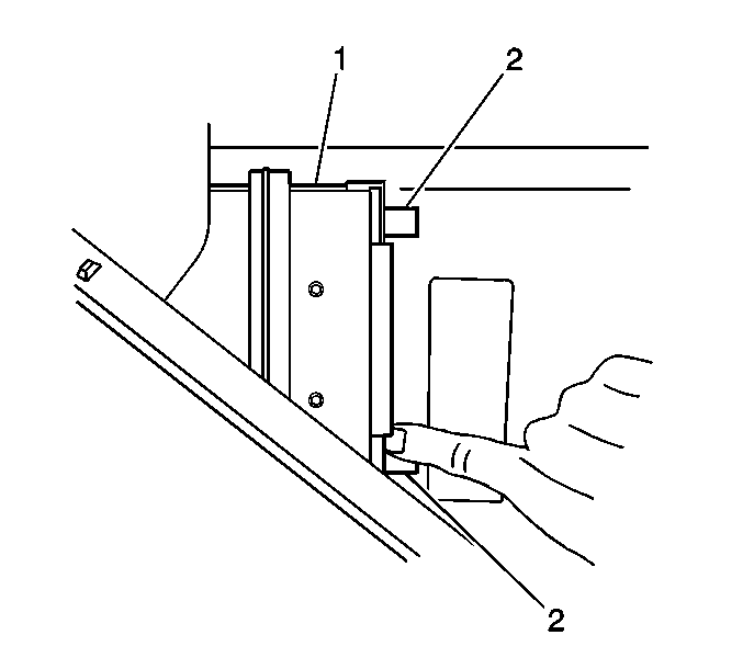
  6. With the locking tabs (2) depressed, slide the CVRSS module (1) towards the center of the vehicle.
  7. Remove the module (1) from the bracket.

Installation Procedure


    Object Number: 509434  Size: SH
  1. Install the CVRSS module (1) to the bracket.
  2. Slide the CVRSS module (1) away from the center of the vehicle until it is fully engaged.

  3. Object Number: 130882  Size: SH
  4. Connect the CVRSS module electrical connector (2).
  5. Reposition the rear seat back insulator.
  6. Install the rear seat back. Refer to Rear Seat Back Replacement in Seats.
  7. Perform the CVRSS module Calibration. Refer to Electronic Suspension Control Module Calibration .