GM Service Manual Online
For 1990-2009 cars only
Makes
🢒
Cadillac
🢒
2001
🢒
DeVille
🢒
Body and Accessories
🢒
Wiring Systems
🢒 Door Control Module Replacement
Removal Procedure
Remove the door trim panel. Refer to
Rear Side Door Trim Panel Replacement
or
Front Side Door Trim Panel Replacement
.
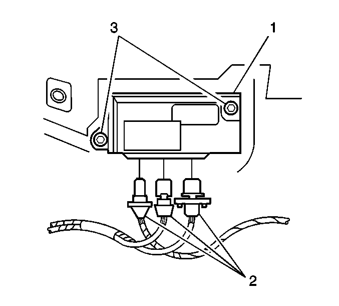
Disconnect the electrical connectors (2) from the control module.
Remove the door control module (1) by releasing the retainer tabs (3).
Installation Procedure
Snap the door module (1) onto the water deflector.
Connect the electrical connectors (2).
Install the door trim panel. Refer to
Rear Side Door Trim Panel Replacement
or
Front Side Door Trim Panel Replacement
.