GM Service Manual Online
For 1990-2009 cars only
Figure 1:

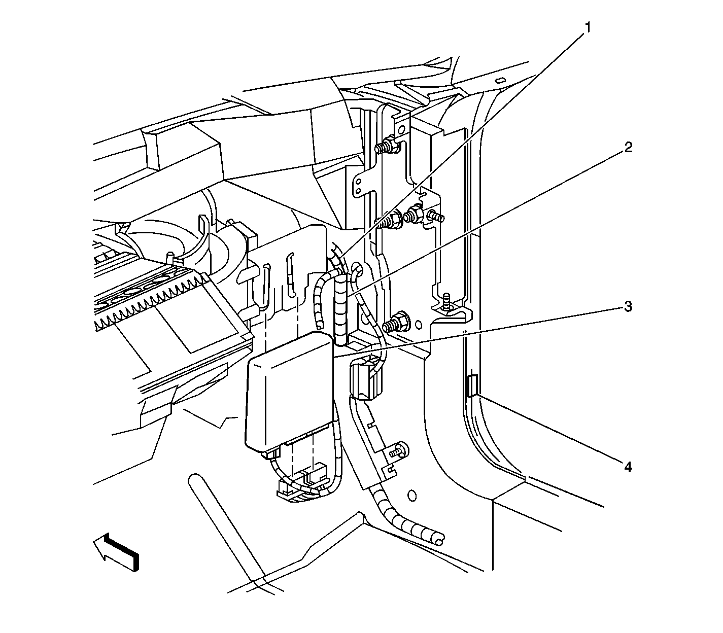
Left Front Corner of the Engine Compartment, Near the Left Side of the Radiator


Object Number: 524879  Size: LF
(1)C102 (Left) and C103 (Right)
(2)S100
Figure 2:

Front Left Corner of the Vehicle, Behind the Headlamp


Object Number: 524907  Size: LF
(1)S106 (Left) and S109 (Right)
(2)S105 (Left) and S108 (Right)
(3)S107 (Left) and S110 (Right)
Figure 3:

Right Lower Corner of the Engine Compartment, Near the Base of the Strut Tower


Object Number: 524921  Size: LF
(1)P102
Figure 4:

Left Side of the Engine Compartment, Near the Thermostat Housing


Object Number: 524923  Size: LF
(1)P115
(2)C100
Figure 5:

Left Rear of the Engine Compartment


Object Number: 524948  Size: LF
(1)C101
(2)S104
(3)S103
(4)P100
Figure 6:

Engine Compartment, Right Rear Corner of the Engine


Object Number: 524937  Size: LF
(1)S101
(2)S102
(3)C107
(4)C109
Figure 7:

Center Rear of the Engine Compartment


Object Number: 524931  Size: LF
(1)C110
(2)P103
(3)C111
(4) S111
(5)P101
Figure 8:

Center Front of the Passenger Compartment, Below the Instrument Panel


Object Number: 524935  Size: LF
(1)S204
(2)S203
(3)S202
Figure 9:

Passenger Compartment, Left Side of the Instrument Panel


Object Number: 524991  Size: LF
(1)Instrument Cluster
(2)S206
(3)S205
(4)S200
(5)Instrument Cluster C2
(6)Instrument Cluster C1
(7)S232
Figure 10:

Passenger Compartment, Top Left of the Instrument Panel


Object Number: 524986  Size: LF
(1)Head-Up Display
(2)S201
(3)Head-Up Display Connector
Figure 11:

Front Center of the Headliner


Object Number: 524880  Size: LF
(1)S303
(2)S304
(3)S305
(4)S306
Figure 12:

Above the Left Side of the Instrument Panel


Object Number: 524947  Size: LF
(1)C200
(2)S210
(3)S211
Figure 13:

Right Side of the Instrument Panel, Near the Blower Motor


Object Number: 524961  Size: LF
(1)S216
(2)S217
(3)Dash Integration Module (DIM)
(4)G201
Figure 14:

Under the Right Side of the Instrument Panel, Near the Blower Motor


Object Number: 524943  Size: LF
(1)C203
(2)S209
(3)S208
(4)S207
Figure 15:

Under the Right Side of the Instrument Panel Top Pad


Object Number: 539223  Size: LF
(1)C204
Figure 16:

Under the Right Side of the Instrument Panel, Right of the Blower Motor


Object Number: 525001  Size: LF
(1)S215
(2)Blower Motor Control Processor
(3)Air Inlet Actuator
Figure 17:

Under the Right Side of the Instrument Panel, Near the Rear of the Instrument Panel Compartment


Object Number: 524946  Size: LF
(1)C201
Figure 18:

Steering Column


Object Number: 531224  Size: LF
(1)S219
(2)C202
(3)C312
(4)S220
(5)S222
(6)S221
Figure 19:

Left Front of the Passenger Compartment, on the Steering Wheel


Object Number: 636727  Size: LF
(1)Steering Wheel Controls C1 (Right Side)
(2)Steering Wheel Controls C2 (Right Side)
(3)Steering Wheel Controls C1 (Left Side)
(4)Steering Wheel Controls C2 (Left Side)
(5)Splices 226-230
Figure 20:

Left Front of the Center Console, Near the Rear Blower Motor


Object Number: 524938  Size: LF
(1)C304
(2)C205
Figure 21:

Left Rear of the Passenger Compartment, Above the Rear Shelf


Object Number: 524932  Size: LF
(1)C305
Figure 22:

Under the Center of the Instrument Panel, Behind the Ashtray


Object Number: 524934  Size: MF
(1)C206
Figure 23:

Middle of the Left Front Door, Behind the Door Trim Panel


Object Number: 524940  Size: LF
(1)S602
(2)S603
(3)P601(RF) P501 (LF)
(4)P600
(5)C601 (Right) C501 (Left)
(6)Driver Door Module (DDM) (Passenger Front Door Module (PFDM) Similar)
Figure 24:

Left Front Door, Behind the Door Trim Panel


Object Number: 524881  Size: LF
(1)S500
(2)P500
Figure 25:

Left Front Door, Behind the Center of the Door Panel


Object Number: 524895  Size: MF
(1)S501
(2)S502
Figure 26:

Right Front Door, Behind the Center of the Door Panel


Object Number: 524905  Size: MF
(1)S600
(2)S601
Figure 27:

Left Rear Door, Behind the Center of the Door Panel


Object Number: 524902  Size: MF
(1)S703
(2)S704
(3)S702
Figure 28:

Right Rear Door, Behind the Door Trim Panel


Object Number: 524893  Size: LF
(1)S800
Figure 29:

Right Rear Door, Behind the Center of the Door Panel


Object Number: 524898  Size: MF
(1)S802
(2)S803
(3)S801
Figure 30:

Passenger Compartment, Under the Right Front Seat


Object Number: 525015  Size: LF
(1)G306
(2)G302
(3)SP302
Figure 31:

Left Side of the Passenger Compartment, Under the Left Front Seat


Object Number: 524941  Size: LF
(1)S329 , S332 (Similar)
(2)C300, C307 (Similar)
(3)S309
(4)S308
Figure 32:

Center Front of the Passenger Compartment, Under the Console


Object Number: 524883  Size: LF
(1)S300
(2)S302
(3)S301
(4)C313
Figure 33:

Left Front Corner of the Passenger Compartment


Object Number: 524930  Size: LF
(1)C500 (C600 Similar)
(2)S213
(3)S212
Figure 34:

Front of the Center Console, Below the Ashtray


Object Number: 525041  Size: LF
(1)Blower Motor -- Auxiliary
(2)Blower Motor Resistor Assembly -- Auxiliary
(3)S307
Figure 35:

Passenger Compartment, Under the Left Front Seat


Object Number: 524885  Size: LF
(1)S326
(2)S328 (Left) and S331 (Right)
(3)S327
(4)S324
(5)S330 (Right) and S325 (Left)
Figure 36:

Passenger Compartment, in the Left Front Seat


Object Number: 525053  Size: LF
(1)Seat Belt Tower Motor and Seat Belt Tower Sensor, Passenger Similar
(2)Seat Belt Retractor -- Driver, Passenger Similar
(3) C324, C326 Similar
(4)Seat Rear Vertical Position Sensor -- Driver, Passenger Similar
(5)Seat Rear Vertical Motor -- Driver, Passenger Similar
(6)Seat Front Vertical Position Sensor -- Driver, Passenger Similar
(7)Seat Front Vertical Motor -- Driver, Passenger Similar
(8)Seat Horizontal Motor -- Driver, Passenger Similar
(9)Seat Horizontal Position Sensor -- Driver, Passenger Similar
(10)C323 and C314 -- Driver and C325 Similar
(11)Seat Recline Position Sensor -- Driver, Passenger Similar
(12)Seat Recline Motor -- Driver, Passenger Similar
(13)Seat Massaging Power Lumbar Assembly -- Driver, Passenger Similar
Figure 37:

Right Side of the Passenger Compartment, in the Door Pillar


Object Number: 524928  Size: LF
(1)C800
Figure 38:

Right Rear Door, Behind the Door Trim Panel


Object Number: 524889  Size: LF
(1)C800 and C801 (C700 and C701 Similar)
(2)C802 (C702 Similar)
(3)S800 (S700 Similar)
(4)S801 (S701 Similar)
Figure 39:

Left Rear of the Passenger Compartment, Left Side of the Rear Seat Back


Object Number: 524887  Size: LF
(1) Heated Seat Element -- LR, RR Similar
(2)S333
(3)C306
(4)S334
Figure 40:

Left Rear of the Passenger Compartment


Object Number: 524909  Size: LF
(1)S316 (Left) and S321 (Right)
(2)SP301
(3)S315 (Left) and S320 (Right)
(4)S319 (Left) and S314 (Right)
(5)S313 (Left)
(6)S312
(7)C316 and C317 (Left) and C318 and C319 (Right)
(8)S311 (Left) and S318 (Right)
Figure 41:

Left Rear of the Passenger Compartment, Above the Rear Shelf Panel


Object Number: 525033  Size: LF
(1)Wavetrap/Rear Defogger
(2)C327 (w/V4U/B9Q)
(3)C329 (w/V4U/B9Q)
(4)G303
Figure 42:

Right Rear of the Passenger Compartment, on the Rear Shelf Panel


Object Number: 524936  Size: LF
(1)C303
Figure 43:

Upper Right Rear Corner of the Passenger Compartment


Object Number: 524933  Size: LF
(1)C309
(2)C310
(3)C328
Figure 44:

Right Rear of the Passenger Compartment, Under the Rear Seat


Object Number: 524929  Size: LF
(1)C315
(2)SP304
(3)SP303
Figure 45:

Right Rear of the Passenger Compartment, Under the Rear Seat


Object Number: 524942  Size: LF
(1)C320
Figure 46:

Right Rear of the Passenger Compartment, Behind the Rear Seat Back


Object Number: 525016  Size: LF
(1)Cellular Telephone Module
(2)Rear Integration Module (RIM)
Figure 47:

Right Rear of the Passenger Compartment, Under the Rear Seat


Object Number: 524955  Size: LF
(1)Battery (Positive Terminal)
(2)Battery (Negative Terminal)
(3)G300
(4)SP300
(5)G301 (SP301)
(6) Fuse Block -- Rear
(7)S322 (w/V4U)
(8)S323 (w/B9Q)
(9)SP308
(10)SP307
Figure 48:

Passenger Compartment, Behind the Rear Seat Back


Object Number: 898191  Size: MF
(1)C322
(2)C345
(3)Rear Compartment Lamp
Figure 49:

Right Rear Corner of the Rear Compartment


Object Number: 524939  Size: LF
(1)C400
(2)S401
(3)P402
(4)S410
(5)C412 (w/B9Q)
(6)C413 (w/B9Q)
(7)S400
Figure 50:

Right Rear of the Vehicle


Object Number: 524924  Size: LF
(1)C408
(2)S407
(3)S408
Figure 51:

Under the Right Rear of the Vehicle


Object Number: 524925  Size: LF
(1)C420
Figure 52:

Right Side of the Rear Compartment


Object Number: 525038  Size: LF
(1)Rear Object Sensor Control Module
(2)Rear Parking Assist Diagnostic Connector
(3)P401
(4)Tail Lamp Connector
(5)S406
(6)G401
(7)S405
(8)Rear Compartment Lamp
Figure 53:

Left Rear Corner of the Rear Compartment


Object Number: 524915  Size: LF
(1)P400
(2)G402
Figure 54:

Under the Center of the Rear Compartment Lid


Object Number: 524875  Size: LF
(1)S403
(2)S402