GM Service Manual Online
For 1990-2009 cars only
Makes
🢒
Cadillac
🢒
2001
🢒
DeVille
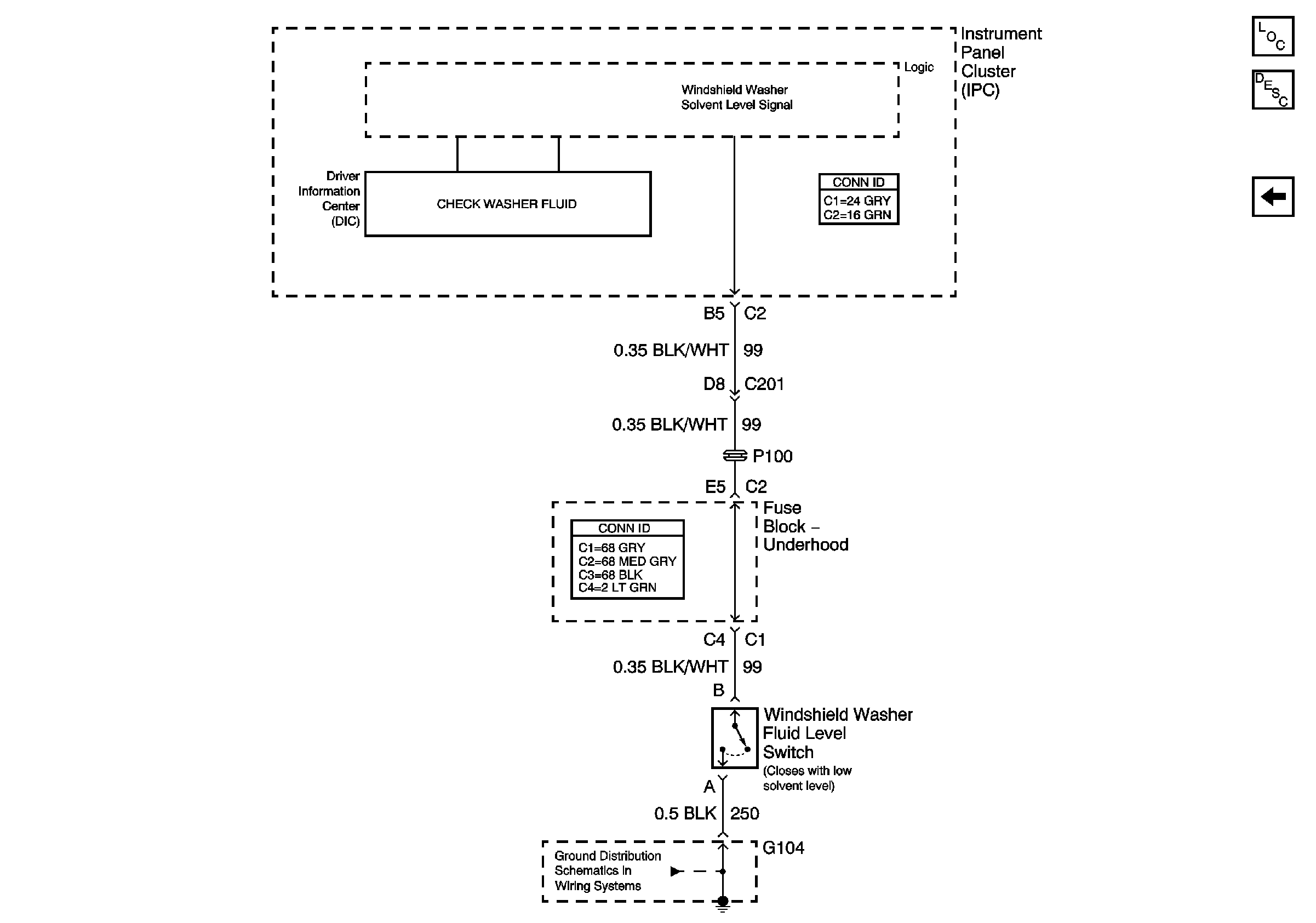
🢒 Washer Solvent Level Switch
Washer Solvent Level Switch
Washer Solvent Level Switch
Master Electrical Component List
Wiper/Washer System Description and Operation
Outside Moisture Sensor
G104