GM Service Manual Online
For 1990-2009 cars only
Makes
🢒
Cadillac
🢒
2001
🢒
DeVille
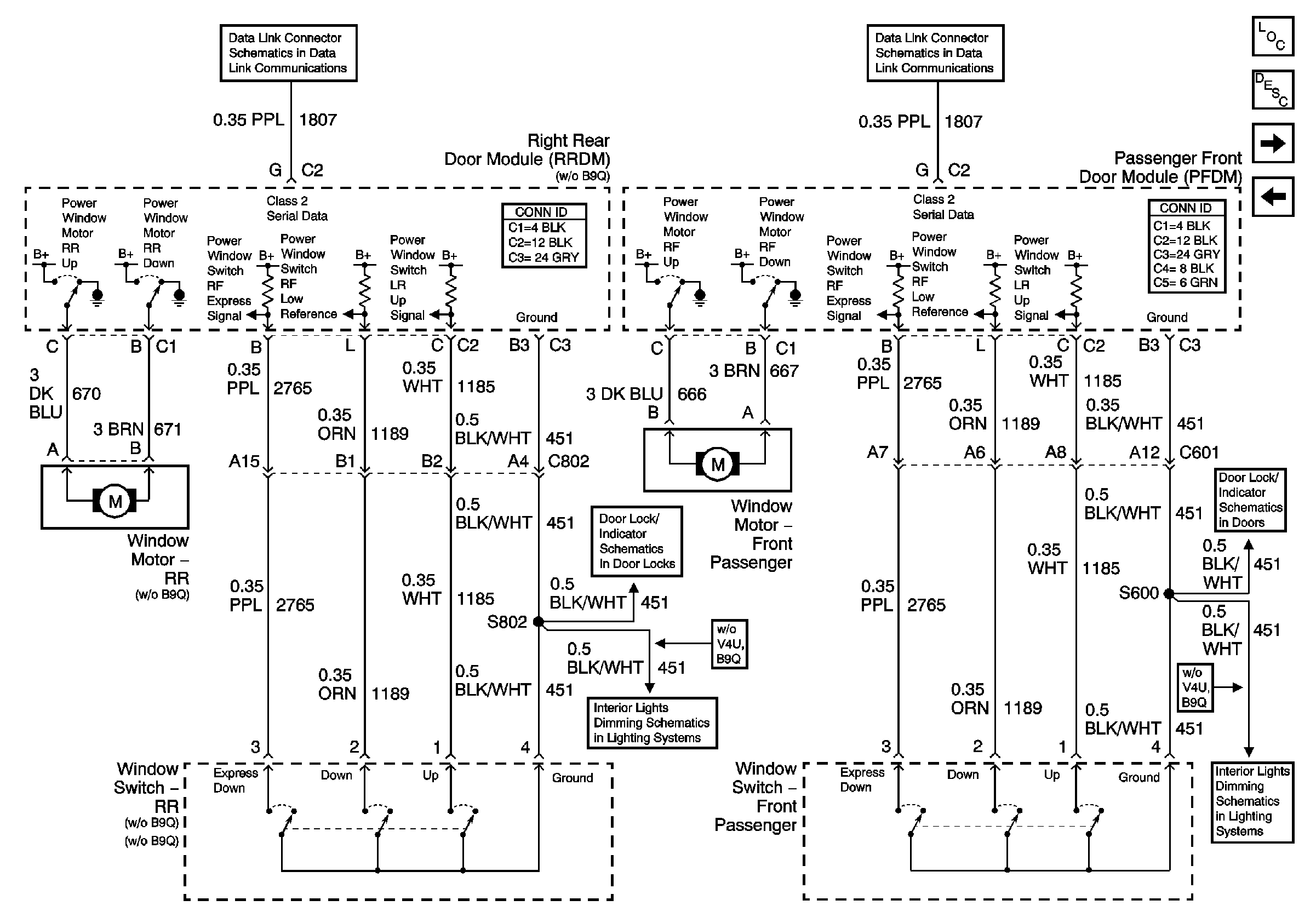
🢒 Right Power Window
Right Power Window
Right Power Window
Master Electrical Component List
Power Windows Description and Operation
Left Middle Door Power Window
Left Power Window
Right Front Door Power Door Lock
Front Door Dimming
Rear Door Dimming
Right Rear Door Power Door Lock (w/o B9Q)
Class 2 Serial Data (2 of 3)
Class 2 Serial Data (2 of 3)