GM Service Manual Online
For 1990-2009 cars only
Makes
🢒
Cadillac
🢒
2001
🢒
DeVille
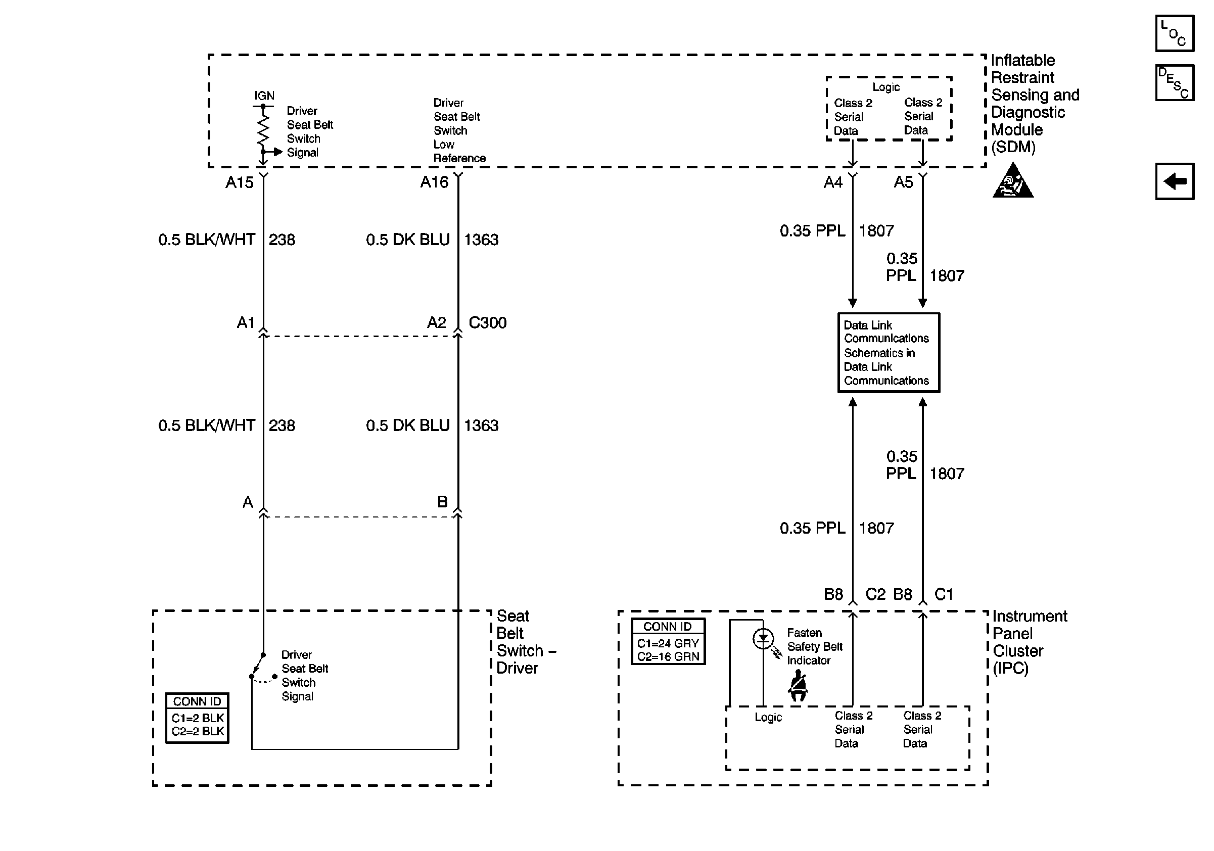
🢒 Fasten Seat Belt Switch and Indicator
Fasten Seat Belt Switch and Indicator
Fasten Seat Belt Switch and Indicator
Master Electrical Component List
Seat Belt System Description and Operation
G302 Left Front Seat
SIR Caution
Class 2 Serial Data (2 of 3)
Class 2 Serial Data (1 of 3)