GM Service Manual Online
For 1990-2009 cars only

Rear Seat Back Cushion Latch Cable Replacement 1st Design

Removal Procedure


    Object Number: 493748  Size: SH
  1. Remove the rear seat back and disconnect the rear seat back pass through release cable (1). Refer to Rear Seat Back Replacement in Seats.
  2. Remove the tie strap securing the rear seat pass thorough release cable (1) to the seat back.
  3. Remove the rear trunk trim. Refer to Rear Compartment Front Trim Panel Replacement in Body Rear End.

  4. Object Number: 820712  Size: SH
  5. Remove the nut (1) from the seat pass thorough release handle.

  6. Object Number: 827610  Size: SH
  7. Remove the seat pass thorough release cable (2) and handle from the electrical component mounting panel (1).

  8. Object Number: 820716  Size: SH
  9. Remove the cable housing (1) from the release handle housing (2) and slide the cable out of the lever in the handle.
  10. Remove the release handle from the cable (1).

Installation Procedure


    Object Number: 820715  Size: SH
  1. Install the seat pass thorough release cable (1) to the slot in the lever on the release handle (2).

  2. Object Number: 820717  Size: SH
  3. Snap the cable housing to the release cable handle housing.

  4. Object Number: 827613  Size: SH
  5. Install the pass thorough release cable (2) and handle through the opening in the electrical component mounting panel (1).

  6. Object Number: 493748  Size: SH
  7. Partially Install the rear seat back.
  8. Connect the rear seat back pass through release cable (1).
  9. Tie strap the pass through release cable (1) to the seat frame.

  10. Object Number: 820712  Size: SH
  11. Install the rear seat back. Refer to in Seats.
  12. Install the release handle to the body.
  13. Install the release handle nut (1).
  14. Tighten
    Tighten the nut to 9N·m (80 lb in).

  15. Install the rear trunk trim. Refer to in Body Rear End.

Rear Seat Back Cushion Latch Cable Replacement 2nd Design

Removal Procedure


    Object Number: 832887  Size: SH
  1. Remove the rear seat back and disconnect the rear seat back release cable (1). Refer to Rear Seat Back Replacement in Seats.
  2. Remove the tie strap securing the rear seat pass thorough release cable.
  3. Remove the rear trunk trim. Refer to Rear Compartment Front Trim Panel Replacement in Body Rear End.

  4. Object Number: 820712  Size: SH
  5. Remove the nut (1) from the seat pass thorough release handle.

  6. Object Number: 827610  Size: SH
  7. Remove the seat pass thorough release cable (2) and handle from the electrical component mounting panel (1).

  8. Object Number: 820716  Size: SH
  9. Remove the cable housing (1) from the release handle housing (2) and slide the cable out of the lever in the handle.
  10. Remove the release handle from the cable (1).

Installation Procedure


    Object Number: 820715  Size: SH
  1. Install the seat pass thorough release cable (1) to the slot in the lever on the release handle (2).

  2. Object Number: 820717  Size: SH
  3. Snap the cable housing to the release cable handle housing.

  4. Object Number: 827613  Size: SH
  5. Install the pass thorough release cable (2) and handle through the opening in the electrical component mounting panel (1).

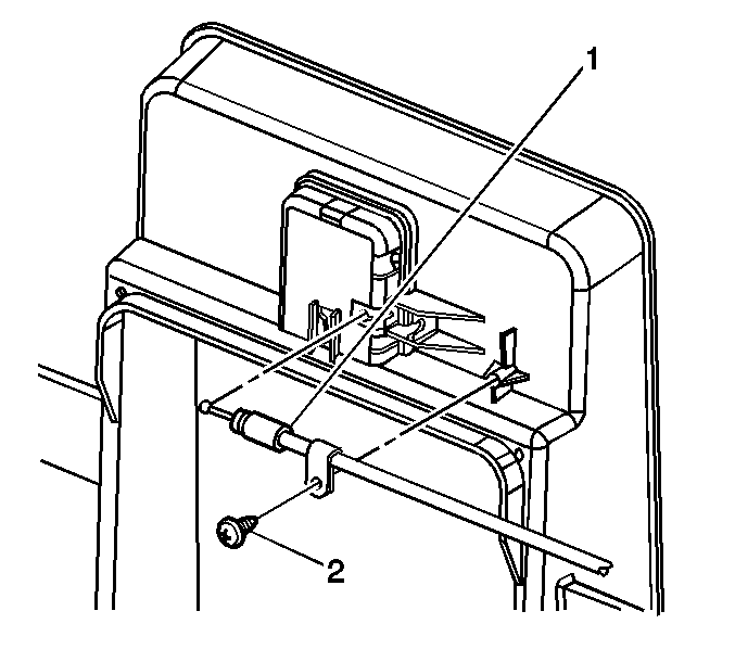
  6. Object Number: 832887  Size: SH
  7. Partially Install the rear seat back.
  8. Connect the rear seat back pass through release cable (1).
  9. Notice: Refer to Fastener Notice in the Preface section.

  10. Install the pass through release cable screw (2).
  11. Tighten
    Tighten the nut to 2N·m (18 lb in).

  12. Tie strap the pass through release cable (1) to the seat frame.

  13. Object Number: 820712  Size: SH
  14. Install the rear seat back. Refer to Rear Seat Back Replacement in Seats.
  15. Install the release handle to the body.
  16. Install the release handle nut (1).
  17. Tighten
    Tighten the nut to 9N·m (80 lb in).

  18. Install the rear trunk trim. Refer to Rear Compartment Front Trim Panel Replacement in Body Rear End.