GM Service Manual Online
For 1990-2009 cars only

Cigar Lighter Housing Replacement KD, KE

Tools Required

J 42059 Cigar Lighter Socket Remover

Removal Procedure


    Object Number: 731356  Size: SH
  1. Remove the cigar lighter fuse.
  2. Remove the cigar lighter element.
  3. Remove the cigar lighter housing by placing one side of the T portion of the tool J 42059 into the tab window and then the other should be angled into the opposite tab window, then pull the lighter housing straight out.
  4. Remove the tool from the lighter housing.

  5. Object Number: 734982  Size: SH
  6. Pull the cigar lighter housing (3) and cigar lighter retainer (2) out of the ash tray.
  7. Disconnect the electrical connector (1) from the cigar lighter (3).
  8. Remove the cigar lighter retainer (2) from the cigar lighter housing (3).

Installation Procedure


    Object Number: 734981  Size: SH
  1. Install the cigar lighter retainer (1) to the ash tray, by pressing the retainer into place until fully seated.
  2. Connect the electrical connector (2) to cigar lighter housing (1).

  3. Object Number: 734979  Size: SH
  4. Align the cigar lighter (2) key way, to the key slot in the retainer ring (1).

  5. Object Number: 734978  Size: SH
  6. Press the cigar lighter into place until the cigar lighter housing is fully seated.
  7. Install the cigar lighter fuse.
  8. Install the cigar lighter element.

Cigar Lighter Housing Replacement KF

Removal Procedure


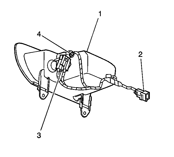
    Object Number: 731327  Size: SH
  1. Remove the console trim plate. Refer to Front Floor Console Trim Plate Replacement .
  2. Remove the IP compartment (1). Refer to Instrument Panel Compartment Replacement .
  3. Disconnect the cigar lighter lamp (4).
  4. Disconnect the electrical connector from the cigar lighter (3).
  5. Remove the cigar lighter from the housing.
  6. Remove the cigar lighter housing from the retainer by rotating the retainer counter clock wise.

  7. Remove the cigar lighter and housing.

Installation Procedure


    Object Number: 731327  Size: SH
  1. Install the cigar lighter housing to the IP compartment (1).
  2. Install the cigar lighter retainer to the IP compartment housing.
  3. Install the cigar lighter housing into the retainer.
  4. Rotate the housing clockwise until the cigar lighter housing is fully driven, seated but not stripped.
  5. Install the cigar lighter lamp (4).
  6. Connect the cigar lighter electrical connector (3).
  7. Install the cigar lighter to the housing.
  8. Install the IP compartment (1). Refer to Instrument Panel Compartment Replacement .
  9. Install the console trim plate. Refer to Front Floor Console Trim Plate Replacement .