GM Service Manual Online
For 1990-2009 cars only
Makes
🢒
Cadillac
🢒
2002
🢒
DeVille
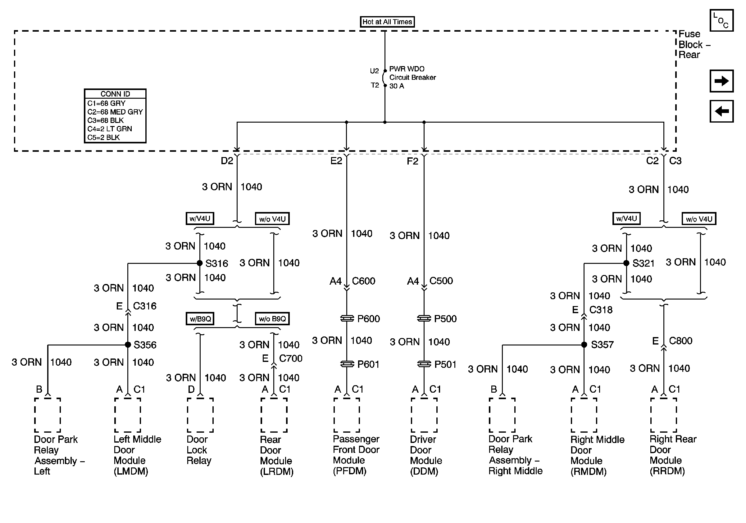
🢒 PWR Window Circuit Breaker
PWR Window Circuit Breaker
PWR Window Circuit Breaker
Master Electrical Component List
NAV Fuse and PWR Seat Circuit Breaker
Audio Amp and Export LTG/LK Fuses