GM Service Manual Online
For 1990-2009 cars only
Makes
🢒
Cadillac
🢒
2002
🢒
DeVille
🢒 Steering Controls (w/NV8)
Steering Controls (w/NV8)
Master Electrical Component List
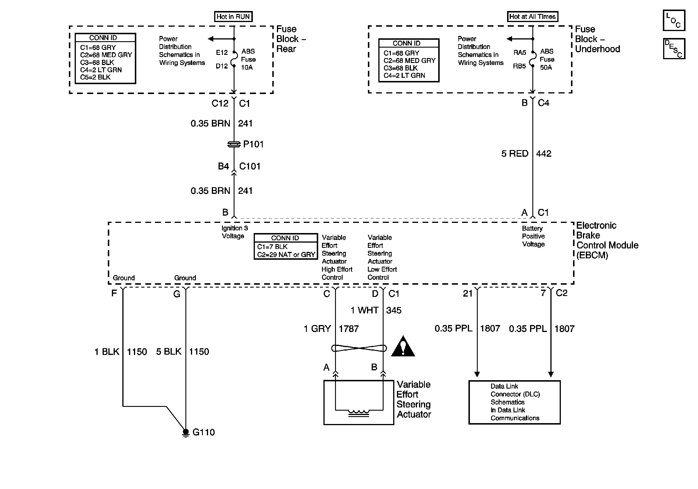
Variable Effort Steering System Description and Operation
Class 2 Serial Data (1 of 3)
ELC, Night Vision, HVAC, ABS Fuses
ABS Sol, Air Pump B, C/LTR 1, C/LTR 2, Fuses