GM Service Manual Online
For 1990-2009 cars only
Makes
🢒
Cadillac
🢒
2002
🢒
DeVille
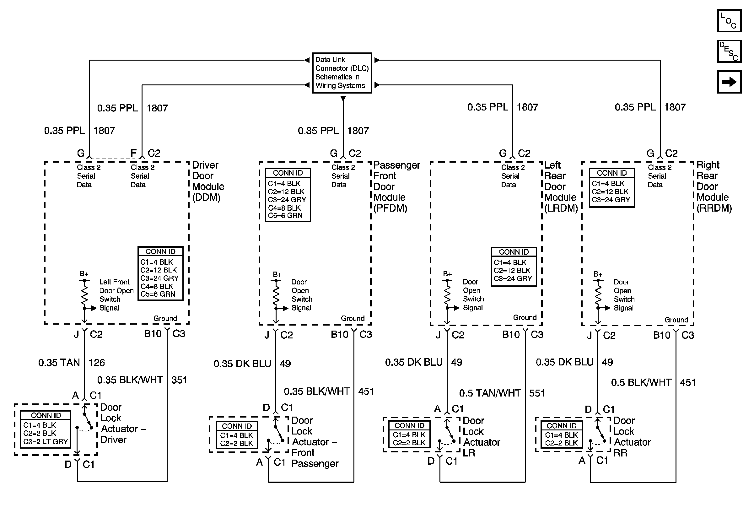
🢒 Door Open Inputs
Door Open Inputs
Door Open Inputs
Master Electrical Component List
Interior Lighting Systems Description and Operation
Front Park/Turn and Repeater Lamps
Class 2 Serial Data (2 of 3)