GM Service Manual Online
For 1990-2009 cars only

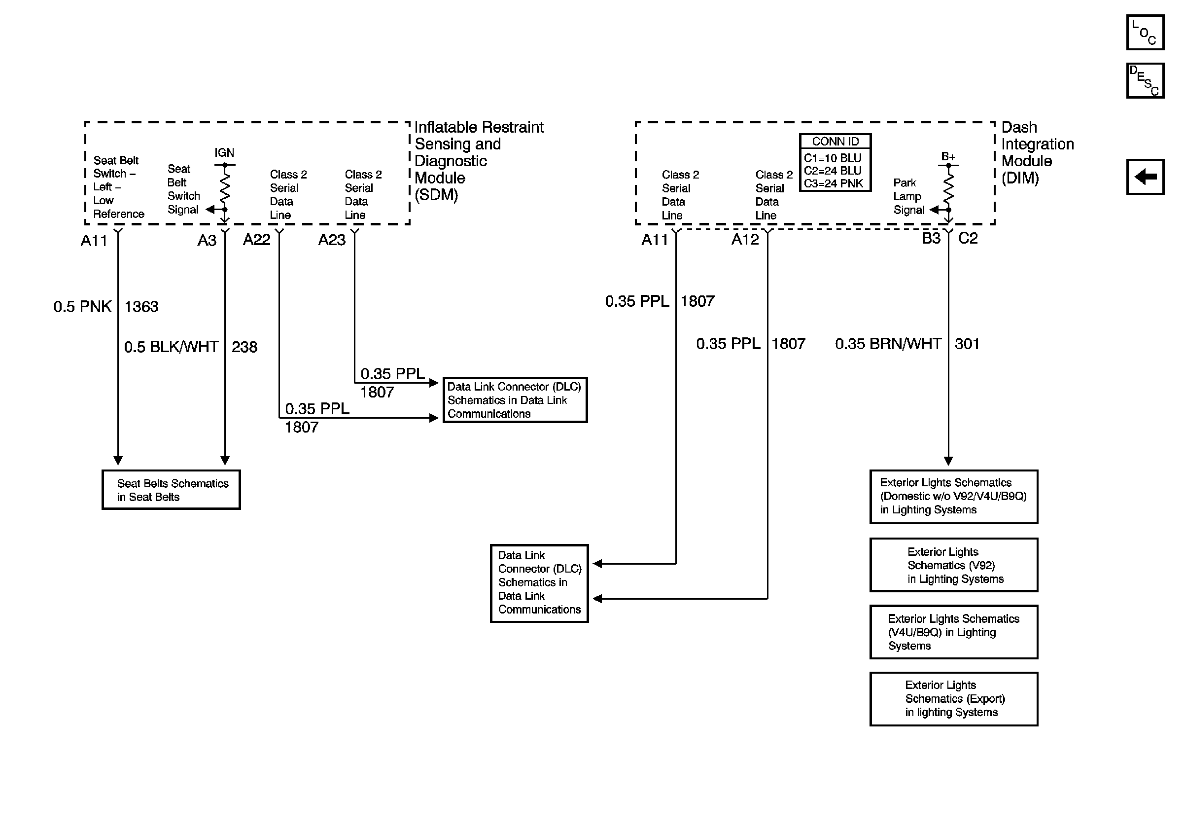
Seat Belt Switch Signal and Park Lamp Signal

Seat Belt Switch Signal and Park Lamp Signal


Object Number: 798197  Size: FS
Master Electrical Component List
Audible Warnings Description and Operation
Radio Output, Left Front Door Open Signal and Key-In-Ignition Signal
Headlamp Switch, Park Lamp Relay
Headlamp Switch, Park Lamp Relay
Headlamp Switch, Park Lamp Relay
Headlamp Switch, Park Lamp Relay
Class 2 Serial Data (2 of 3)
Class 2 Serial Data (1 of 3)
Fasten Seat Belt Switch and Indicator