GM Service Manual Online
For 1990-2009 cars only
Makes
🢒
Cadillac
🢒
2002
🢒
DeVille
🢒 Memory Function Switch
Memory Function Switch
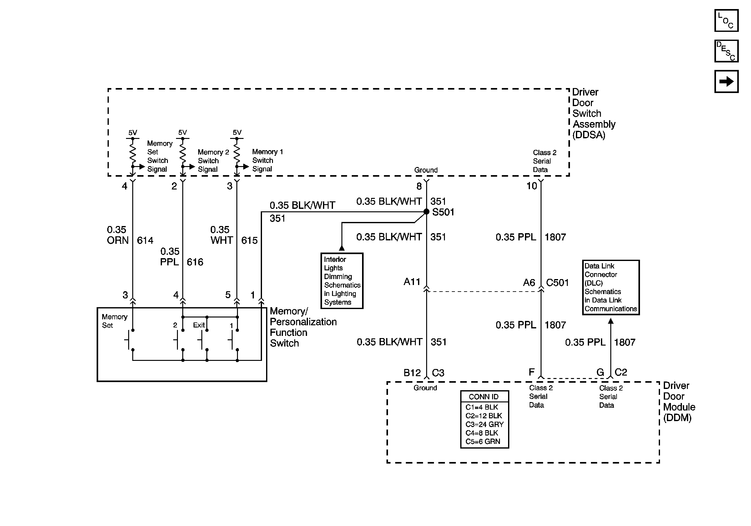
Memory/Personalization Function Switch
Master Electrical Component List
Memory Seats Description and Operation
Left Seat Switch, MSM, Power Ground (w/A45/AL2)
Class 2 Serial Data (3 of 3)