GM Service Manual Online
For 1990-2009 cars only

Radio/Audio System Schematics w/ U1R

Figure 1:

Power and Ground


Object Number: 799495  Size: FS
Master Electrical Component List
Radio/Audio System Description and Operation
Remote Playback Device - CD Changer
Vehicle Communication Interface Module, Microphone and Audio Amplifier
Rear Fuse Block- DIMR, S-DAR, and AUDIO Fuses
Power and Ground (w/U3R)
Remote Playback Device - CD Changer
Instrument Panel Dimming
G201 (2 of 3)
G201 (2 of 3)
Class 2 Serial Data (1 of 3)
Class 2 Serial Data (3 of 3)
G301
G301
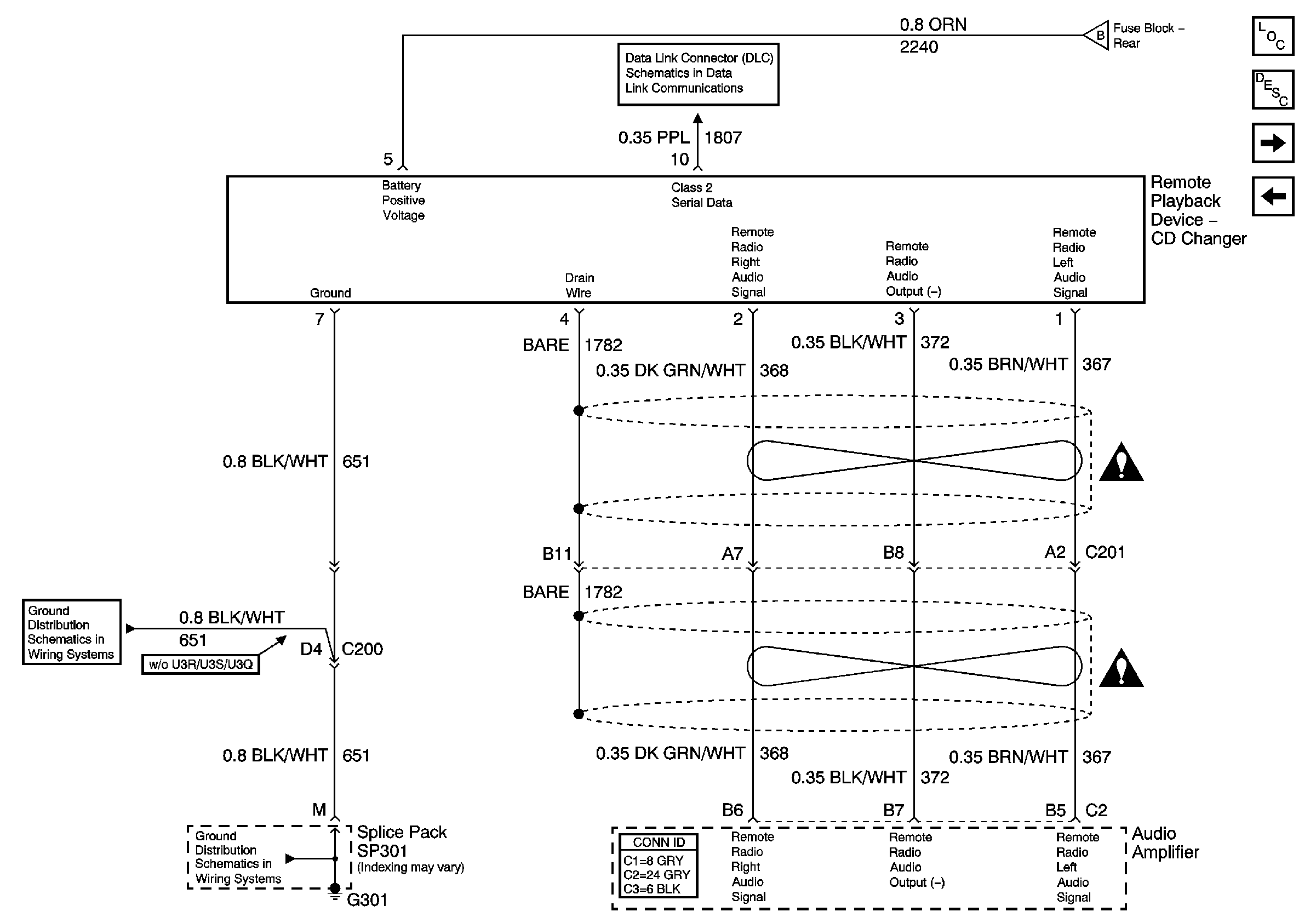
Figure 2:

Remote Playback Device CD Changer


Object Number: 799507  Size: FS
Master Electrical Component List
Radio/Audio System Description and Operation
Audio Amplifier
Power and Ground
Power and Ground
Entertainment Schematic Icons
Entertainment Schematic Icons
G301
G301
Class 2 Serial Data (1 of 3)
Figure 3:

Audio Amplifer


Object Number: 799509  Size: FS
Master Electrical Component List
Radio/Audio System Description and Operation
Front Speakers
Remote Playback Device - CD Changer
Entertainment Schematic Icons
Entertainment Schematic Icons
Entertainment Schematic Icons
Entertainment Schematic Icons
Entertainment Schematic Icons
Entertainment Schematic Icons
Figure 4:

Front Speakers


Object Number: 799511  Size: FS
Master Electrical Component List
Radio/Audio System Description and Operation
Rear Speakers
Audio Amplifier
Entertainment Schematic Icons
Entertainment Schematic Icons
Entertainment Schematic Icons
Entertainment Schematic Icons
Entertainment Schematic Icons
Entertainment Schematic Icons
Entertainment Schematic Icons
Figure 5:

Rear Speakers


Object Number: 799514  Size: FS
Master Electrical Component List
Radio/Audio System Description and Operation
Front Speakers
Entertainment Schematic Icons
Entertainment Schematic Icons
Entertainment Schematic Icons
Entertainment Schematic Icons
Entertainment Schematic Icons
Entertainment Schematic Icons
Entertainment Schematic Icons
Entertainment Schematic Icons

Radio/Audio System Schematics w/ UM5

Figure 1:

Power and Ground (w/U3R)


Object Number: 799522  Size: FS
Master Electrical Component List
Radio/Audio System Description and Operation
Digital Radio Receiver (w/U2K)
Rear Speakers
Rear Fuse Block- DIMR, S-DAR, and AUDIO Fuses
Remote Playback Device- CD Changer (w/o U2K)
Microphone, Audio Amplifier and Antennas
Rear Fuse Block- NAV Fuse and PWR SEAT Circuit Breaker
Gages
Class 2 Serial Data (1 of 3)
Class 2 Serial Data (3 of 3)
G201 (2 of 3)
G301
G301
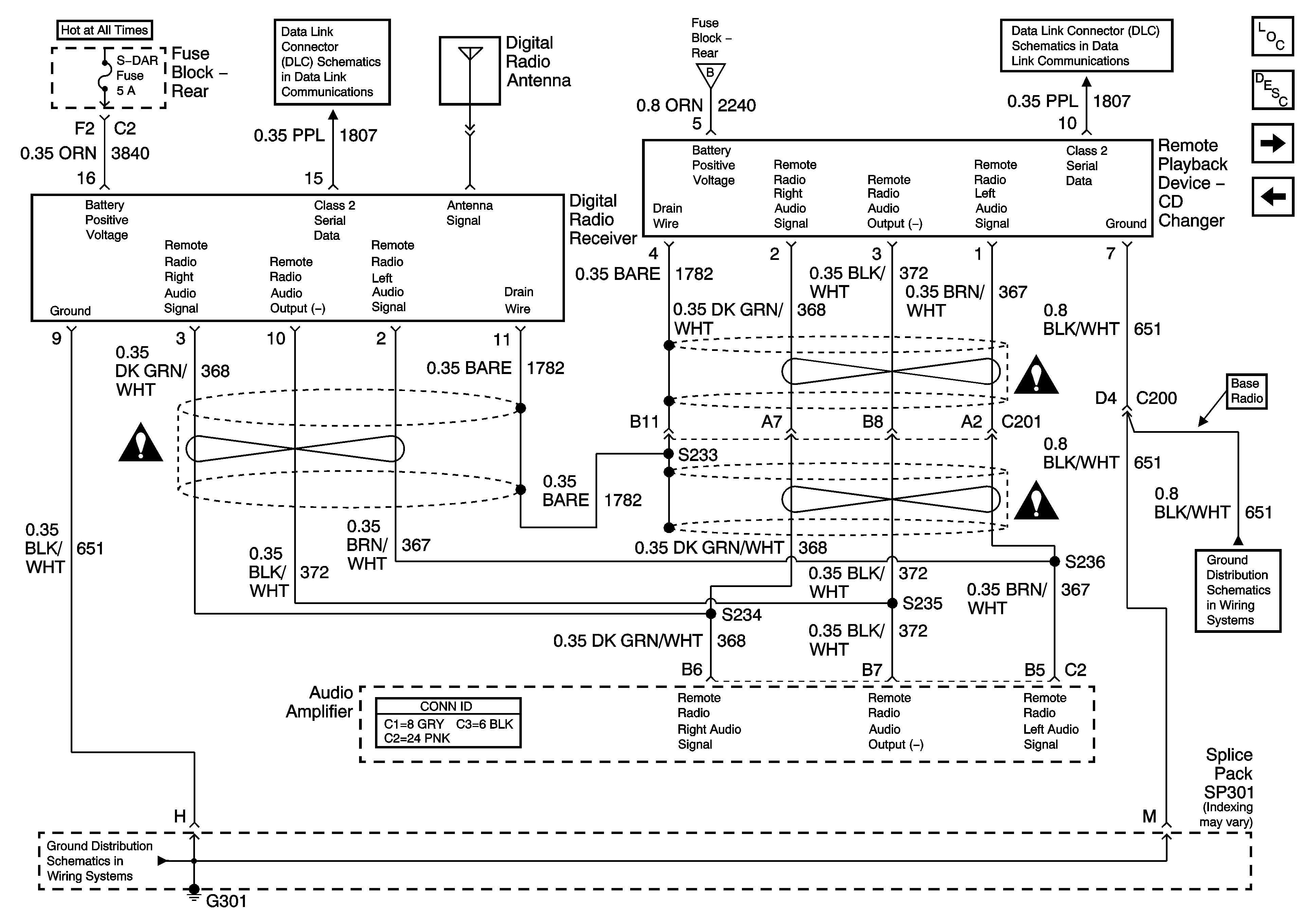
Figure 2:

Digital Radio Receiver Antenna (w/U2K)


Object Number: 799528  Size: FS
Master Electrical Component List
Radio/Audio System Description and Operation
Remote Playback Device- CD Changer (w/o U2K)
Power and Ground (w/U3R)
Class 2 Serial Data (1 of 3)
Rear Fuse Block- DIMR, S-DAR, and AUDIO Fuses
Class 2 Serial Data (3 of 3)
Rear Fuse Block- DIMR, S-DAR, and AUDIO Fuses
Entertainment Schematic Icons
Entertainment Schematic Icons
Entertainment Schematic Icons
G301
G301
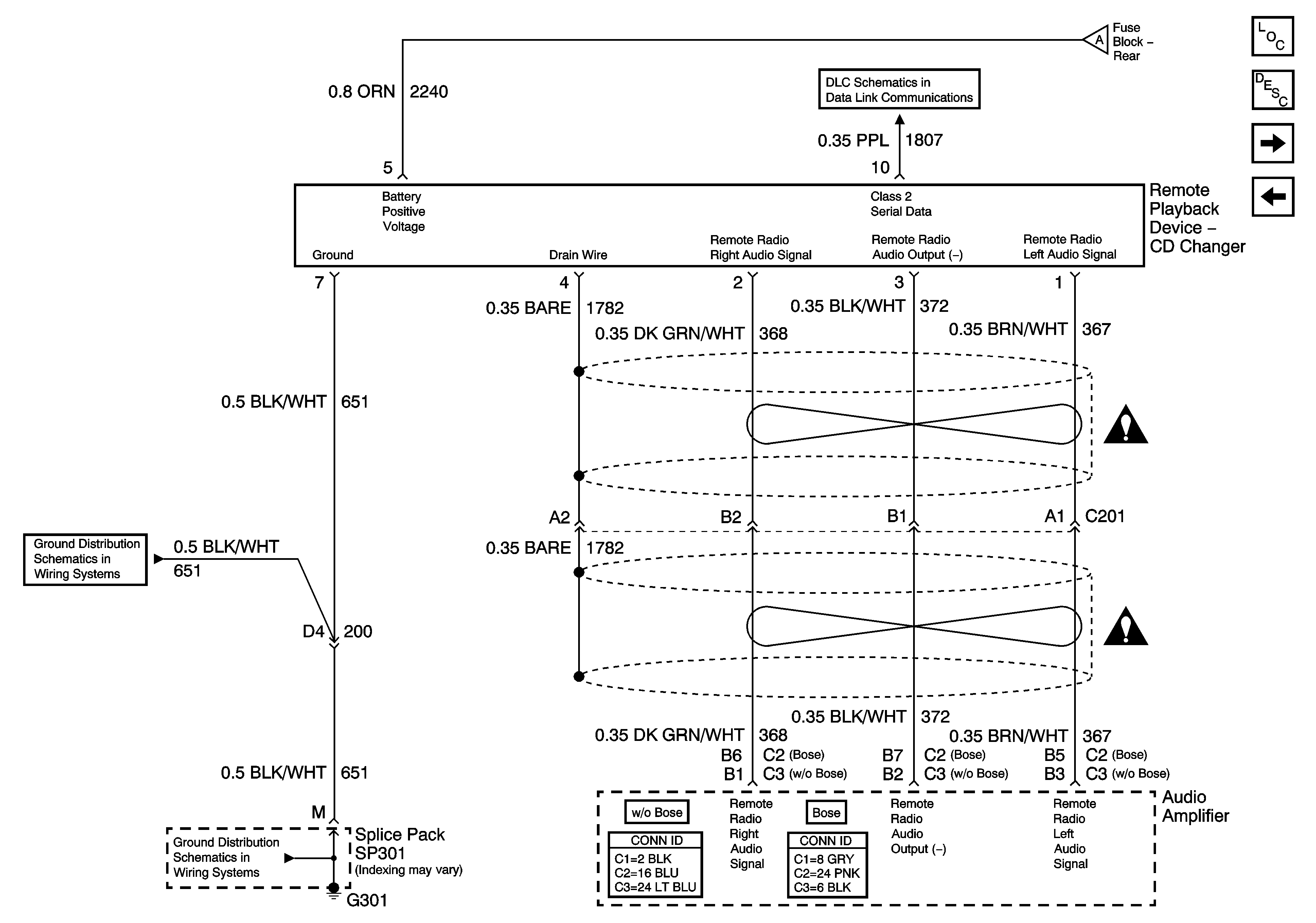
Figure 3:

Remote Playback Device -- CD Changer (w/o U2K)


Object Number: 799530  Size: FS
Master Electrical Component List
Radio/Audio System Description and Operation
Audio Amplifier
Digital Radio Receiver (w/U2K)
Power and Ground (w/U3R)
Class 2 Serial Data (1 of 3)
G301
G301
Entertainment Schematic Icons
Entertainment Schematic Icons
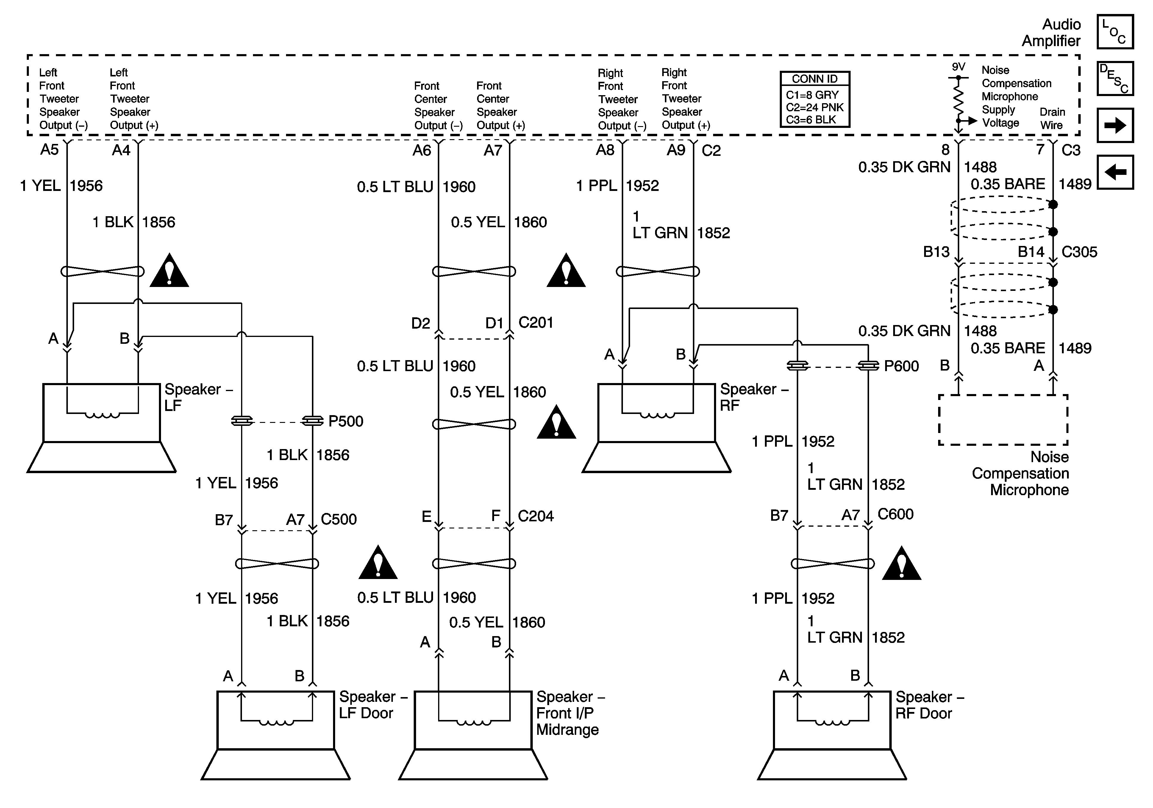
Figure 4:

Audio Amplifier


Object Number: 799533  Size: FS
Master Electrical Component List
Radio/Audio System Description and Operation
Front Speakers
Remote Playback Device- CD Changer (w/o U2K)
Entertainment Schematic Icons
Entertainment Schematic Icons
Entertainment Schematic Icons
Entertainment Schematic Icons
Entertainment Schematic Icons
Entertainment Schematic Icons
Figure 5:

Front Speakers


Object Number: 799534  Size: FS
Master Electrical Component List
Radio/Audio System Description and Operation
Rear Speakers
Digital Radio Receiver (w/U2K)
Entertainment Schematic Icons
Entertainment Schematic Icons
Entertainment Schematic Icons
Entertainment Schematic Icons
Entertainment Schematic Icons
Figure 6:

Rear Speakers


Object Number: 799535  Size: FS
Master Electrical Component List
Radio/Audio System Description and Operation
Front Speakers
Entertainment Schematic Icons
Entertainment Schematic Icons
Entertainment Schematic Icons
Entertainment Schematic Icons
Entertainment Schematic Icons
Entertainment Schematic Icons
Entertainment Schematic Icons
Entertainment Schematic Icons
G301
G301