GM Service Manual Online
For 1990-2009 cars only

Removal Procedure

    Caution: Refer to Express Window Down Caution in the Preface section.

    Important: This vehicle is equipped with express up, torque sensitive window on the front door windows.

    When the battery or the power has been removed from the front door module, the front door module will need to be reprogrammed after power is restored and all repairs are completed.

  1. Remove the door trim panel. Refer to Front Side Door Trim Panel Replacement .
  2. Remove the door module. Refer to Door Control Module Replacement .
  3. Remove the water deflector. Refer to Front Side Door Water Deflector Replacement .

  4. Object Number: 579715  Size: SH
  5. Remove the inside handle assembly (4) in order to gain access to the window clamp attachment bolts:
  6. 4.1. Carefully pry the front of the assembly (4) rearward.
    4.2. Pull the front of the assembly (4) outward.
    4.3. Slide the assembly (4) rearward to remove.
  7. Disconnect the handle rod (3) from the clip guide (2).
  8. Caution: Refer to Express Window Down Caution in the Preface section.

  9. Reconnect the power window switch and module.
  10. Raise the window to the full up position.
  11. Tape the window in place.
  12. Caution: When working with any type of glass or sheet metal with exposed or rough edges, wear approved safety glasses and gloves in order to reduce the chance of personal injury.


    Object Number: 524074  Size: SH
  13. Loosen the window clamp attachment fasteners.
  14. Lower the regulator clamps (2) to the full down position.

  15. Object Number: 524065  Size: SH
  16. Disconnect the electrical connector from the window regulator motor.
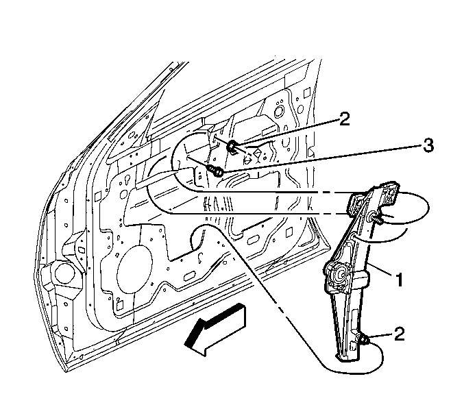
  17. Remove the window regulator to inner door panel fasteners (2, 3).
  18. Remove the window regulator (1) from the inner door panel.

Installation Procedure


    Object Number: 524065  Size: SH
  1. Install the window regulator (1) through the access hole of the inner door panel.
  2. Notice: Use the correct fastener in the correct location. Replacement fasteners must be the correct part number for that application. Fasteners requiring replacement or fasteners requiring the use of thread locking compound or sealant are identified in the service procedure. Do not use paints, lubricants, or corrosion inhibitors on fasteners or fastener joint surfaces unless specified. These coatings affect fastener torque and joint clamping force and may damage the fastener. Use the correct tightening sequence and specifications when installing fasteners in order to avoid damage to parts and systems.

  3. Install the window regulator fasteners (2, 3).
  4. Tighten
    Tighten the fasteners to 9 N·m (80 lb in).

  5. Connect the electrical connector to the window regulator motor.

  6. Object Number: 524074  Size: SH

    Important: Ensure that the rubber insulators are properly attached to the window regulator clamps.

  7. Carefully raise the window regulator clamps (2) to the full up position, engaging the window (1).
  8. Remove the tape from the window.
  9. Complete the following to properly position the window:
  10. 6.1. Lower the window approximately two inches.
    6.2. Seat the window fully rearward against the center pillar.
    6.3. Adjust the window forward 2-3 mm (5/64-1/8 in).
    6.4. Set the glass with the clamp fasteners.

    Tighten
    Tighten the window clamp fasteners to 10.5 N·m (93 lb in).

  11. Disconnect the power window switch and module.

  12. Object Number: 579715  Size: SH
  13. Position the rear of the inside handle assembly (4) into the opening of the inner panel.
  14. Press the front of the assembly (4) inward until it fully engages the inner panel.
  15. Connect the handle rod (3) to the clip guide (2).
  16. Install the water deflector. Refer to Front Side Door Water Deflector Replacement .
  17. Install the door module. Refer to Door Control Module Replacement .
  18. Install the door trim panel. Refer to Front Side Door Trim Panel Replacement .
  19. Reprogram the front door module. Refer to Window Motor Programming - Express Function .