GM Service Manual Online
For 1990-2009 cars only
Makes
🢒
Cadillac
🢒
2004
🢒
DeVille
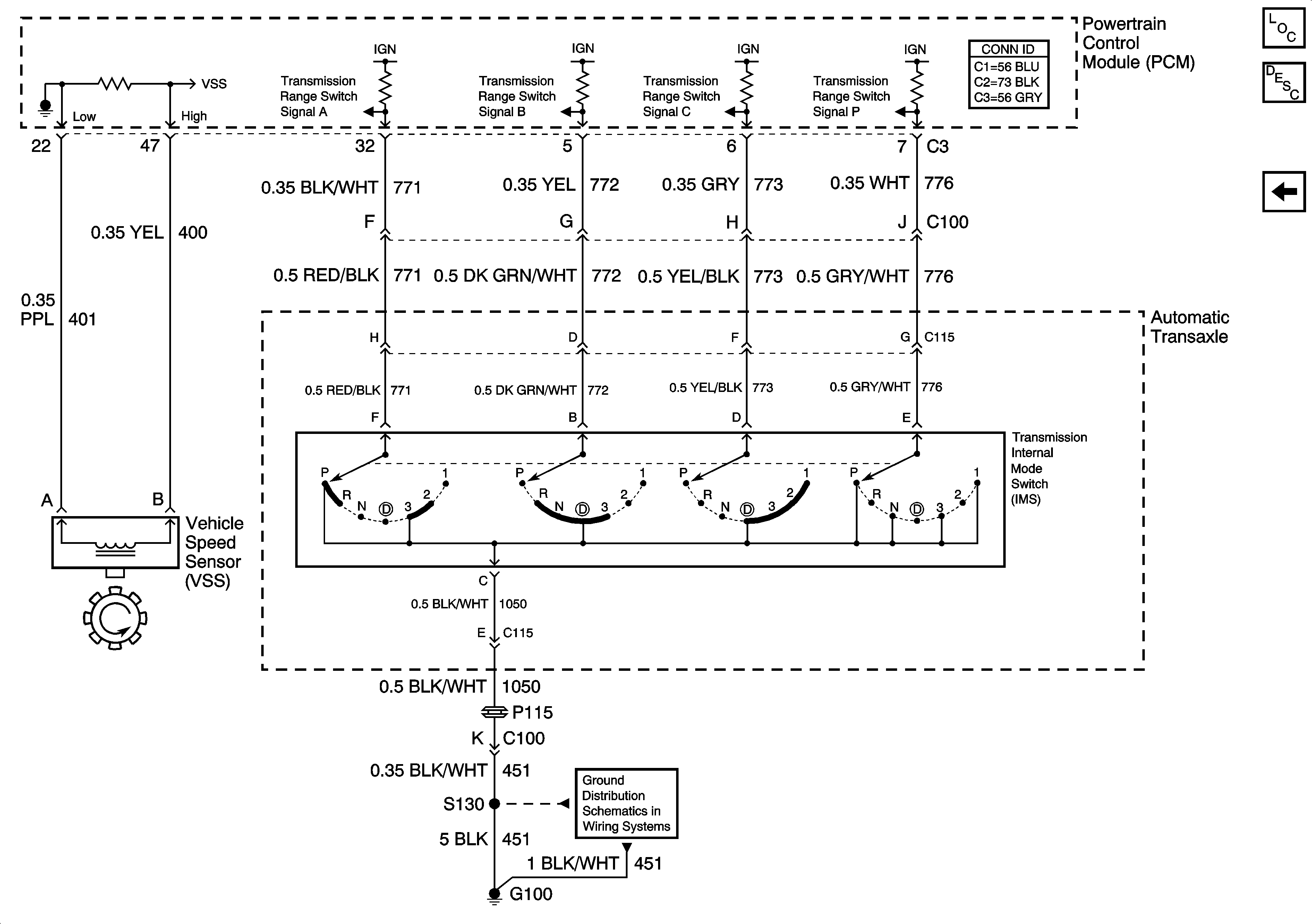
🢒 Internal Mode Switch and VSS
Internal Mode Switch and VSS
Transmission Internal Mode Switch (IMS) and VSS
Master Electrical Component List
Transmission General Description
Sensors
G100