GM Service Manual Online
For 1990-2009 cars only
Makes
🢒
Cadillac
🢒
2004
🢒
DeVille
🢒 Column/Ignition Lock Schematics
Column/Ignition Lock Schematics
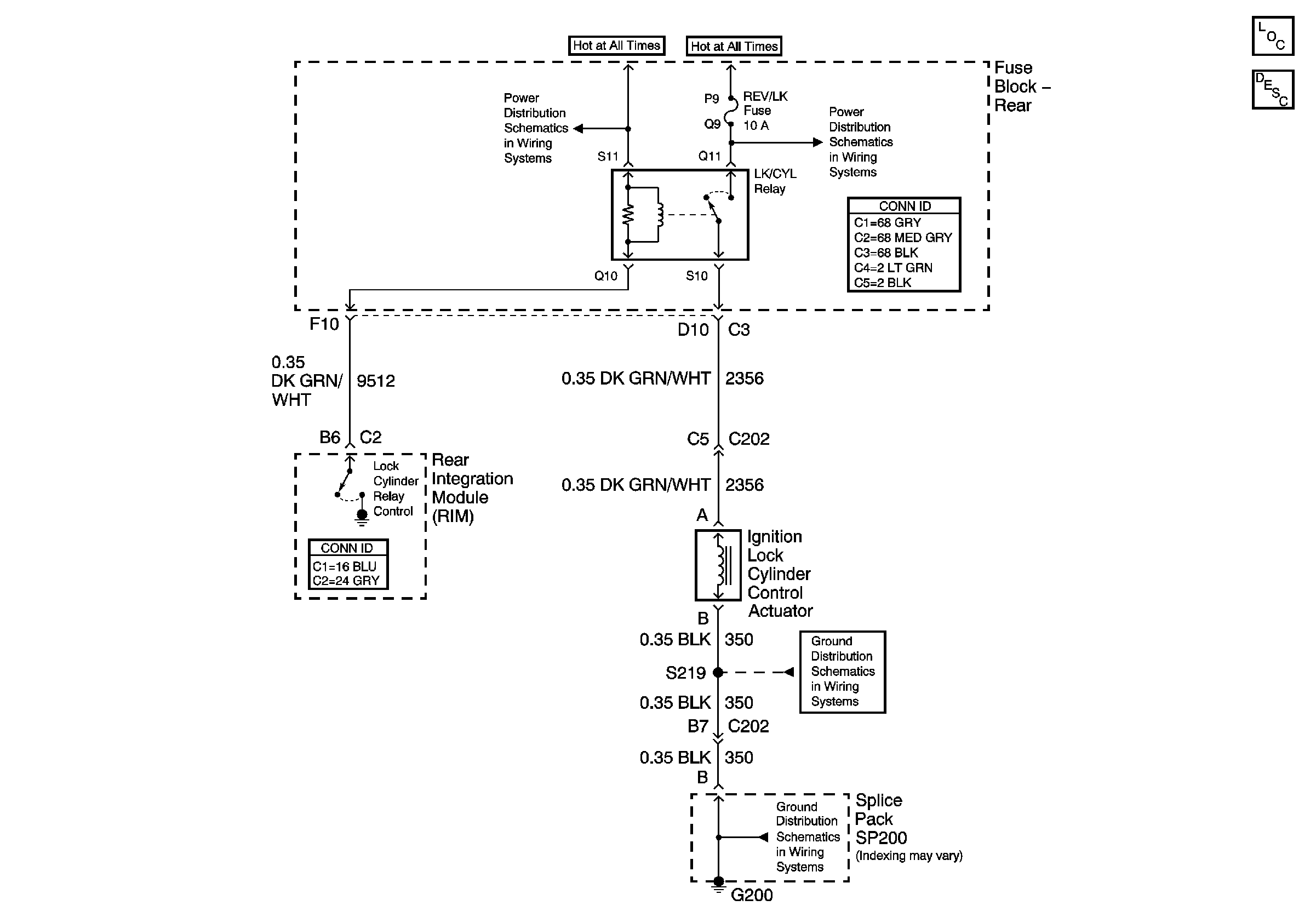
Ignition Lock Cylinder Control Actuator (w/Console)
Master Electrical Component List
Steering Wheel and Column Description and Operation
G200
G200
Rear Fuse Block Battery Voltage
Rear Fuse Block Battery Voltage