GM Service Manual Online
For 1990-2009 cars only
Makes
🢒
Cadillac
🢒
2004
🢒
DeVille
🢒 Power Seat
Power Seat
Power Seat
Master Electrical Component List
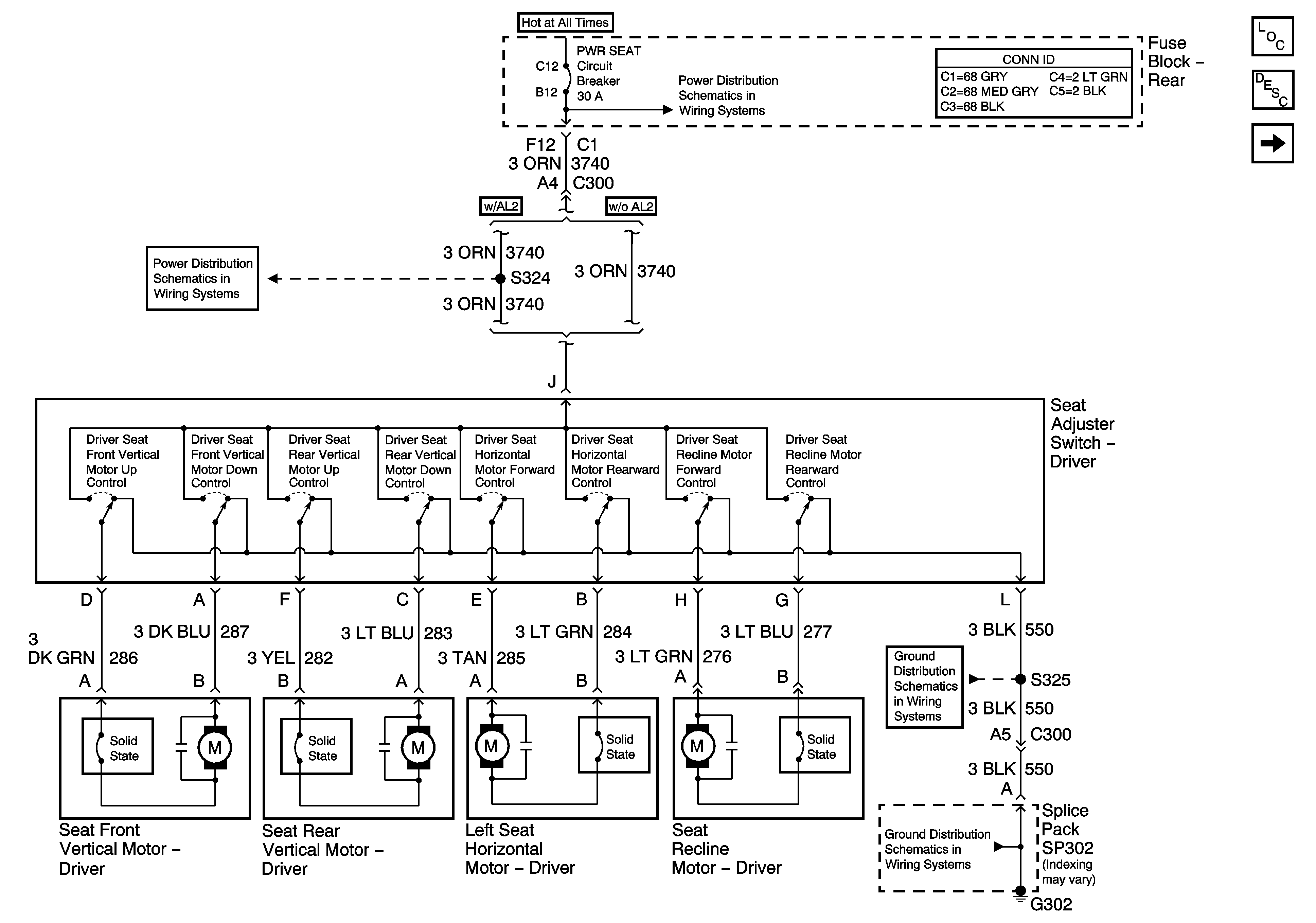
Power Seats System Description and Operation
Power Lumbar Seat
Rear Fuse Block- NAV Fuse and PWR SEAT Circuit Breaker
G302 (2 of 3)
G302 (2 of 3)