GM Service Manual Online
For 1990-2009 cars only

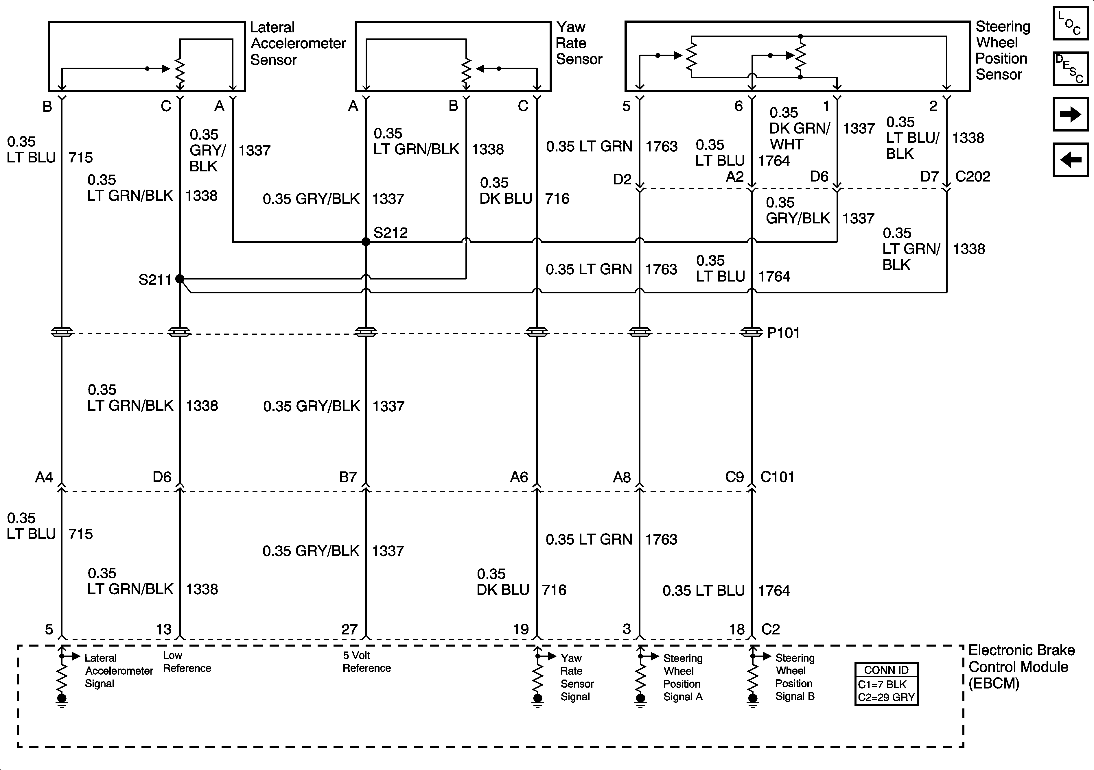
Vehicle Stability Enhancement System (JL4)

Vehicle Stability Enhancement System (JL4)


Object Number: 1413925  Size: FS
Master Electrical Component List
ABS Description and Operation
Subsystem References and Serial Data
Wheel Speed Sensors