GM Service Manual Online
For 1990-2009 cars only
Makes
🢒
Cadillac
🢒
2005
🢒
DeVille
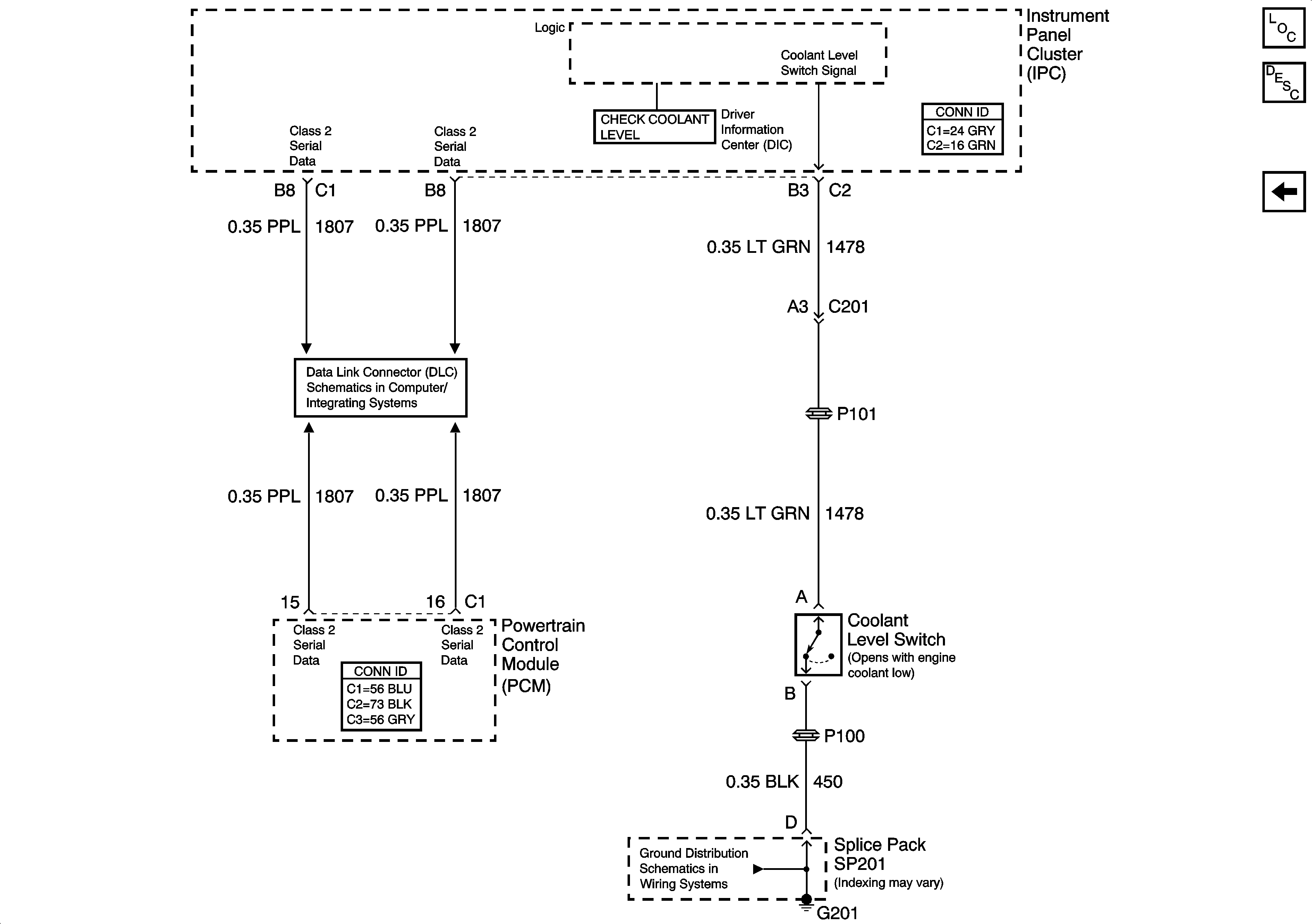
🢒 Coolant Level Switch
Coolant Level Switch
Coolant Level Switch
Master Electrical Component List
Cooling System Description and Operation
Cooling Fans
Class 2 Serial Data (1 of 3)
G201 - 1 of 3