GM Service Manual Online
For 1990-2009 cars only
Makes
🢒
Cadillac
🢒
2005
🢒
DeVille
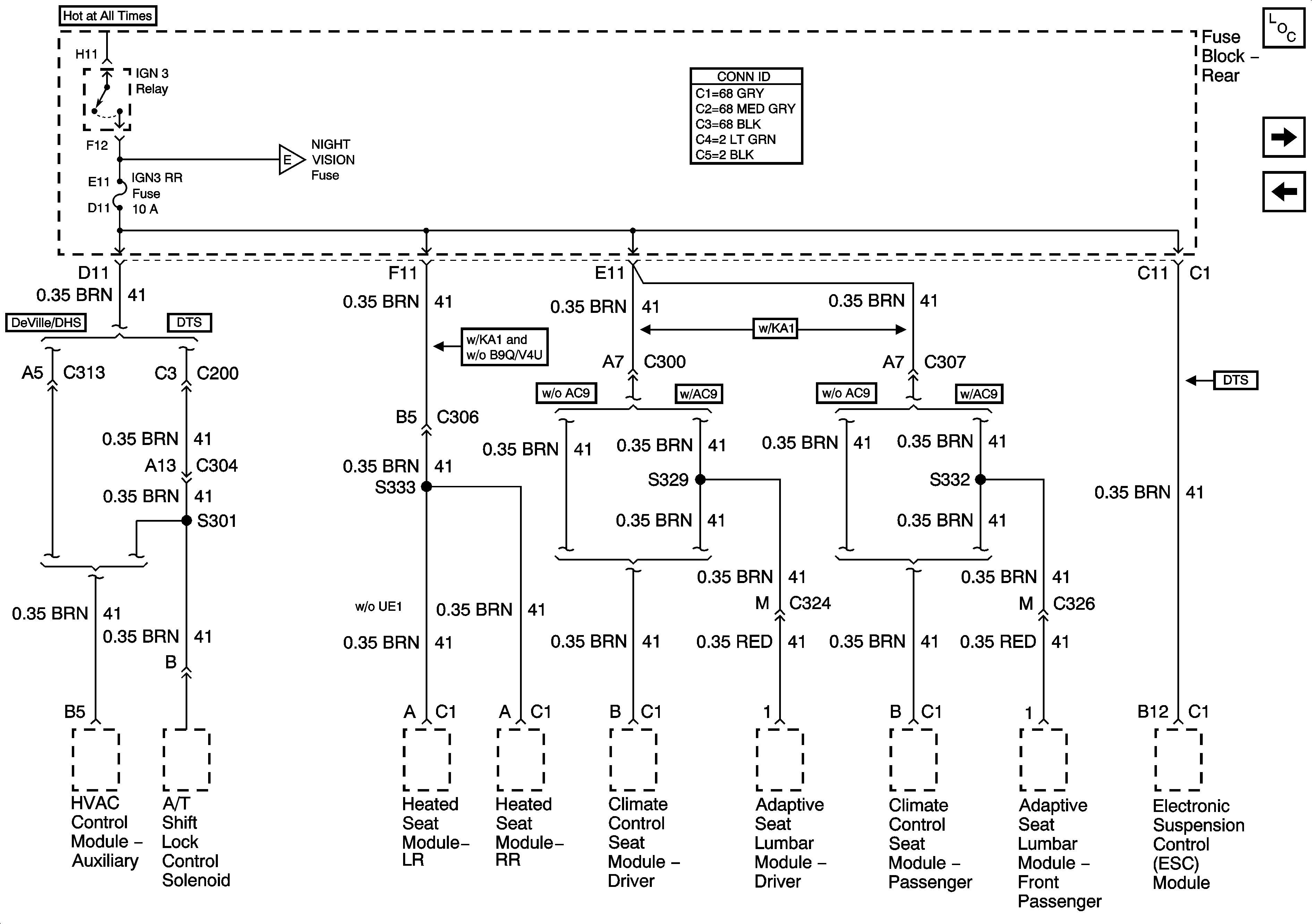
🢒 IGN 3 Relay and IGN 3 RR Fuse
IGN 3 Relay and IGN 3 RR Fuse
IGN 3 RR Fuse and IGN 3 Relay
Master Electrical Component List
ELC, NIGHT VISION, HVAC, and ABS Fuses and ELC Relay
MEM TT, RRLUM/PWR ANT, and HTDST LF Fuses
ELC, NIGHT VISION, HVAC, and ABS Fuses and ELC Relay