GM Service Manual Online
For 1990-2009 cars only
Makes
🢒
Cadillac
🢒
2005
🢒
DeVille
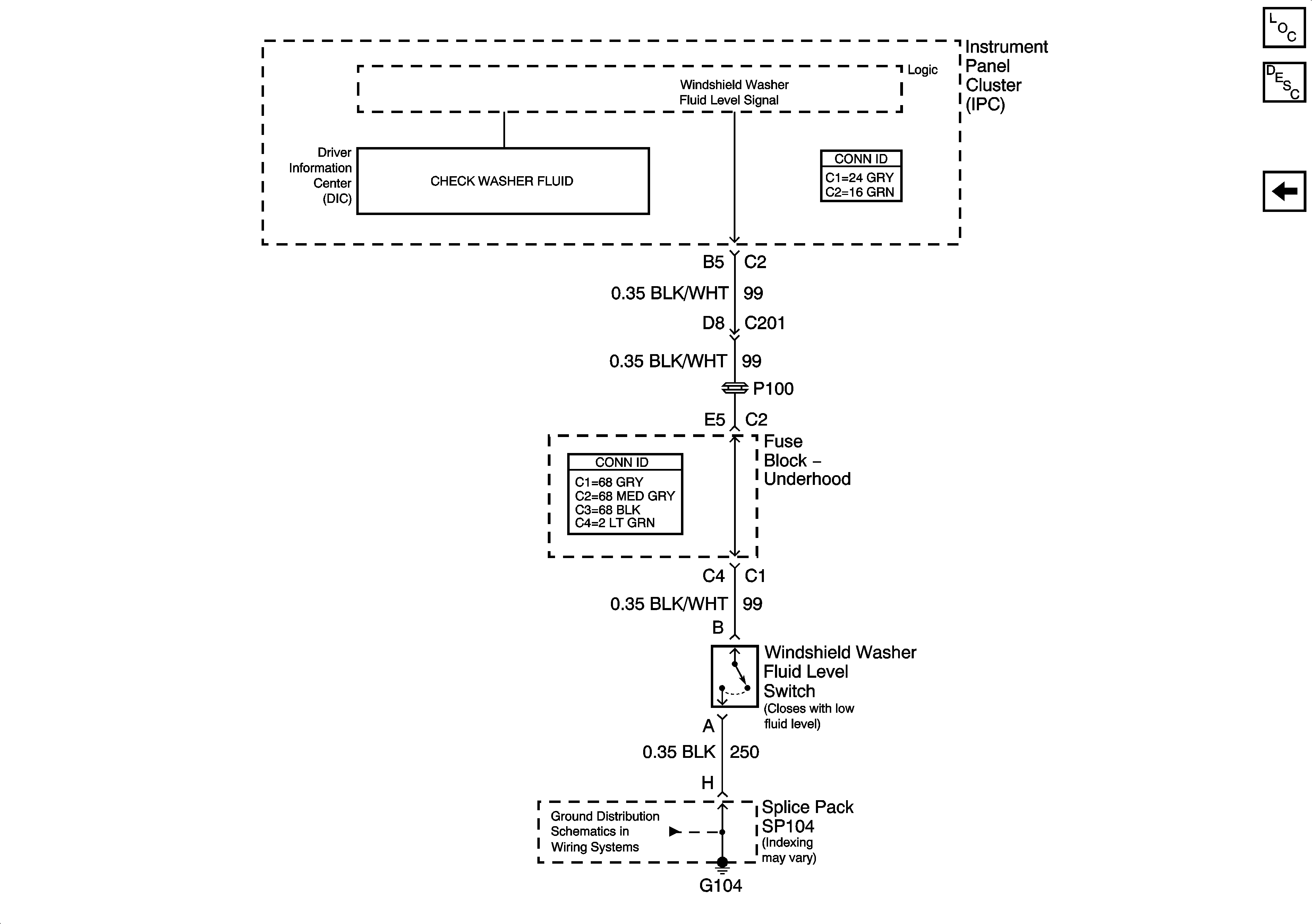
🢒 Windshield Washer Fluid Level Switch
Windshield Washer Fluid Level Switch
Windshield Washer Fluid Level Switch
Master Electrical Component List
Wiper/Washer System Description and Operation
Outside Moisture Sensor
G104