GM Service Manual Online
For 1990-2009 cars only
Makes
🢒
Cadillac
🢒
2005
🢒
DeVille
🢒 Power Lumbar Seat
Power Lumbar Seat
Power Lumbar Seat
Master Electrical Component List
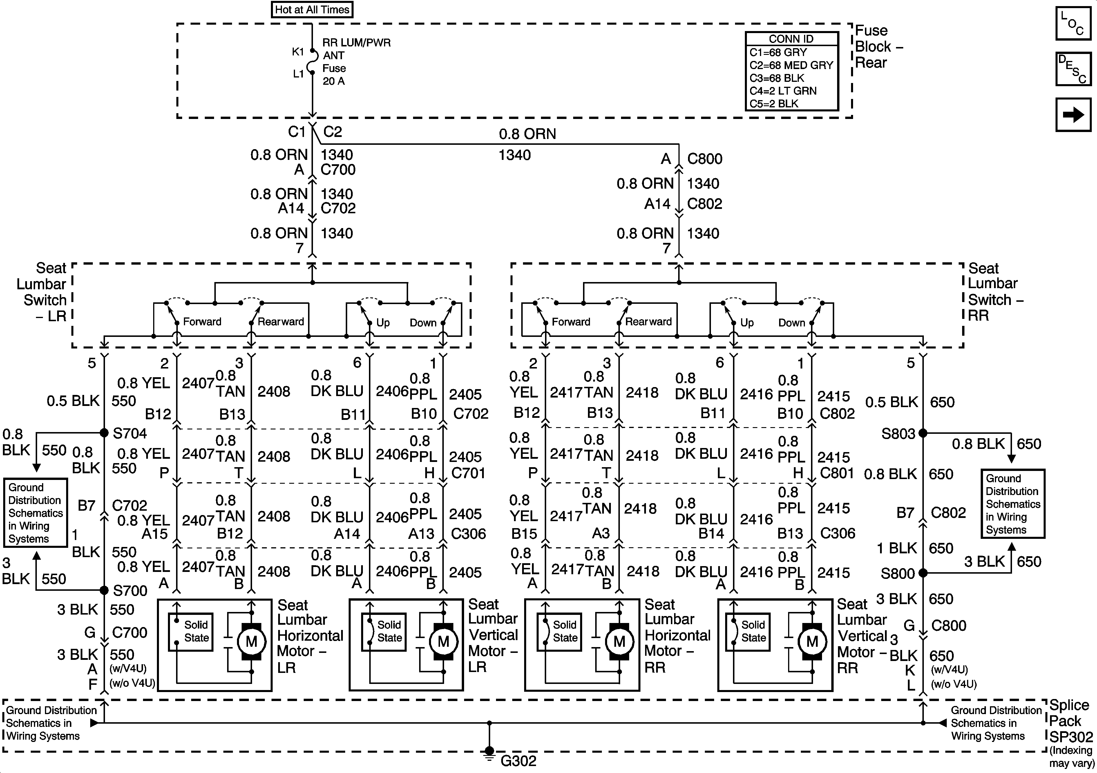
Lumbar Support Description and Operation w/o Memory-A45
Left Rear Heated Seat Switch (KA1)
G302 - 3 of 3
G302 - 3 of 3
G302 - 1 of 3
G302 - 1 of 3