GM Service Manual Online
For 1990-2009 cars only
Makes
🢒
Cadillac
🢒
2005
🢒
DeVille
🢒 Seat Belt schematics
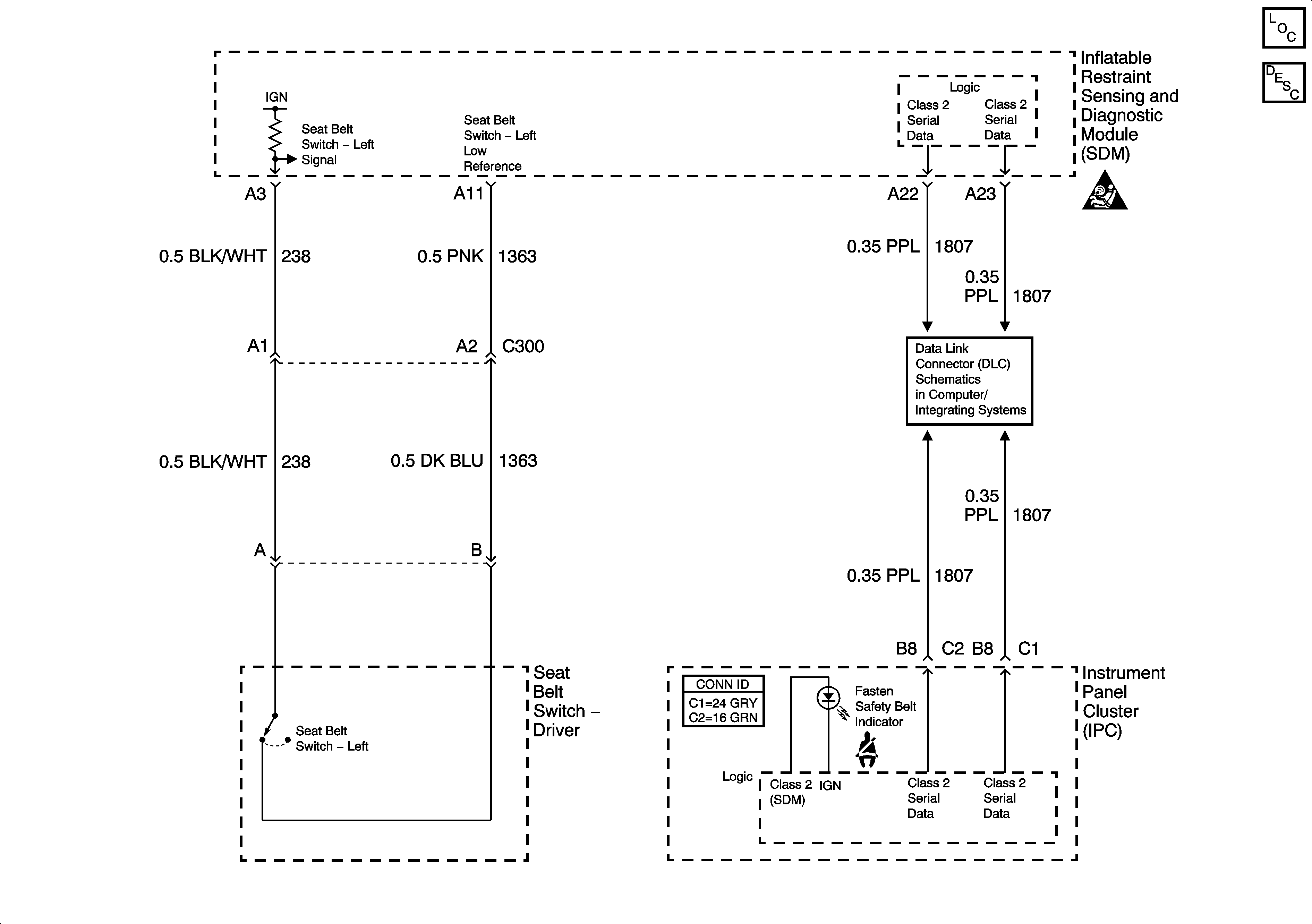
Seat Belt schematics
Master Electrical Component List
Seat Belt System Description and Operation
Class 2 Serial Data (1 of 3)
SIR Handling Caution