GM Service Manual Online
For 1990-2009 cars only

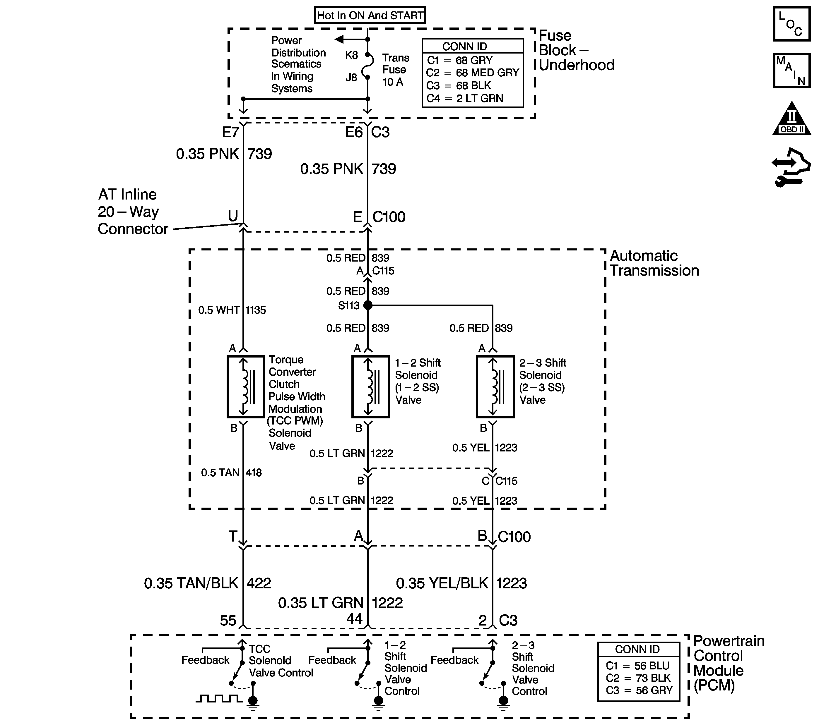
Object Number: 1492408  Size: LF
Master Electrical Component List
Automatic Transmission Controls Schematics
OBD II Symbol Description Notice
Control Module References

Circuit Description

The ignition voltage is provided to the torque converter clutch pulse width modulated (TCC PWM) solenoid valve. The powertrain control module (PCM) controls the ON and OFF time of the TCC PWM solenoid by controlling the ground side of the TCC solenoid valve control circuit. The PCM uses a PWM duty cycle, in order to control application and release of the TCC. When the solenoid is commanded OFF, the PCM senses high voltage. When the solenoid is commanded ON, the PCM senses low voltage.

When the PCM detects a short to voltage in the TCC Solenoid valve control circuit, then DTC P2763 sets. DTC P2763 is a type B DTC.

DTC Descriptor

This diagnostic procedure supports the following DTC:

DTC P2763 Torque Converter Clutch (TCC) Pressure Control (PC) Solenoid Control Circuit High Voltage

Conditions for Running the DTC

    • The engine run time is greater than 5 seconds.
    • TCC PWM solenoid valve duty cycle is less than or equal to 0 percent.

Conditions for Setting the DTC

DTC P2763 sets when the PCM detects a short to voltage in the TCC PWM solenoid valve circuit.

Action Taken When the DTC Sets

    • The PCM illuminates the malfunction indicator lamp (MIL) during the second consecutive trip in which the Conditions for Setting the DTC are met.
    • The PCM commands maximum line pressure.
    • The PCM inhibits fourth gear if the transmission is in Hot Mode.
    • The PCM freezes transmission adaptive function.
    • The PCM records the operating conditions when the Conditions for Setting the DTC are met. The PCM stores this information as Freeze Frame and Failure Records.
    • The PCM stores DTC P2763 in PCM history.

Conditions for Clearing the MIL/DTC

    • A scan tool can clear the MIL/DTC.
    • The PCM clears the DTC from PCM history if the vehicle completes 40 warm-up cycles without an emission related diagnostic fault occurring.
    • The PCM cancels the default actions when the ignition is OFF long enough in order to power down the PCM.

Test Description

The number below refers to the step number on the diagnostic table.

  1. This step tests the PCM and the wiring to the transmission.

  2. This step verifies that the circuit has the correct resistance.

DTC P2763

Step

Action

Values

Yes

No

1

Did you perform the Diagnostic System Check - Vehicle?

--

Go to Step 2

Go to Diagnostic System Check - Vehicle in Vehicle DTC Information

2

  1. Install a scan tool.
  2. Turn ON the ignition with the engine OFF.
  3. Important: Before clearing the DTC, use the scan tool in order to record the PCM Freeze Frame and the Failure Records. Using the Clear Info function erases the Freeze Frame and Failure Records from the PCM.

  4. Record the DTC Freeze Frame and Failure Records.
  5. Clear the DTC.
  6. Select TCC Duty Cycle Short to Volts parameter on the scan tool.
  7. Drive the vehicle in D4.

When TCC is commanded, does the scan tool display indicate a short to voltage?

--

Go to Step 3

Go to Intermittent Conditions in Engine Controls

3

  1. Turn OFF the ignition.
  2. Disconnect the AT inline 20-way connector. Additional DTCs may set.
  3. Install the J 44152 Jumper Harness on the engine side of the AT inline 20-way connector.
  4. Using the J 35616 GM Terminal Test Kit, connect a test lamp between terminal T of the J 44152 and ground.
  5. Refer to Automatic Transmission Inline 20-Way Connector End View .

  6. Turn ON the ignition, with the engine OFF.

Is the test lamp ON?

--

Go to Step 4

Go to Step 5

4

Test the control circuit of the TCC PWM solenoid valve for a short to voltage between the PCM connector C3 and the AT inline 20-way connector.

Refer to Testing for a Short to Voltage and Wiring Repairs in Wiring Systems.

Did you find and correct the condition?

--

Go to Step 11

Go to Step 10

5

  1. Turn OFF the ignition.
  2. Disconnect the J 44152 from the engine side of the AT inline 20-way connector.
  3. Install the J 44152 on the transmission side of the AT inline 20-way connector.
  4. Using the DMM and the J 35616 , measure the resistance between terminals U and T of the J 44152 .
  5. Refer to Automatic Transmission Inline 20-Way Connector End View .

Does the resistance measure within the specified range?

10-25 ohms

Go to Step 7

Go to Step 6

6

  1. Leave the DMM test leads connected.
  2. Disconnect the TCC PWM solenoid valve from the automatic transmission wiring harness.

Does the resistance measure less than the specified value?

250 K ohms

Go to Step 8

Go to Step 9

7

Measure the resistance between terminal T and all other terminals, except terminal U, of the J 44152 .

Refer to Automatic Transmission Inline 20-Way Connector End View .

Is the resistance between terminal T and any other terminal, except terminal U, less than the specified value?

250 K ohms

Go to Step 8

Go to Intermittent Conditions in Engine Controls

8

Important: The automatic transmission wiring harness consists of 2 separate harnesses, the Automatic Transmission Wiring Harness Assembly and the Automatic Transmission Wiring Extension Harness Assembly. In order to avoid the unnecessary replacement of parts, determine which harness contains the fault and replace only that harness.

Replace the automatic transmission wiring harness.

Refer to Input Speed Sensor and Wiring Harness Removal in the 4T80-E section of the Transmission Unit Repair Manual.

Did you complete the replacement?

--

Go to Step 11

--

9

Replace the TCC PWM solenoid valve.

Refer to Control Valve Upper Body Disassemble in the 4T80-E section of the Transmission Unit Repair Manual.

Did you complete the replacement?

--

Go to Step 11

--

10

Replace the PCM.

Refer to Control Module References in Computer/Integrating Systems.

Did you complete the replacement?

--

Go to Step 11

--

11

Perform the following procedure in order to verify the repair:

  1. Select DTC.
  2. Select Clear Info.
  3. Operate the vehicle under the following conditions:
  4. • Drive the vehicle in D4.
    • Allow the transmission to obtain a 3-4 upshift.
  5. Select Specific DTC.
  6. Enter DTC P2763.

Has the test run and passed?

--

Go to Step 12

Go to Step 2

12

With the scan tool, observe the stored information, capture info and DTC info.

Does the scan tool display any DTCs that you have not diagnosed?

--

Go to Diagnostic Trouble Code (DTC) List - Vehicle in Vehicle DTC Information

System OK