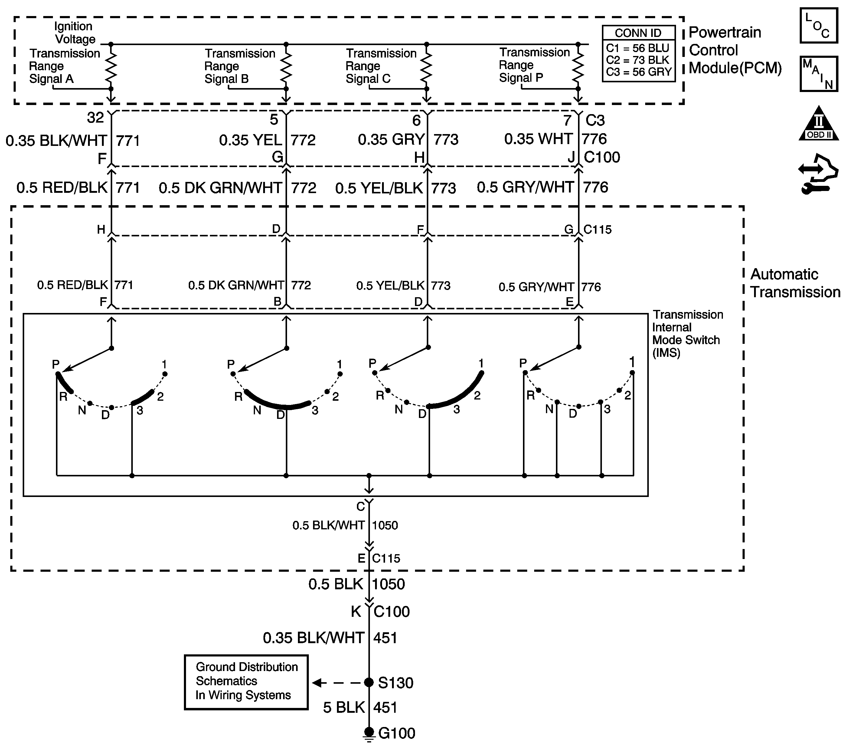
The transmission internal mode switch (IMS) is a sliding contact switch attached to the lower control valve body, within the transmission. The manual valve link assembly then connects the IMS to the manual valve. The 4 inputs to the powertrain control module (PCM) from the IMS indicate which position is selected by the transmission selector lever. This information is used for engine controls as well as determining the transmission shift patterns. The input voltage level at the PCM is high, ignition voltage, when the IMS is open and low when the switch is closed to ground. The state of each input is available for display on the scan tool. The four input parameters represented are Signal A, Signal B, Signal C and Signal P, Parity.
If the PCM detects an IMS transitional state between NEUTRAL and D4 while the vehicle is in motion, then DTC P1823 sets. DTC P1823 is a type B DTC.
This diagnostic procedure supports the following DTC:
DTC P1823 Internal Mode Switch P Circuit Low Voltage
| • | No MAF DTCs P0101, P0102 or P0103. |
| • | No MAP DTCs P0106, P0107 or P0108. |
| • | The engine run time is greater than 5 seconds. |
| • | The engine torque is 40-200 N·m (30-148 lb ft). |
| • | The IMS indicates PARK for 2 seconds, then; |
| • | The IMS indicates a transitional state between NEUTRAL and D4 for 5 seconds. |
| • | The PCM illuminates the malfunction indicator lamp (MIL) during the second consecutive trip in which the Conditions for Setting the DTC are met. |
| • | The PCM commands maximum line pressure. |
| • | The PCM assumes a D4 shift pattern. |
| • | The PCM freezes transmission adaptive functions. |
| • | The PCM records the operating conditions when the Conditions for Setting the DTC are met. The PCM stores this information as Freeze Frame and Failure Records. |
| • | The PCM stores DTC P1823 in PCM history during the second consecutive trip in which the Conditions for Setting the DTC are met. |
| • | The PCM turns OFF the MIL during the third consecutive trip in which the diagnostic test runs and passes. |
| • | A scan tool can clear the MIL/DTC. |
| • | The PCM clears the DTC from PCM history if the vehicle completes 40 warm-up cycles without an emission-related diagnostic fault occurring. |
| • | The PCM cancels the DTC default actions when the ignition switch is OFF long enough in order to power down the PCM. |
The numbers below refer to the step numbers on the diagnostic table.
This step determines if the fault is internal or external to the transmission.
This step determines if the engine wiring harness circuit is at fault or the PCM.
This step determines if the automatic transmission wiring harness is at fault or the IMS.
Step | Action | Values | Yes | No | ||||||
|---|---|---|---|---|---|---|---|---|---|---|
1 | Did you perform the Diagnostic System Check - Vehicle? | -- | Go to Step 2 | Go to Diagnostic System Check - Vehicle in Vehicle DTC Information | ||||||
2 |
Important: Before clearing the DTC, use the scan tool in order to record the Freeze Frame and Failure Records. Using the Clear Info function erases the Freeze Frame and Failure Records from the PCM. Does the scan tool IMS display Drive 4? | -- | Go to Intermittent Conditions in Engine Controls | Go to Step 3 | ||||||
Is signal P LOW? | -- | Go to Step 4 | Go to Step 5 | |||||||
Test the signal P circuit of the IMS for a short to ground between the PCM connector C3 and the AT inline 20-way connector. Refer to Testing for Short to Ground and Wiring Repairs in Wiring Systems. Did you find and correct the condition? | -- | Go to Step 9 | Go to Step 8 | |||||||
Is signal P LOW? | -- | Go to Step 6 | Go to Step 7 | |||||||
6 |
Important: The automatic transmission wiring harness consists of 2 separate harnesses, the Automatic Transmission Wiring Harness Assembly and the Automatic Transmission Wiring Extension Harness Assembly. In order to avoid the unnecessary replacement of parts, determine which harness contains the fault and replace only that harness. Replace the automatic transmission wiring harness. Refer to Input Speed Sensor and Wiring Harness Removal in the 4T80-E section of the Transmission Unit Repair Manual. Did you complete the replacement? | -- | Go to Step 9 | -- | ||||||
7 | Replace the transmission internal mode switch. Refer to Control Valve Lower Body Disassemble in the 4T80-E section of the Transmission Unit Repair Manual. Did you complete the replacement? | -- | Go to Step 9 | -- | ||||||
8 | Replace the PCM. Refer to Control Module References in Computer/Integrating Systems. Did you complete the replacement? | -- | Go to Step 9 | -- | ||||||
9 | Perform the following procedure in order to verify the repair:
Has the test run and passed? | -- | Go to Step 10 | Go to Step 2 | ||||||
10 | With the scan tool, observe the stored information, capture info. and DTC info. Does the scan tool display any DTCs that you have not diagnosed? | -- | Go to Diagnostic Trouble Code (DTC) List - Vehicle in Vehicle DTC Information | System OK |