GM Service Manual Online
For 1990-2009 cars only

Door Water Deflector Replacement DeVille

Removal Procedure

Caution: This vehicle is equipped with a Supplemental Inflatable Restraint (SIR) System. Failure to follow the correct procedure could cause the following conditions:

   • Air bag deployment
   • Personal injury
   • Unnecessary SIR system repairs
In order to avoid the above conditions, observe the following guidelines:
   • Refer to SIR Component Views in order to determine if you are performing service on or near the SIR components or the SIR wiring.
   • If you are performing service on or near the SIR components or the SIR wiring, disable the SIR system. Refer to Disabling the SIR System.

Caution: In order to prevent SIR deployment, personal injury, or unnecessary SIR system repairs, do not strike the door or the door pillar in the area of the side impact sensor (SIS). Turn OFF the ignition and remove the key when performing service in the area of the SIS.

  1. Disable the SIR system. Refer to Disabling the SIR System in Restraints.
  2. Remove the door trim panel. Refer to Front Side Door Trim Panel Replacement or Rear Side Door Trim Panel Replacement .

  3. Object Number: 319598  Size: SH
  4. Remove the speaker, if equipped. Refer to Radio Front Side Door Speaker Replacement in Entertainment.
  5. Remove the side door inflatable restraint side impact inflator module (1). Refer to Inflatable Restraint Side Impact Module Replacement - Left Side or Inflatable Restraint Side Impact Module Replacement - Right Side in Restraints.
  6. Remove the inflatable restraint side impact sensing module (SISM). Refer to Inflatable Restraint Side Impact Sensing and Diagnostic Module Replacement - Left Side or Inflatable Restraint Side Impact Sensing and Diagnostic Module Replacement - Right Side in Restraints.
  7. Perform the following steps in order to remove the water deflector (4):
  8. 6.1. Remove the plastic retainers at the upper rear top side of the door.
    6.2. Peel the deflector (4) from the door inner panel.
    6.3. Remove the waterproof tape.

Installation Procedure


    Object Number: 319598  Size: SH
  1. Install the fastener to the upper rear of the water deflector (4). The fastener serves as a guide in order to position the water deflector (1) on the door panel.
  2. Attach the water deflector (4) to the door panel.
  3. Use a waterproof tape in order to secure any loose areas of the water deflector (4).
  4. Install the side door inflatable restraint side impact inflator module (1). Refer to Inflatable Restraint Side Impact Module Replacement - Left Side or Inflatable Restraint Side Impact Module Replacement - Right Side in Restraints.
  5. Install the inflatable restraint side impact sensing module (SISM). Refer to Inflatable Restraint Side Impact Sensing and Diagnostic Module Replacement - Left Side or Inflatable Restraint Side Impact Sensing and Diagnostic Module Replacement - Right Side in Restraints.
  6. Install the speaker, if equipped. Refer to Radio Front Side Door Speaker Replacement in Entertainment.
  7. Enable the SIR system. Refer to Enabling the SIR System in Restraints.
  8. Install the door trim panel. Refer to Front Side Door Trim Panel Replacement or Rear Side Door Trim Panel Replacement .

Door Water Deflector Replacement Eldorado

Removal Procedure

Caution: This vehicle is equipped with a Supplemental Inflatable Restraint (SIR) System. Failure to follow the correct procedure could cause the following conditions:

   • Air bag deployment
   • Personal injury
   • Unnecessary SIR system repairs
In order to avoid the above conditions, observe the following guidelines:
   • Refer to SIR Component Views in order to determine if you are performing service on or near the SIR components or the SIR wiring.
   • If you are performing service on or near the SIR components or the SIR wiring, disable the SIR system. Refer to Disabling the SIR System.

Caution: In order to prevent SIR deployment, personal injury, or unnecessary SIR system repairs, do not strike the door or the door pillar in the area of the side impact sensor (SIS). Turn OFF the ignition and remove the key when performing service in the area of the SIS.

  1. Disable the SIR system. Refer to Disabling the SIR System .
  2. Remove the door trim panel. Refer to Door Trim Panel Replacement .
  3. Disconnect the electrical connector.

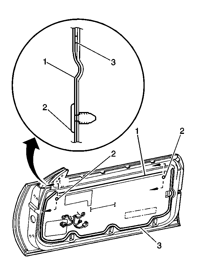
  4. Object Number: 319587  Size: MH
  5. Remove the speaker, if equipped. Refer to Radio Front Side Door Speaker Replacement in Entertainment.
  6. Perform the following steps in order to remove the water deflector (1):
  7. 5.1. Remove the fasteners (2).
    5.2. Peel the deflector (1) from the door inner panel.

Installation Procedure


    Object Number: 319587  Size: MH
  1. Attach the water deflector (1) to the door panel.
  2. Carefully pull the electrical connectors through the slits in the water deflector.
  3. Install the fasteners (2) to the upper corners of the water deflector (1). The fasteners serve as a guide in order to position the water deflector (1) on the door panel (3).
  4. Use a waterproof tape in order to secure any loose areas of the water deflector (1).
  5. Install the speaker, if equipped. Refer to Radio Front Side Door Speaker Replacement in Entertainment.
  6. Enable the SIR system. Refer to Enabling the SIR System .
  7. Install the door trim panel. Refer to Door Trim Panel Replacement .