GM Service Manual Online
For 1990-2009 cars only

Removal Procedure

Caution: This vehicle is equipped with a Supplemental Inflatable Restraint (SIR) System. Failure to follow the correct procedure could cause the following conditions:

   • Air bag deployment
   • Personal injury
   • Unnecessary SIR system repairs
In order to avoid the above conditions, observe the following guidelines:
   • Refer to SIR Component Views in order to determine if you are performing service on or near the SIR components or the SIR wiring.
   • If you are performing service on or near the SIR components or the SIR wiring, disable the SIR system. Refer to Disabling the SIR System.

Caution: In order to prevent SIR deployment, personal injury, or unnecessary SIR system repairs, do not strike the door or the door pillar in the area of the side impact sensor (SIS). Turn OFF the ignition and remove the key when performing service in the area of the SIS.

  1. Disable the SIR system. Refer to Disabling the SIR System .
  2. Remove the lock assembly. Refer to Door Lock Replacement .

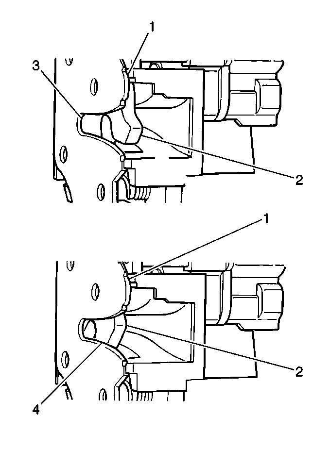
  3. Object Number: 319913  Size: MH
  4. Remove the 2 TORX® fasteners retaining the actuator (1) to the lock assembly.
  5. Remove the actuator (1).

Installation Procedure


    Object Number: 319913  Size: MH

    Important: Before installing the new actuator, the latch (4) must be in the full open position. The teeth on the lock actuator (10) must be pushed fully toward the actuator arm in order to prevent damage to the lock assembly after the assembly is operated.

  1. Position the plastic teeth (10) of the lock switch (11). Push the teeth fully toward the actuator arm (9) in order to mesh the lock switch teeth (10) with the teeth on the lock assembly when installed.
  2. Position the new actuator onto the lock assembly.
  3. Verify that the actuating arm rubber bumper (8) is on the actuating arm (9).
  4. Install the following components into the locking lever:
  5. • The actuating arm (9)
    • The bumper (8)
  6. Align the lock switch teeth to the gear tooth fork bolt (2).
  7. Align the fastener holes.
  8. Notice: Use the correct fastener in the correct location. Replacement fasteners must be the correct part number for that application. Fasteners requiring replacement or fasteners requiring the use of thread locking compound or sealant are identified in the service procedure. Do not use paints, lubricants, or corrosion inhibitors on fasteners or fastener joint surfaces unless specified. These coatings affect fastener torque and joint clamping force and may damage the fastener. Use the correct tightening sequence and specifications when installing fasteners in order to avoid damage to parts and systems.

  9. Install the 2 TORX® fasteners.
  10. Tighten
    Tighten the fasteners to 8 N·m (71 lb in).


    Object Number: 319916  Size: MH
  11. Manually operate the lock assembly (1). Push inward on the fork bolt (2) until the fork bolt clicks from a partially closed position (3) into a fully closed position (4).
  12. Ensure that the lock fully closes without any interference.

  13. Connect the electrical connections.
  14. Test the operation of the following components:
  15. • The actuator
    • The lock switch
  16. Install the lock assembly (1).
  17. Ensure that the lock carrier meets the following conditions:
  18. • Proper mounting
    • Proper retention
    • Enable the SIR system. Refer to Enabling the SIR System