GM Service Manual Online
For 1990-2009 cars only
Makes
🢒
Cadillac
🢒
1998
🢒
Eldorado
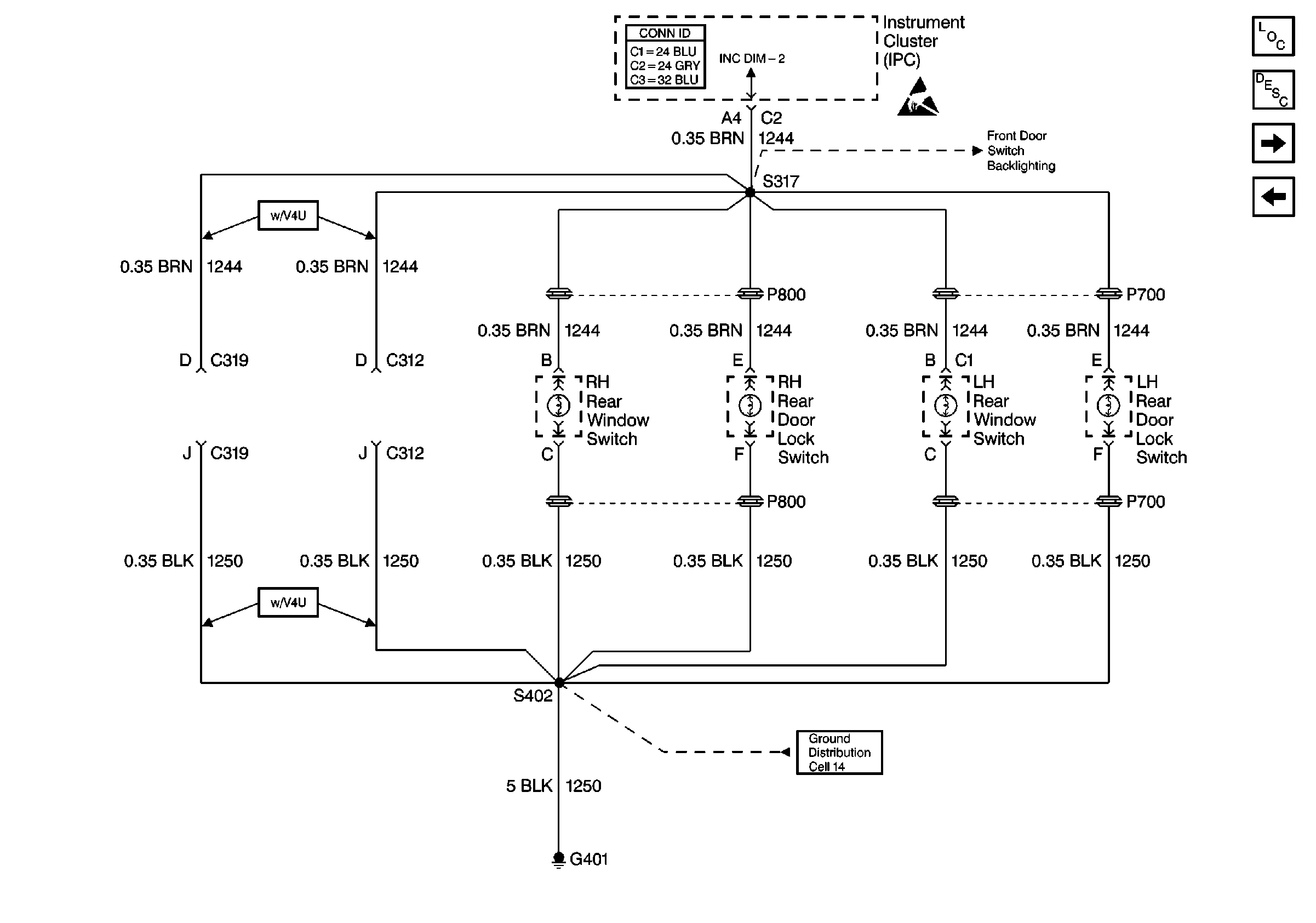
🢒 Cell 117: Rear Door Backlighting (Deville)
Cell 117: Rear Door Backlighting (Deville)
Cell 117: Rear Door Backlighting (Deville)
Lighting Systems Components
Interior Lights Dimming Circuit Description
Cell 117: Instrument Panel Backlighting
Cell 117: Front Door Backlighting (Deville)
Cell 117: Front Door Backlighting (Deville)
Ground Distribution Schematics
Handling ESD Sensitive Parts Notice
Instrument Panel, Gages, and Console Connector End Views