GM Service Manual Online
For 1990-2009 cars only
Makes
🢒
Cadillac
🢒
1999
🢒
Eldorado
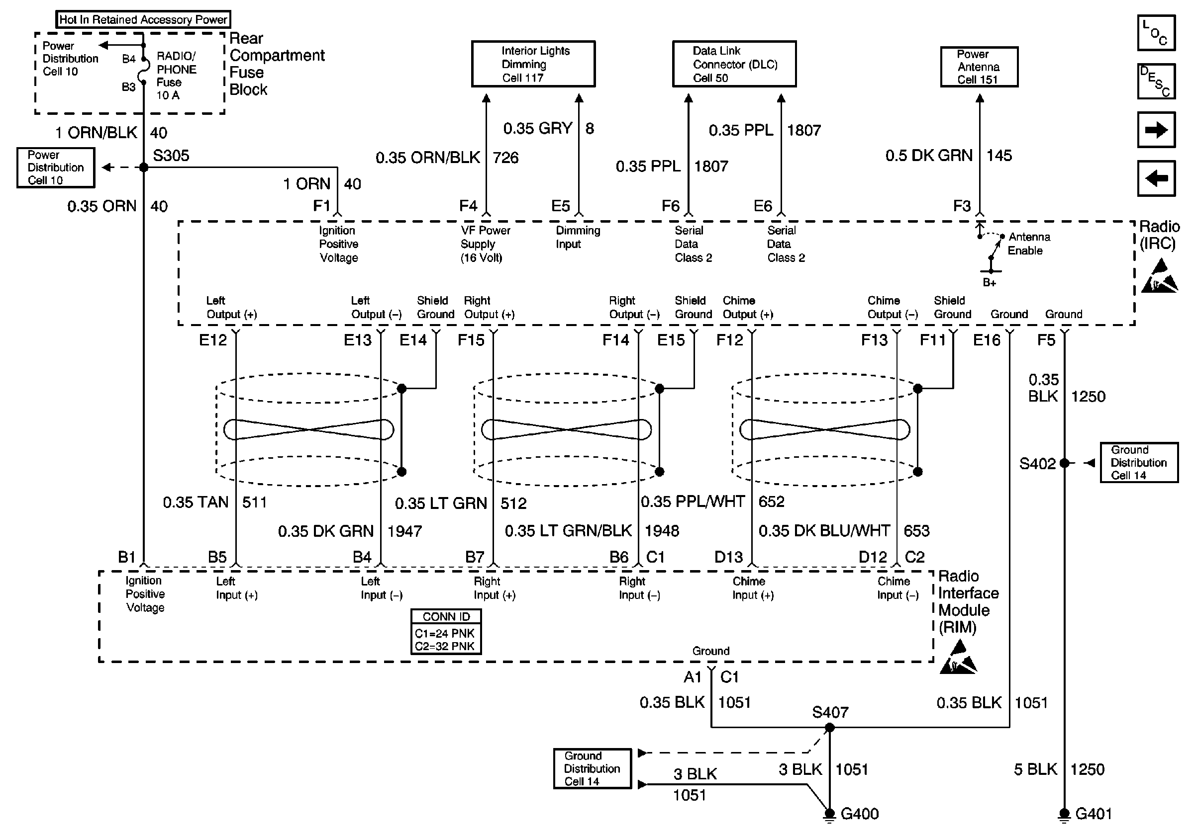
🢒 Cell 150: Radio and Radio Interface Module (RIM) (w/UQ4)
Cell 150: Radio and Radio Interface Module (RIM) (w/UQ4)
Cell 150: Radio and Radio Interface Module (RIM) (w/UQ4)
Entertainment Components
Power Antenna System Circuit Description
Cell 150: Compact Disc (CD) Player (w/UQ4 and U1S)
Cell 150: Radio Amplifier and Speakers (w/UQ6)
Handling ESD Sensitive Parts Notice
Handling ESD Sensitive Parts Notice
Cell 10: BODY 3 Fuse
Cell 10: RADIO/PHONE Fuse
Cell 14: G401 (DeVille 1 of 2)
Cell 14: G400 (1 of 2)
Cell 117: Instrument Panel Backlighting
Cell 50: Class 2
Cell 151