GM Service Manual Online
For 1990-2009 cars only

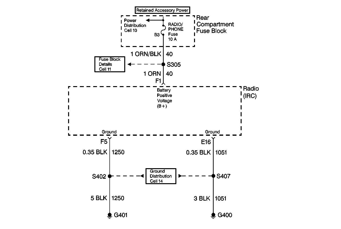
Object Number: 320932  Size: MF
Cell 14: G401 (DeVille 1 of 2)
Cell 14: G400 (1 of 2)
Cell 10: RADIO/PHONE Fuse
Cell 10: BODY 3 Fuse
Entertainment Components
Cell 150: Radio (w/UW6)
Handling ESD Sensitive Parts Notice

Circuit Description

The battery voltage is supplied to the radio (IRC) at terminal F1. The radio (IRC) uses this power feed in order to perform all of the radio's functions. The radio (IRC) measures the battery voltage at terminal F1 every 300 ms.

Conditions for Setting the DTC

The battery voltage measured at terminal F1 is more than 15.5 V for 4 consecrative monitoring cycles.

Action Taken When the DTC Sets

When DTC B1982 is current, class 2 loss of serial data communication DTCs will not set.

Conditions for Clearing the MIL/DTC

The battery voltage is less than 15.5 V in the next monitoring cycle.

Diagnostic Aids

DTC B1982 may set if the vehicle is connected to a battery charger set on FAST or BOOST charge.

Step

Action

Value(s)

Yes

No

1

Did you perform the Radio/Audio System Diagnostic System Check?

--

Go to Step 2

Go to Diagnostic System Check - Radio/Audio System

2

  1. Turn the ignition switch to RUN with the engine running.
  2. Use a scan tool in order to monitor the radio battery voltage display.

Does the scan tool indicate that the voltage is above 15.5 V?

--

Go to Charging System Check in Engine Electrical

Go to Step 3

3

Replace the radio. Refer to one of the flowing:

    •  Radio Replacement
    •  Radio Replacement

Is the repair complete?

--

Go to Diagnostic System Check - Radio/Audio System

--