GM Service Manual Online
For 1990-2009 cars only

Removal Procedure

  1. Open the door.

  2. Object Number: 161034  Size: SH
  3. Remove the lower fastener to the shoulder belt guide loop.
  4. Carefully guide the shoulder belt out through the guide loop.
  5. Operate the seat to the mid-way position.

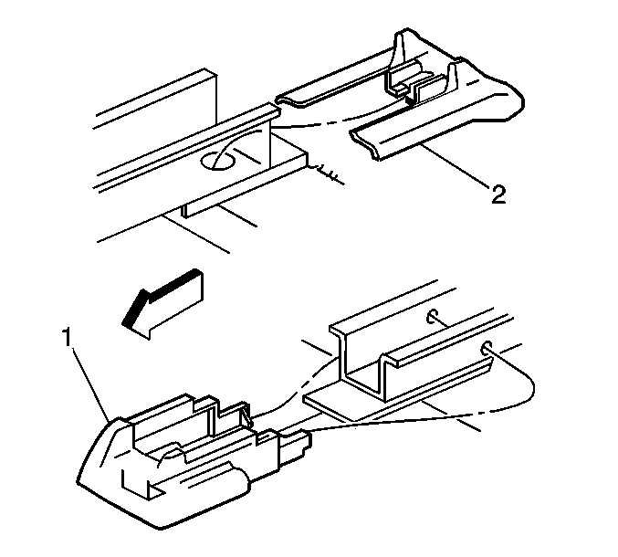
  6. Object Number: 604131  Size: SH

    Important: The front seat adjuster track finish cover clips break easily.

  7. Remove the front adjuster finish covers (1) from the seat tracks.

  8. Object Number: 315281  Size: MH
  9. Remove the adjuster-to-floor pan rear anchor bolts (1).
  10. Tilt the seat forward.
  11. Disconnect the electrical connectors.

  12. Remove the rear adjuster covers (2).
  13. Pull the seat rearward.
  14. Disengage the front retaining hooks (2).
  15. With the aid from an assistant, remove the front seat.

Installation Procedure


    Object Number: 315281  Size: MH
  1. With the aid from an assistant, install the seat to the vehicle.
  2. Engage the front hooks (2) into the floorpan.

  3. Tilt the seat rearward.
  4. Connect the electrical connectors.
  5. Install the rear adjuster finish covers (2).

  6. Object Number: 604131  Size: SH
  7. Lower the seat to the floor.
  8. Notice: Use the correct fastener in the correct location. Replacement fasteners must be the correct part number for that application. Fasteners requiring replacement or fasteners requiring the use of thread locking compound or sealant are identified in the service procedure. Do not use paints, lubricants, or corrosion inhibitors on fasteners or fastener joint surfaces unless specified. These coatings affect fastener torque and joint clamping force and may damage the fastener. Use the correct tightening sequence and specifications when installing fasteners in order to avoid damage to parts and systems.

  9. Install the rear anchor bolts to the seat track assembly.
  10. Tighten
    Tighten the seat anchor bolts to 30 N·m (22 lb ft).

  11. Install the front adjuster track finish covers (1).
  12. Reposition the seat.

  13. Object Number: 161034  Size: SH
  14. Carefully guide the shoulder belt through the shoulder belt guide loop.
  15. Install the shoulder belt guide loop fastener.
  16. Tighten
    Tighten the shoulder belt guide loop fastener to 2 N·m (18 lb in).

  17. Inspect the operation of the seat.
  18. Close the door.