GM Service Manual Online
For 1990-2009 cars only

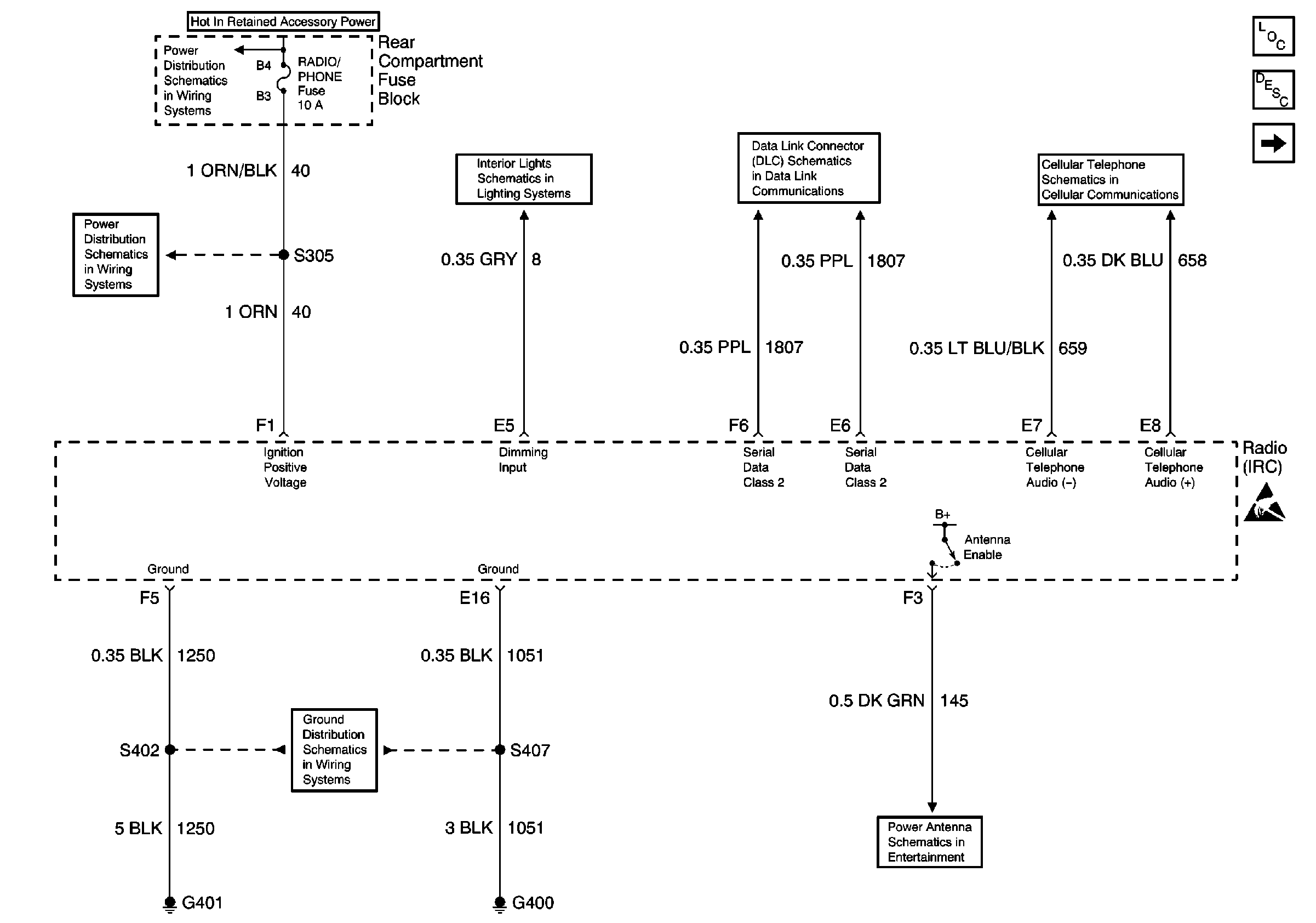
Radio (w/UW6)


Object Number: 586048  Size: FS
RADIO/PHONE Fuse
RADIO/PHONE Fuse
Instrument Panel Backlighting
Class 2 (2 of 2)
Cellular Telephone Module (w/UV8)
Entertainment Components
Radio/Audio System Description
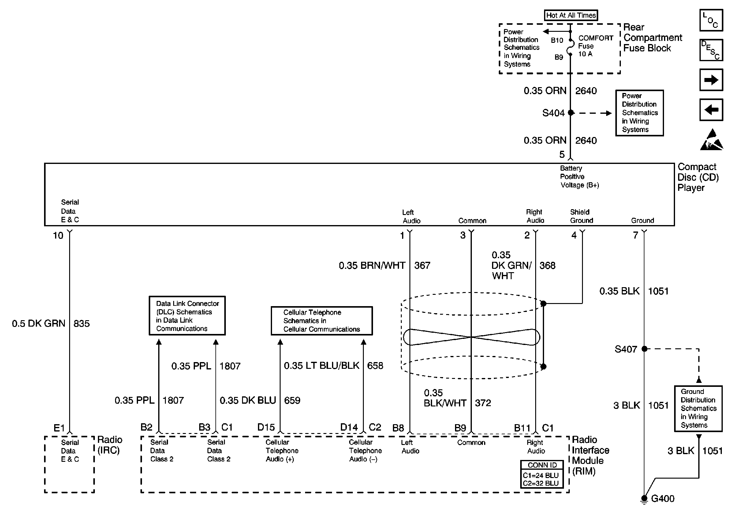
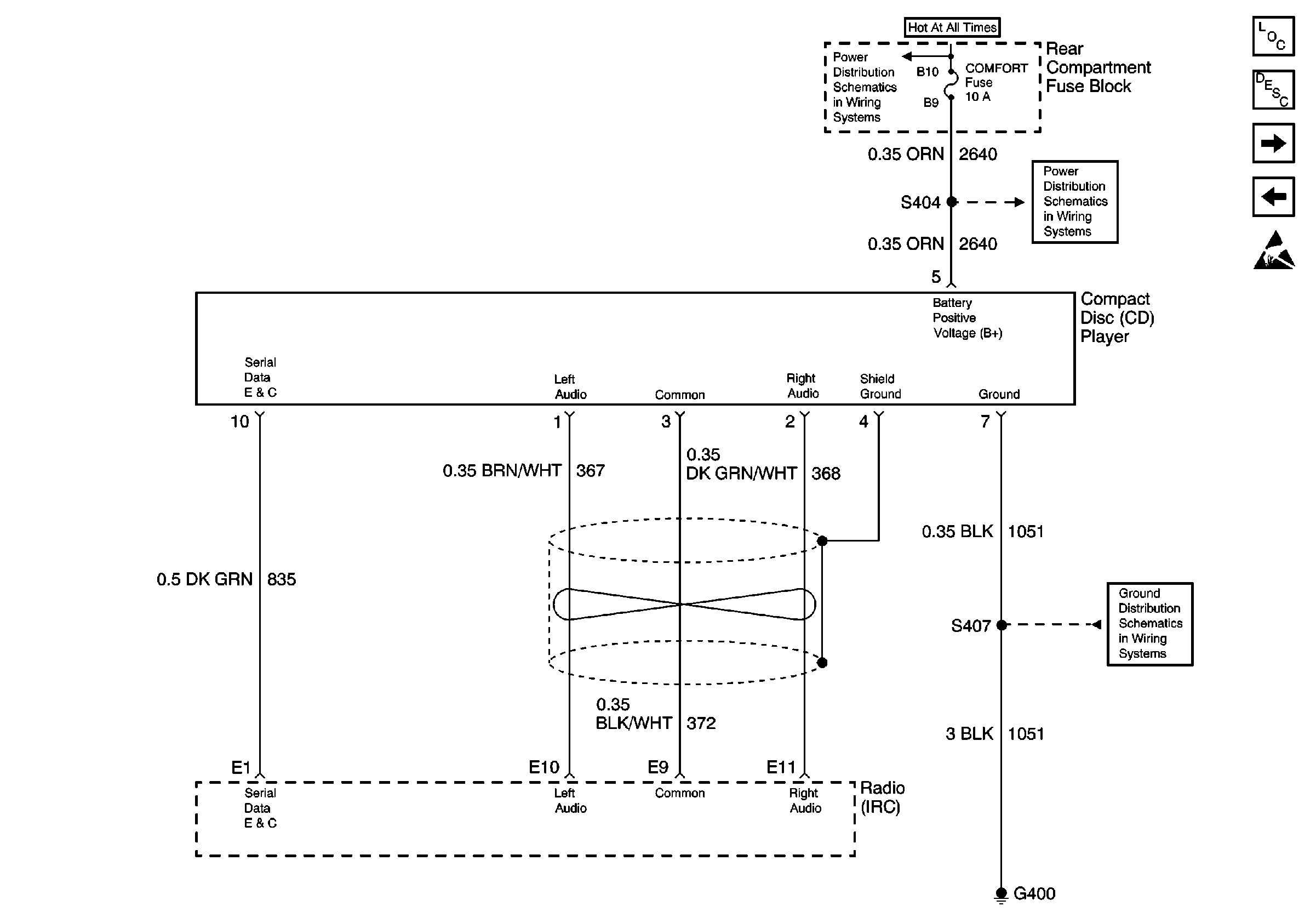
Compact Disc (CD) Player (w/UW6 and U1S)
Handling ESD Sensitive Parts Notice
Ground Distribution Schematics
Power Antenna Relay

Compact Disc (CD) Player (w/UW6 and U1S)


Object Number: 586114  Size: FS
COMFORT Fuse
COMFORT Fuse
G400
Entertainment Components
Radio/Audio System Description
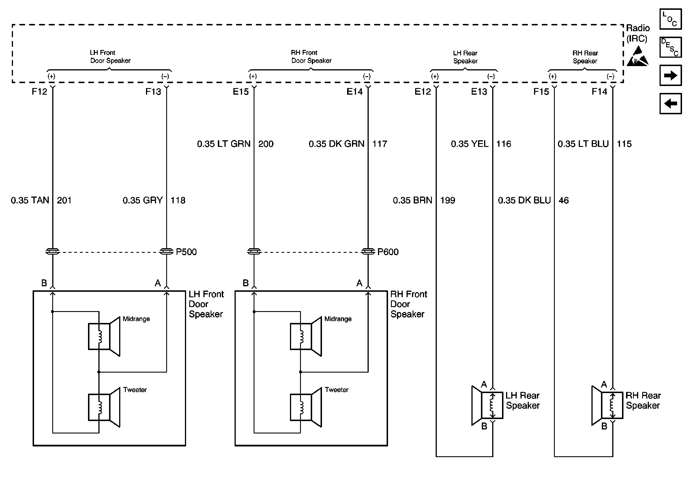
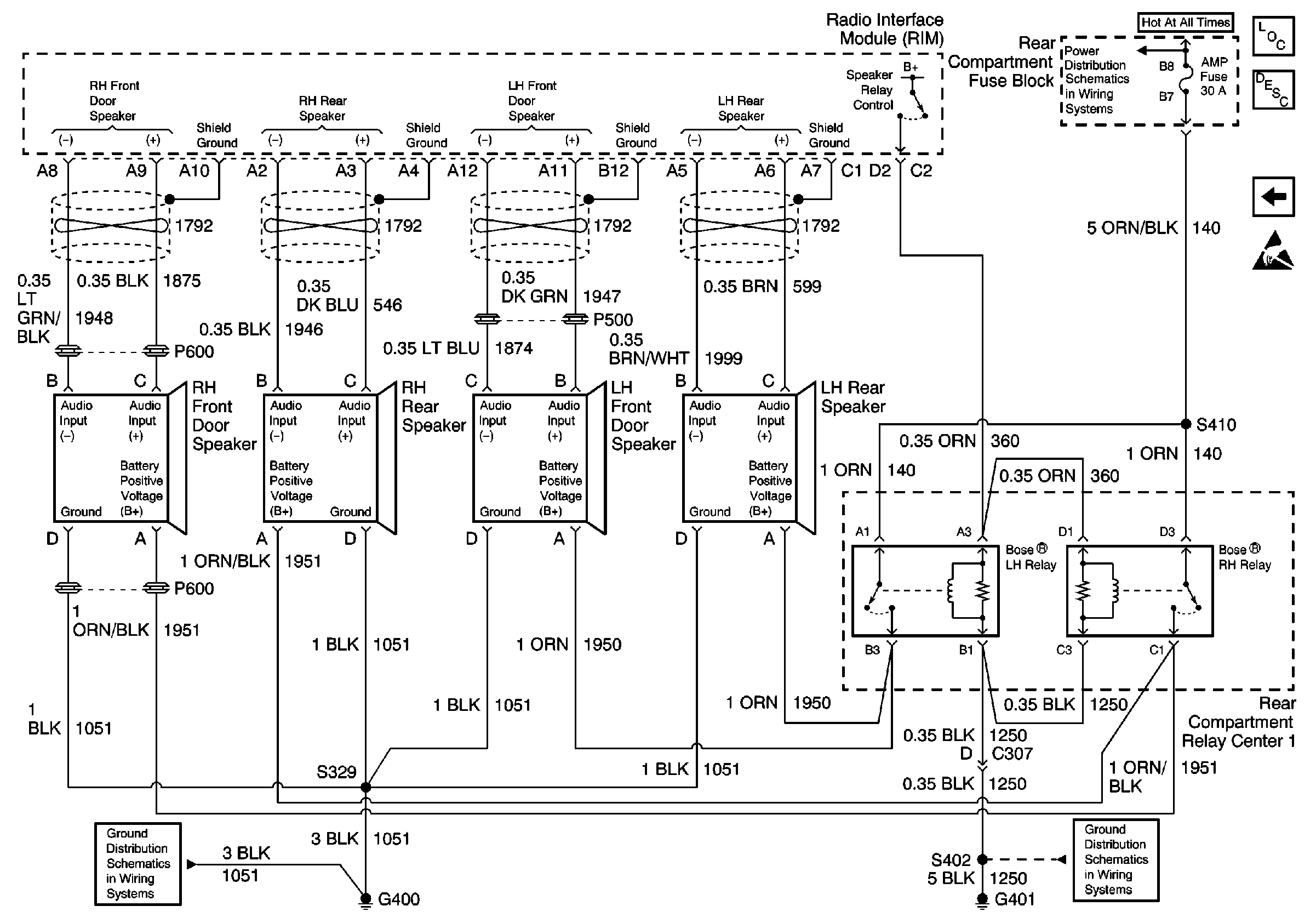
Speakers (w/UW6)
Radio (w/UW6)
Handling ESD Sensitive Parts Notice

Speakers (w/UW6)


Object Number: 586160  Size: FS
Handling ESD Sensitive Parts Notice
Entertainment Components
Radio/Audio System Description
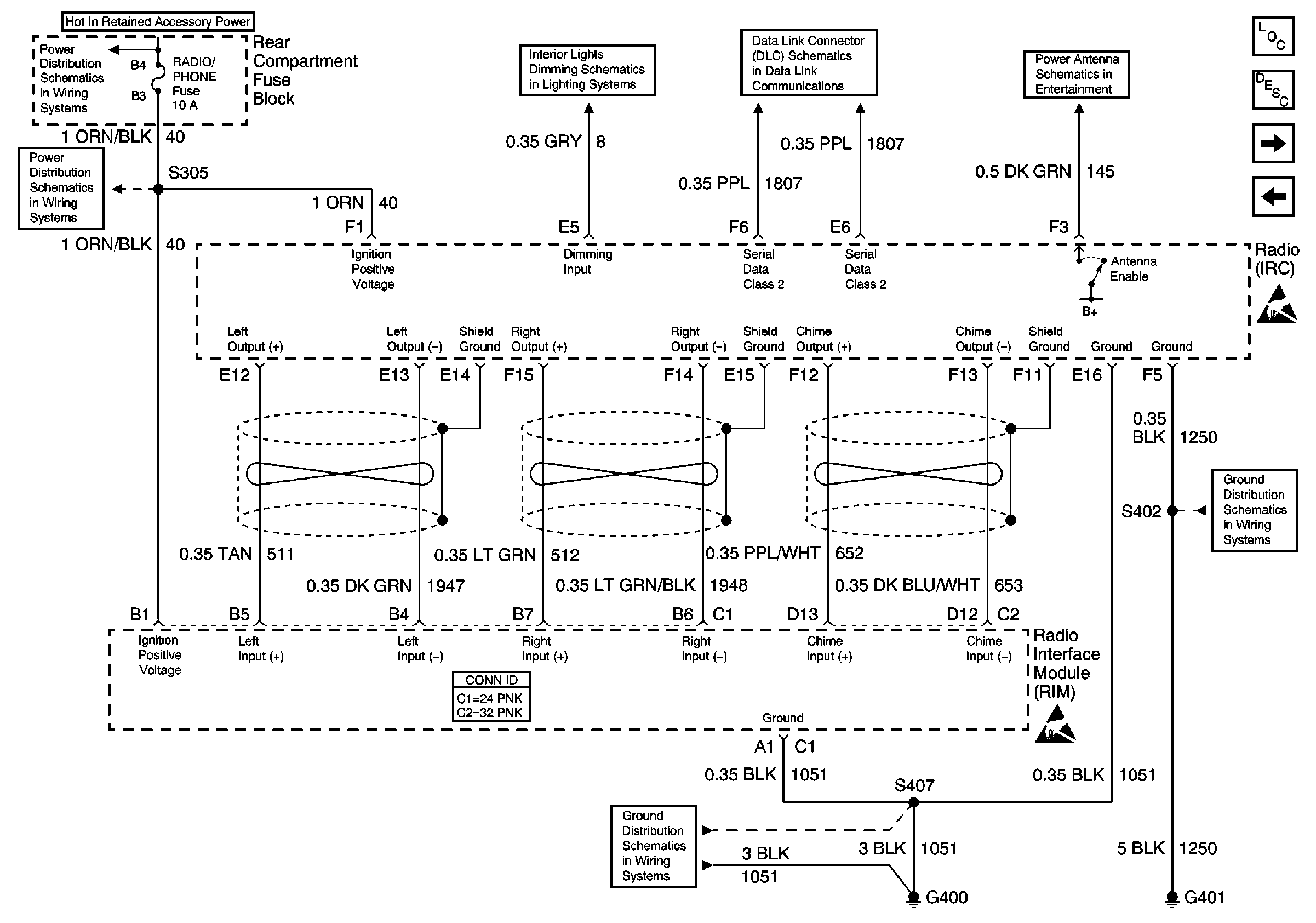
Radio and Radio Interface Module (RIM) (w/UQ4)
Compact Disc (CD) Player (w/UW6 and U1S)

Radio and Radio Interface Module (RIM) (w/UQ4)


Object Number: 586163  Size: FS
RADIO/PHONE Fuse
RADIO/PHONE Fuse
Instrument Panel Backlighting
Class 2 (2 of 2)
Power Antenna Relay
Entertainment Components
Radio/Audio System Description
Compact Disc (CD) Player (w/UQ4 and U1S)
Speakers (w/UW6)
Handling ESD Sensitive Parts Notice
G401 (1 of 2)
Entertainment Connector End Views
G400
Handling ESD Sensitive Parts Notice

Compact Disc (CD) Player (w/UQ4 and U1S)


Object Number: 586165  Size: FS
Power, Ground, and Class 2 (1 of 2)
Cellular Telephone Module (w/UV8)
Entertainment Connector End Views
G400
COMFORT Fuse
COMFORT Fuse
Entertainment Components
Radio/Audio System Description
Radio Interface Module and Speakers (w/UQ4)
Radio and Radio Interface Module (RIM) (w/UQ4)
Handling ESD Sensitive Parts Notice

Radio Interface Module and Speakers (w/UQ4)


Object Number: 586168  Size: FS
RSS, PZM, and AMP Fuses
Entertainment Components
Radio/Audio System Description
Compact Disc (CD) Player (w/UQ4 and U1S)
Handling ESD Sensitive Parts Notice
G401 (1 of 2)
G400