GM Service Manual Online
For 1990-2009 cars only

    Object Number: 215549  Size: SH
  1. Remove the key from the ignition switch.
  2. Connect the inflatable restraint IP module yellow connector (2) to the vehicle harness connector (1).

  3. Object Number: 142202  Size: SH
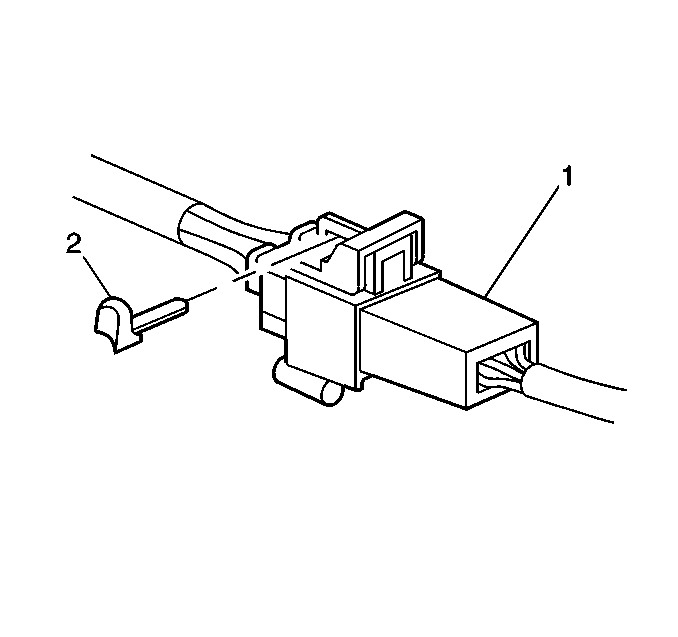
  4. Install the Connector Position Assurance (CPA) (2) to the inflatable restraint IP module yellow connector (1).

  5. Object Number: 235653  Size: SH
  6. Attach the IP module yellow connector (1) to the IP sheetmetal (2).
  7. Verify that pigtail and harness wiring is routed away from the HVAC mix door actuator.
  8. Install the IP compartment. Refer to Instrument Panel Insulator Panel Replacement - Right Side in Instrument Panel, Gages, and Console.

  9. Object Number: 235620  Size: SH
  10. Connect the driver frontal air bag yellow connector (1) to the vehicle wiring harness connector (4) located near the base of the steering column (2).

  11. Object Number: 235626  Size: SH
  12. Install the Connector Position Assurance (CPA) (4) to the inflatable restraint steering wheel yellow connector (1).
  13. Install the left side sound insulator. Refer to Instrument Panel Insulator Panel Replacement - Left Side Instrument Panel, Gages, and Console.

  14. Object Number: 595139  Size: SH
  15. Install the SIR fuse to the rear fuse block.
  16. Staying well away from both air bags, turn ON the ignition switch.
  17. • The AIR BAG warning lamp will flash 7 times.
    • The AIR BAG warning lamp will then turn OFF.
  18. Perform the Diagnostic System Check - SIR if the AIR BAG warning lamp does not operate as described.